TOP
|
特許
|
意匠
|
商標
特許ウォッチ
Twitter
他の特許を見る
公開番号
2025162440
公報種別
公開特許公報(A)
公開日
2025-10-27
出願番号
2024065739
出願日
2024-04-15
発明の名称
ラミネートフィルムの溶着方法
出願人
トヨタ自動車株式会社
代理人
個人
,
個人
,
個人
,
個人
,
個人
,
個人
主分類
H01M
50/169 20210101AFI20251020BHJP(基本的電気素子)
要約
【課題】本開示は、レーザー照射時にラミネートフィルムの溶着部分を均等に加圧することができるラミネートフィルムの溶着方法を提供することを目的とする。
【解決手段】下記の工程を含む、ラミネートフィルム10を互いに溶着する方法:
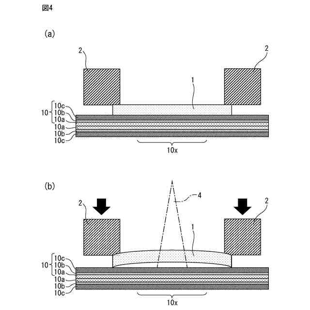
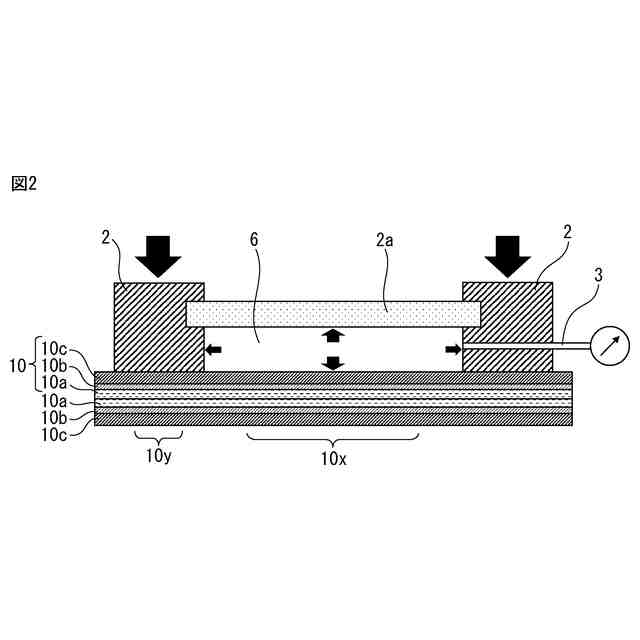
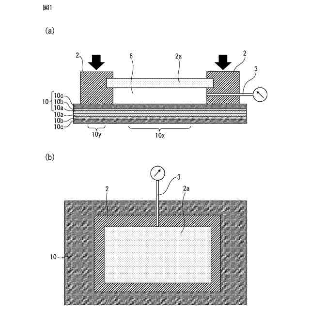
互いに積層されているラミネートフィルム10の溶着部分10xの周縁部10yを、レーザー透過性部2aを有する押さえ部材2で押さえつけ、それによって、レーザー透過性部2a、押さえ部材2、及び、ラミネートフィルム10からなる、溶着部分10xを覆う密封空間6を形成すること、
密封空間6に気体を注入して、溶着部分10xを加圧すること、及び
レーザー透過性部2aを通して、加圧された溶着部分10xにレーザー光4を照射すること。
【選択図】図3
特許請求の範囲
【請求項1】
下記の工程を含む、ラミネートフィルムを互いに溶着する方法:
互いに積層されている前記ラミネートフィルムの溶着部分の周辺を、レーザー透過性部を有する押さえ部材で押さえつけ、それによって前記溶着部分を覆う密封空間を形成すること、
前記密封空間に気体を注入して、前記溶着部分を加圧すること、及び
前記レーザー透過性部を通して、加圧された前記溶着部分にレーザー光を照射すること。
続きを表示(約 130 文字)
【請求項2】
下記の工程を含む、ラミネート電池の製造方法:
前記ラミネートフィルムで電池積層体を挟み込むこと、及び
請求項1に記載の方法によって、前記ラミネートフィルムを互いに溶着して、前記ラミネートフィルムで前記電池積層体を封止すること。
発明の詳細な説明
【技術分野】
【0001】
本開示は、ラミネートフィルムの溶着方法、及びこの溶着方法を用いるラミネート電池の製造方法に関する。
続きを表示(約 1,400 文字)
【背景技術】
【0002】
ラミネート電池は、例えば、正極集電体層、正極活物質層、電解質層、負極活物質層、及び負極集電体層を有する電池積層体を、ラミネートフィルムで覆って封止された電池である。
【0003】
電池積層体をラミネートフィルムで覆って封止する方法として、例えば、特許文献1には、発電要素を挟み込んだ2枚のラミネート外装体の周縁部を重ね合わせ、その周縁部を加圧して挟み込んでおいた状態で加熱溶着してシールするラミネート型二次電池の製造方法において、前記周縁部の少なくとも一方の面はレーザー透過性部材で挟み込み、そのレーザー透過性部材を通してレーザー光を照射することにより前記周縁部を溶融する加熱工程と、前記加熱工程後もレーザー透過性部材による前記周縁部の挟み込みを継続することにより、その周縁部を冷却する冷却工程と、を備えることを特徴とするラミネート型二次電池の製造方法が開示されている。特許文献1の製造方法によれば、冷却時間の短縮、すなわち製造時間の短縮を図ることができるとされている。
【先行技術文献】
【特許文献】
【0004】
特開2006―004687
【発明の概要】
【発明が解決しようとする課題】
【0005】
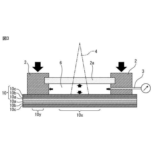
例えば、上記のようなラミネートフィルムの溶着方法において、ラミネートフィルムの溶着部分の周辺の少なくとも一方の面をレーザー透過性部材で押さえつける場合には、レーザーの進路を遮断しないようにしつつ、レーザー透過性部材を押さえ部材で更に押さえつける必要がある。
【0006】
例えば、レーザー透過性部材をラミネートフィルムの溶着部分に設置し、レーザー透過性部材の周縁部を押さえ部材で押さえることが考えられる。
【0007】
この場合には、レーザー透過性部材がラミネートフィルムの面と反対側の方向に向かって凸状に湾曲し、ラミネートフィルムの溶着部分を均等に加圧できないおそれがあるので、ラミネートフィルムの密着性を確保するのが難しい。したがって改善が求められる。
【0008】
そこで本開示は、レーザー照射時にラミネートフィルムの溶着部分を均等に加圧することができるラミネートフィルムの溶着方法を提供することを目的とする。
【課題を解決するための手段】
【0009】
本開示は、以下の手順によって上記目的を達成するものである。
【0010】
(態様1)
下記の工程を含む、ラミネートフィルムを互いに溶着する方法:
互いに積層されている上記ラミネートフィルムの溶着部分の周辺を、レーザー透過性部を有する押さえ部材で押さえつけ、それによって上記溶着部分を覆う密封空間を形成すること、
上記密封空間に気体を注入して、上記溶着部分を加圧すること、及び
上記レーザー透過性部を通して、加圧された上記溶着部分にレーザー光を照射すること。
(態様2)
下記の工程を含む、ラミネート電池の製造方法:
上記ラミネートフィルムで電池積層体を挟み込むこと、及び
態様1に記載の方法によって、上記ラミネートフィルムを互いに溶着して、上記ラミネートフィルムで上記電池積層体を封止すること。
【発明の効果】
(【0011】以降は省略されています)
この特許をJ-PlatPat(特許庁公式サイト)で参照する
関連特許
トヨタ自動車株式会社
電池
12日前
トヨタ自動車株式会社
電池
5日前
トヨタ自動車株式会社
方法
15日前
トヨタ自動車株式会社
車両
6日前
トヨタ自動車株式会社
方法
15日前
トヨタ自動車株式会社
車両
19日前
トヨタ自動車株式会社
車両
12日前
トヨタ自動車株式会社
車体
8日前
トヨタ自動車株式会社
電池
21日前
トヨタ自動車株式会社
車両
1日前
トヨタ自動車株式会社
電池
22日前
トヨタ自動車株式会社
治具
今日
トヨタ自動車株式会社
方法
6日前
トヨタ自動車株式会社
方法
6日前
トヨタ自動車株式会社
車両
7日前
トヨタ自動車株式会社
方法
7日前
トヨタ自動車株式会社
方法
5日前
トヨタ自動車株式会社
車両
5日前
トヨタ自動車株式会社
車両
14日前
トヨタ自動車株式会社
車両
20日前
トヨタ自動車株式会社
椅子
15日前
トヨタ自動車株式会社
モータ
13日前
トヨタ自動車株式会社
固定子
20日前
トヨタ自動車株式会社
モータ
2日前
トヨタ自動車株式会社
サーバ
2日前
トヨタ自動車株式会社
ケース
21日前
トヨタ自動車株式会社
モータ
7日前
トヨタ自動車株式会社
電動車
26日前
トヨタ自動車株式会社
電動機
5日前
トヨタ自動車株式会社
自動車
6日前
トヨタ自動車株式会社
電動車
26日前
トヨタ自動車株式会社
電磁弁
15日前
トヨタ自動車株式会社
正極層
5日前
トヨタ自動車株式会社
加熱器
19日前
トヨタ自動車株式会社
飛行体
12日前
トヨタ自動車株式会社
電動車
22日前
続きを見る
他の特許を見る