TOP
|
特許
|
意匠
|
商標
特許ウォッチ
Twitter
他の特許を見る
公開番号
2025162394
公報種別
公開特許公報(A)
公開日
2025-10-27
出願番号
2024065666
出願日
2024-04-15
発明の名称
種基板およびIII族窒化物半導体の製造方法
出願人
豊田合成株式会社
代理人
弁理士法人あいち国際特許事務所
主分類
C30B
29/38 20060101AFI20251020BHJP(結晶成長)
要約
【課題】育成するIII族窒化物半導体の面積を広くすることが可能なIII族窒化物半導体の製造方法を提供する。
【解決手段】III族窒化物半導体の製造方法は、基板1上にIII族窒化物半導体からなる種結晶2を離散的に複数配置した種基板9を準備する基板準備工程と、アルカリ金属とIII族金属とを含む融液に種結晶2を接触させ、融液に窒素を溶解させて、種結晶2上にIII族窒化物半導体を成長させる結晶成長工程と、を有し、複数の種結晶2は、所定の平面パターンである配置領域10の内部に配置されており、配置領域10は、六角形の六角形領域11と、六角形領域11の各辺11aのうち少なくとも隣接する2辺に連続し、六角形領域11の外側に領域を拡大し、その連続する辺に平行な辺を有する平面パターンである拡大領域12と、を有する。
【選択図】図3
特許請求の範囲
【請求項1】
基板上にIII族窒化物半導体からなる種結晶を離散的に複数配置した種基板を準備する基板準備工程と、
アルカリ金属とIII族金属とを含む融液に前記種結晶を接触させ、前記融液に窒素を溶解させて、前記種結晶上にIII族窒化物半導体を成長させる結晶成長工程と、を有し、
複数の前記種結晶は、所定の平面パターンである配置領域の内部に配置されており、
前記配置領域は、
六角形の六角形領域と、
前記六角形領域の各辺のうち少なくとも隣接する2辺に連続し、前記六角形領域の外側に領域を拡大し、その連続する辺に平行な辺を有する平面パターンである拡大領域と、を有するIII族窒化物半導体の製造方法。
続きを表示(約 960 文字)
【請求項2】
前記拡大領域の平面パターンは台形であり、前記台形の下底が前記六角形領域の辺と重なる、請求項1に記載のIII族窒化物半導体の製造方法。
【請求項3】
前記台形の脚は、前記種結晶のm面に一致する、請求項2に記載のIII族窒化物半導体の製造方法。
【請求項4】
前記台形の下底の長さは、前記六角形領域の辺の長さよりも短い、請求項2に記載のIII族窒化物半導体の製造方法。
【請求項5】
前記六角形領域の各辺は、前記種結晶のm面に一致する、請求項1から請求項4までのいずれか1項に記載のIII族窒化物半導体の製造方法。
【請求項6】
前記台形の上底と脚とが成す頂点と、前記六角形領域の頂点は、前記六角形領域の中心を中心とする円周上に位置する、請求項2から請求項4までのいずれか1項に記載のIII族窒化物半導体の製造方法。
【請求項7】
前記台形の上底の中点と、前記台形の脚と下底とが成す頂点は、前記六角形領域の中心を中心とする円周上に位置する、請求項2から請求項4までのいずれか1項に記載のIII族窒化物半導体の製造方法。
【請求項8】
前記配置領域は、前記拡大領域の前記台形の上底に連続し、前記拡大領域の外側に領域を拡大し、前記上底に平行な辺を有する平面パターンである第2の拡大領域を有する、請求項2から請求項4までのいずれか1項に記載のIII族窒化物半導体の製造方法。
【請求項9】
基板と、
前記基板上に離散的に複数配置され、III族窒化物半導体からなる種結晶と、を有し、
複数の前記種結晶は、所定の平面パターンである配置領域の内部に配置されており、
前記配置領域は、
六角形の六角形領域と、
前記六角形領域の各辺のうち少なくとも隣接する2辺に連続し、前記六角形領域の外側に領域を拡大し、その連続する辺に平行な辺を有する平面パターンである拡大領域と、を有する、種基板。
【請求項10】
前記拡大領域の平面パターンは台形であり、前記台形の下底が前記六角形領域の辺と重なる、請求項9に記載の種基板。
(【請求項11】以降は省略されています)
発明の詳細な説明
【技術分野】
【0001】
本発明は、種基板およびIII族窒化物半導体の製造方法に関する。
続きを表示(約 1,500 文字)
【背景技術】
【0002】
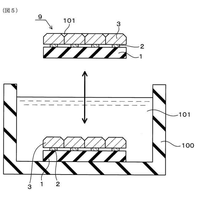
GaNの製造方法として、Naフラックス法が知られている。Naフラックス法は、GaとNaの混合融液に窒素を溶解させて液相でGaNを成長させる方法である。Naフラックス法では、一般に、混合融液中に種基板を配置して種基板上にGaNを成長させている。
【0003】
Naフラックス法において、大面積で転位密度や反りの少ないGaN結晶を成長させる方法として、種基板としてマルチポイントシード(MPS)基板を用いる方法が知られている。MPS基板は、サファイアなどの基板上に微小なドット状の種結晶を周期的に多数配列したものである。
【0004】
特許文献1には、MPS基板における種結晶の配置領域を円や正六角形の内部とすることが記載されている。種結晶の配置領域を円とする場合は、育成したGaNの外周の一部に微小な凹凸が形成され、割れやクラックの要因となることが記載されている。一方、種結晶の配置領域を正六角形とする場合は、育成したGaNの外周を直線的にすることができ、割れやクラックを抑制できることが記載されている。
【先行技術文献】
【特許文献】
【0005】
特開2020-132475号公報
【発明の概要】
【発明が解決しようとする課題】
【0006】
しかし、特許文献1のように種結晶の配置領域を正六角形の内部とする場合、育成したGaNの外周の凹凸を低減できるものの、GaNの面積が小さくなってしまう。
【0007】
本発明は、かかる背景に鑑みてなされたものであり、育成するIII族窒化物半導体の面積を広くすることが可能なIII族窒化物半導体の製造方法、および種基板を提供しようとするものである。
【課題を解決するための手段】
【0008】
本発明の一態様は、
基板上にIII族窒化物半導体からなる種結晶を離散的に複数配置した種基板を準備する基板準備工程と、
アルカリ金属とIII族金属とを含む融液に前記種結晶を接触させ、前記融液に窒素を溶解させて、前記種結晶上にIII族窒化物半導体を成長させる結晶成長工程と、を有し、
複数の前記種結晶は、所定の平面パターンである配置領域の内部に配置されており、
前記配置領域は、
六角形の六角形領域と、
前記六角形領域の各辺のうち少なくとも隣接する2辺に連続し、前記六角形領域の外側に領域を拡大し、前記一辺に平行な辺を有する平面パターンである拡大領域と、を有するIII族窒化物半導体の製造方法にある。
【0009】
本発明の他態様は、
基板と、
前記基板上に離散的に複数配置され、III族窒化物半導体からなる種結晶と、を有し、
複数の前記種結晶は、所定の平面パターンである配置領域の内部に配置されており、
前記配置領域は、
六角形の六角形領域と、
前記六角形領域の各辺のうち少なくとも隣接する2辺に連続し、前記六角形領域の外側に領域を拡大し、その連続する辺に平行な辺を有する平面パターンである拡大領域と、を有する、種基板にある。
【発明の効果】
【0010】
上記態様では、配置領域は、六角形の六角形領域と、六角形領域の各辺のうち少なくとも隣接する2辺に連続し、六角形領域の外側に領域を拡大し、一辺に平行な辺を有する平面パターンである拡大領域を有している。その結果、育成するIII族窒化物半導体の面積を広くすることができる。
(【0011】以降は省略されています)
この特許をJ-PlatPat(特許庁公式サイト)で参照する
関連特許
豊田合成株式会社
積層体
15日前
豊田合成株式会社
調光装置
24日前
豊田合成株式会社
調光装置
1日前
豊田合成株式会社
ガラスラン
1か月前
豊田合成株式会社
ガラスラン
1か月前
豊田合成株式会社
半導体素子
1日前
豊田合成株式会社
ガラスラン
1か月前
豊田合成株式会社
樹脂成形装置
1か月前
豊田合成株式会社
車両用ビーム
10日前
豊田合成株式会社
乗員保護装置
1か月前
豊田合成株式会社
乗員保護装置
1か月前
豊田合成株式会社
車両用外装品
11日前
豊田合成株式会社
車両用外装品
1か月前
豊田合成株式会社
乗員保護装置
11日前
豊田合成株式会社
検知システム
10日前
豊田合成株式会社
車両用ビーム
10日前
豊田合成株式会社
機器制御装置
1か月前
豊田合成株式会社
車両用内装品
1か月前
豊田合成株式会社
車両用内装品
1か月前
豊田合成株式会社
車両用外装品
9日前
豊田合成株式会社
電動液体ポンプ
1か月前
豊田合成株式会社
車両用投影装置
17日前
豊田合成株式会社
エアバッグ装置
1か月前
豊田合成株式会社
車両用発光装置
1日前
豊田合成株式会社
立体エアバッグ
1か月前
豊田合成株式会社
電動液体ポンプ
1か月前
豊田合成株式会社
車両用投影装置
11日前
豊田合成株式会社
車両用発光装置
1日前
豊田合成株式会社
車両用発光装置
1日前
豊田合成株式会社
空調用レジスタ
1か月前
豊田合成株式会社
空調用レジスタ
1か月前
豊田合成株式会社
空調用レジスタ
1か月前
豊田合成株式会社
電動液体ポンプ
1か月前
豊田合成株式会社
電動液体ポンプ
1か月前
豊田合成株式会社
電動液体ポンプ
1か月前
豊田合成株式会社
車両用照明装置
17日前
続きを見る
他の特許を見る