TOP
|
特許
|
意匠
|
商標
特許ウォッチ
Twitter
他の特許を見る
公開番号
2025162256
公報種別
公開特許公報(A)
公開日
2025-10-27
出願番号
2024065428
出願日
2024-04-15
発明の名称
排気通路構造およびダイヤフラムポンプ
出願人
マブチモーターオーケン株式会社
代理人
個人
主分類
F04B
45/04 20060101AFI20251020BHJP(液体用容積形機械;液体または圧縮性流体用ポンプ)
要約
【課題】実用的な排気性能を有しているにもかかわらず、排気通路から笛吹音のような異音が発生することを防ぐことが可能な排気通路構造を提供する。
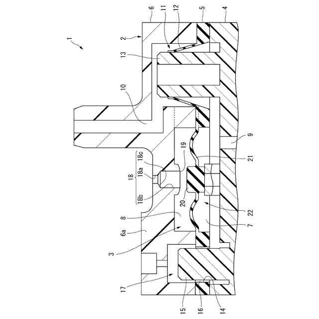
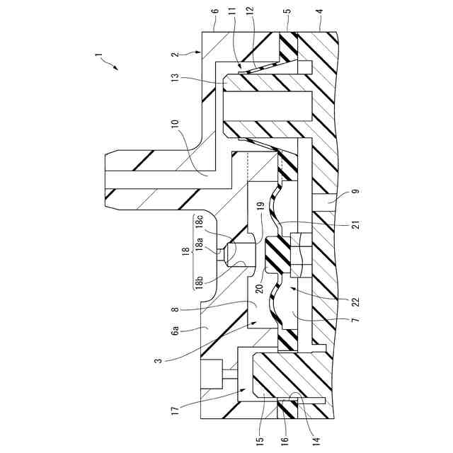
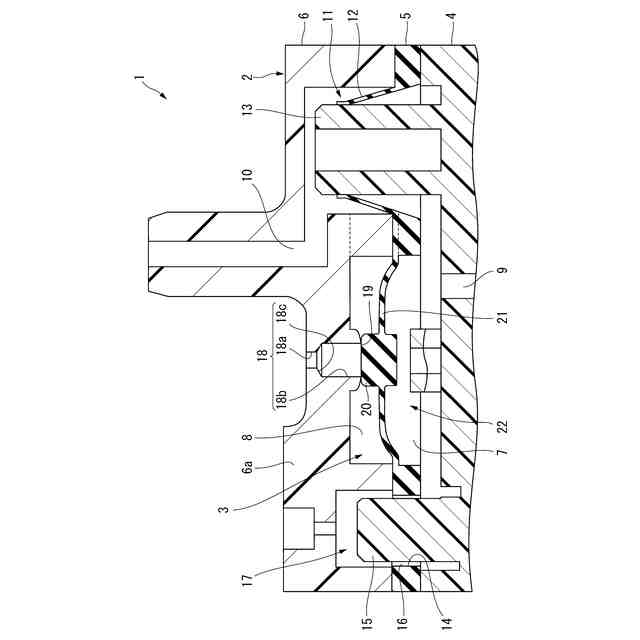
【解決手段】流入通路9および流出通路10が開口する圧力室3と、圧力室3を上流側流体室7と下流側流体室8とに仕切るダイヤフラム5を備える。上流側流体室7から下流側流体室8に流体を流す逆止弁11と、上流側流体室7から流体を排気する微排気通路17と、下流側流体室8から流体を排気する排気通路18とを備える。下流側流体室8の壁には、排気通路18が開口する弁座19が形成され、ダイヤフラム5は、弁座19に着座する弁体20を有する。弁座19とダイヤフラム5は、上流側流体室7と下流側流体室8の差圧で動作する差圧弁22を構成する。排気通路18は、下流部18aと上流部18bとで通路断面積が異なり、上流部18bの通路断面積は、下流部18aの通路断面積より大きい。
【選択図】 図1
特許請求の範囲
【請求項1】
加圧された流体が流入する流入通路および流体が流出する流出通路が開口する圧力室と、
前記圧力室を前記流入通路が開口する上流側流体室と前記流出通路が開口する下流側流体室とに仕切るダイヤフラムと、
前記上流側流体室から前記下流側流体室に流体を流す逆止弁と、
前記流出通路より通路断面積が小さく形成され、前記上流側流体室から流体を前記圧力室の外に排出する微排気通路と、
前記下流側流体室の内外を連通し、前記下流側流体室から流体を前記圧力室の外に排気する排気通路とを備え、
前記下流側流体室の壁には、前記排気通路の前記下流側流体室側の上流端が開口する弁座が形成され、
前記ダイヤフラムは、前記弁座に着座して前記排気通路を閉じる弁体を有し、
前記弁座と前記ダイヤフラムは、前記上流側流体室の圧力が前記下流側流体室の圧力より高い場合に前記排気通路を閉じ、かつ前記上流側流体室の圧力が前記下流側流体室の圧力以下である場合に前記排気通路を開く差圧弁を構成し、
前記排気通路は、前記圧力室の外に開口する下流部と、前記排気通路の前記弁座に開口する上流部とで通路断面積が異なり、
前記上流部の通路断面積は、前記下流部の通路断面積より大きいことを特徴とする排気通路構造。
続きを表示(約 830 文字)
【請求項2】
請求項1に記載した排気通路構造において、
前記排気通路の前記下流部の通路断面積と、前記排気通路の前記上流部の通路断面積は、それぞれ一定であることを特徴とする排気通路構造。
【請求項3】
請求項2に記載した排気通路構造において、
前記排気通路の前記下流部と前記上流部との境界部分は、前記上流部から前記下流部に向かうにしたがって次第に通路断面積が小さくなるテーパー状に形成されていることを特徴とする排気通路構造。
【請求項4】
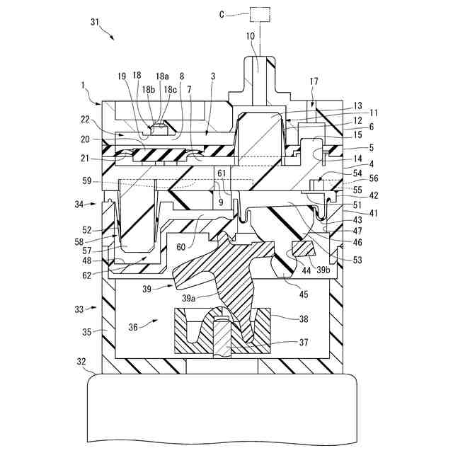
請求項1~請求項3の何れか一つに記載した排気通路構造を備えたダイヤフラムポンプであって、
カップ状のポンプ部を有するポンプダイヤフラムと、
前記ポンプ部が壁の一部となるように形成されたポンプ室と、
前記ポンプ部の底に接続され、回転を往復運動に変換して前記ポンプ室の容積を増減させる駆動装置と、
前記駆動装置に回転力を加えるモータと、
一端が前記ポンプ室に接続されかつ他端がポンプ外側の流体入口に接続された吸入通路と、
前記ポンプ室の容積が増える行程で流体が前記流体入口から前記ポンプ室に向けて流れるように前記吸入通路を開閉する吸入弁と、
一端が前記ポンプ室に接続されかつ他端が前記流入通路に接続された吐出通路と、
前記ポンプ室の容積が減少する行程で流体が前記ポンプ室から前記流入通路に向けて流れるように前記吐出通路を開閉する吐出弁とを備え、
前記吐出弁を通って前記流入通路に流入した流体の圧力で前記差圧弁が閉じることによって、流体が前記下流側流体室から前記流出通路を通って被加圧物に供給され、
前記駆動装置が停止している状態で前記上流側流体室の圧力が低下して前記差圧弁が開くことによって、前記下流側流体室の流体が前記排気通路を通って排気されることを特徴とするダイヤフラムポンプ。
発明の詳細な説明
【技術分野】
【0001】
本発明は、差圧弁によって開閉される排気通路を有する排気通路構造に関する。
続きを表示(約 2,100 文字)
【背景技術】
【0002】
差圧弁によって開閉される排出通路を備えた従来の排気通路構造としては、例えば特許文献1に記載されたものがある。特許文献1には、電子血圧計のカフに空気を供給するダイヤフラムポンプが開示されている。このダイヤフラムポンプは、停止時にカフとの間の空気通路から空気を排気するために排気弁を備えている。排気弁は、ポンプの吐出圧が低下することによって排気通路を開く構造が採られている。排気通路は、ポンプの外壁を貫通する貫通孔によって形成されている。この排出通路は、上流端から下流端まで通路断面積が一定となるように形成されている。
【先行技術文献】
【特許文献】
【0003】
特開2021-143647号公報
【発明の概要】
【発明が解決しようとする課題】
【0004】
上述した従来の排気通路構造では、排気弁が開いて高圧な空気が排気通路を通って排気されるときに、笛吹音に似た高音の異音が発生することがあるという問題があった。この異音は、排気通路の通路断面積を小さくすることによりある程度は解消することができる。しかし、異音が生じることがないように通路断面積を小さくすると、排出能力が小さくなって実用的ではなくなってしまう。
【0005】
本発明の目的は、実用的な排気性能を有しているにもかかわらず、排気通路から笛吹音のような異音が発生することを防ぐことが可能な排気通路構造およびダイヤフラムポンプを提供することである。
【課題を解決するための手段】
【0006】
この目的を達成するために本発明に係る排気通路構造は、加圧された流体が流入する流入通路および流体が流出する流出通路が開口する圧力室と、前記圧力室を前記流入通路が開口する上流側流体室と前記流出通路が開口する下流側流体室とに仕切るダイヤフラムと、前記上流側流体室から前記下流側流体室に流体を流す逆止弁と、前記流出通路より通路断面積が小さく形成され、前記上流側流体室から流体を前記圧力室の外に排出する微排気通路と、前記下流側流体室の内外を連通し、前記下流側流体室から流体を前記圧力室の外に排気する排気通路とを備え、前記下流側流体室の壁には、前記排気通路の前記下流側流体室側の上流端が開口する弁座が形成され、前記ダイヤフラムは、前記弁座に着座して前記排気通路を閉じる弁体を有し、前記弁座と前記ダイヤフラムは、前記上流側流体室の圧力が前記下流側流体室の圧力より高い場合に前記排気通路を閉じ、かつ前記上流側流体室の圧力が前記下流側流体室の圧力以下である場合に前記排気通路を開く差圧弁を構成し、前記排気通路は、前記圧力室の外に開口する下流部と、前記排気通路の前記弁座に開口する上流部とで通路断面積が異なり、前記上流部の通路断面積は、前記下流部の通路断面積より大きいものである。
【0007】
本発明は、前記排気通路構造において、前記排気通路の前記下流部の通路断面積と、前記排気通路の前記上流部の通路断面積は、それぞれ一定であってもよい。
【0008】
本発明は、前記排気通路構造において、前記排気通路の前記下流部と前記上流部との境界部分は、前記下流部から前記上流部に向かうにしたがって次第に通路断面積が小さくなるテーパー状に形成されていてもよい。
【0009】
本発明に係るダイヤフラムポンプは、前記排気通路構造を備えたダイヤフラムポンプであって、カップ状のポンプ部を有するポンプダイヤフラムと、前記ポンプ部が壁の一部となるように形成されたポンプ室と、前記ポンプ部の底に接続され、回転を往復運動に変換して前記ポンプ室の容積を増減させる駆動装置と、前記駆動装置に回転力を加えるモータと、一端が前記ポンプ室に接続されかつ他端がポンプ外側の流体入口に接続された吸入通路と、前記ポンプ室の容積が増える行程で流体が前記流体入口から前記ポンプ室に向けて流れるように前記吸入通路を開閉する吸入弁と、一端が前記ポンプ室に接続されかつ他端が前記流入通路に接続された吐出通路と、前記ポンプ室の容積が減少する行程で流体が前記ポンプ室から前記流入通路に向けて流れるように前記吐出通路を開閉する吐出弁とを備え、前記吐出弁を通って前記流入通路に流入した流体の圧力で前記差圧弁が閉じることによって、流体が前記下流側流体室から前記流出通路を通って被加圧物に供給され、前記駆動装置が停止している状態で前記上流側流体室の圧力が低下して前記差圧弁が開くことによって、前記下流側流体室の流体が前記排気通路を通って排気されるものである。
【発明の効果】
【0010】
本発明によれば、実用的な排気性能を有しているにもかかわらず、排気通路から笛吹音のような異音が発生することを防ぐことが可能な排気通路構造およびダイヤフラムポンプを提供することができる。
【図面の簡単な説明】
(【0011】以降は省略されています)
この特許をJ-PlatPat(特許庁公式サイト)で参照する
関連特許
個人
海流製造装置。
2か月前
株式会社スギノマシン
圧縮機
1か月前
株式会社ツインバード
送風装置
2か月前
株式会社ツインバード
送風装置
2か月前
カヤバ株式会社
電動ポンプ
20日前
日機装株式会社
遠心ポンプ
1か月前
カヤバ株式会社
電動ポンプ
3か月前
株式会社不二越
蓄圧装置
3か月前
ビッグボーン株式会社
送風装置
3か月前
株式会社ノーリツ
ロータリ圧縮機
2か月前
小倉クラッチ株式会社
ルーツブロア
4か月前
サンデン株式会社
スクロール圧縮機
1か月前
株式会社不二越
ベーンポンプ
4か月前
サンデン株式会社
スクロール圧縮機
1か月前
サンデン株式会社
可変容量型圧縮機
28日前
樫山工業株式会社
真空ポンプ
1か月前
サンデン株式会社
スクロール圧縮機
1か月前
株式会社チロル
送風機、送風機付衣服
3か月前
株式会社島津製作所
真空ポンプ
2か月前
株式会社アイシン
ポンプケース
2か月前
エドワーズ株式会社
真空ポンプ
2か月前
株式会社豊田自動織機
流体機械
2か月前
株式会社クボタ
作業機
21日前
株式会社島津製作所
真空ポンプ
3か月前
株式会社豊田自動織機
電動圧縮機
3か月前
NTN株式会社
電動オイルポンプ
1か月前
株式会社豊田自動織機
電動圧縮機
3か月前
株式会社豊田自動織機
電動圧縮機
3か月前
已久工業股ふん有限公司
空気圧縮機構造
3か月前
株式会社ナノバブル研究所
気液駆動装置
2か月前
株式会社豊田自動織機
電動圧縮機
3か月前
株式会社豊田自動織機
電動圧縮機
3か月前
株式会社豊田自動織機
電動圧縮機
2か月前
株式会社豊田自動織機
電動圧縮機
2か月前
株式会社豊田自動織機
電動圧縮機
2か月前
株式会社豊田自動織機
圧縮機
4か月前
続きを見る
他の特許を見る