TOP
|
特許
|
意匠
|
商標
特許ウォッチ
Twitter
他の特許を見る
10個以上の画像は省略されています。
公開番号
2025161969
公報種別
公開特許公報(A)
公開日
2025-10-24
出願番号
2025141303,2024067176
出願日
2025-08-27,2022-10-21
発明の名称
サーバ、サーバの制御方法及びプログラム
出願人
日本電気株式会社
代理人
個人
主分類
G06F
21/32 20130101AFI20251017BHJP(計算;計数)
要約
【課題】利用者の負担を増加させることなく、方式の異なるサーバの併存を可能とすることに寄与する、システムを提供する。
【解決手段】システムは、共用サーバと、専用サーバと、制御サーバと、を含む。共用サーバは、複数の空港によって認証処理を行うサーバとして共用される。専用サーバは、1つの空港における認証処理を行う。制御サーバは、利用者が利用する空港を判定する。制御サーバは、当該利用者が利用する空港に応じて、搭乗手続きを生体認証により進めるために必要な情報を共用サーバ又は専用サーバのいずれかに送信する。
【選択図】図1
特許請求の範囲
【請求項1】
利用者が搭乗手続きを生体認証により進めるために必要な情報、及び該情報を提供することに対する利用者の同意に関するコンセント情報を含むトークン発行要求を、前記利用者が前記搭乗手続きを生体認証により進める際に利用する端末から受信する、受信部と、
前記受信したトークン発行要求の送信元となる端末に関する情報をデータベースに記憶する、制御部と、
を備える、サーバ。
続きを表示(約 1,700 文字)
【請求項2】
前記トークン発行要求には、空港に設置された第1の端末の端末ID、又は、前記利用者が所持する第2の端末にインストールされたアプリケーションであって航空機の利用に関する手続を行うためのモバイルアプリケーションを識別する仮想端末IDが含まれ、
前記制御部は、前記端末ID又は前記仮想端末IDに基づいて前記トークン発行要求の送信元となる端末を特定する、請求項1に記載のサーバ。
【請求項3】
前記制御部は、前記トークン発行要求に含まれる前記端末ID及び前記仮想端末IDに基づいて、前記第1の端末からの要求に基づくトークン発行率と前記モバイルアプリケーションからの要求に基づくトークン発行率を算出する、請求項2に記載のサーバ。
【請求項4】
前記トークン発行要求には、前記利用者の顔画像と、前記利用者のパスポートに関するパスポート情報と、前記利用者に発行された搭乗券に関する搭乗券情報と、前記コンセント情報が含まれ、
前記コンセント情報には、前記利用者が利用する空港に関する情報が含まれ、
前記制御部は、前記コンセント情報に含まれる空港に関する情報に基づいて、前記トークン発行要求の送信先を決定する、請求項1に記載のサーバ。
【請求項5】
サーバに搭載されたコンピュータが、
利用者が搭乗手続きを生体認証により進めるために必要な情報、及び該情報を提供することに対する利用者の同意に関するコンセント情報を含むトークン発行要求を、前記利用者が前記搭乗手続きを生体認証により進める際に利用する端末から受信し、
前記受信したトークン発行要求の送信元となる端末に関する情報をデータベースに記憶する、サーバの制御方法。
【請求項6】
前記トークン発行要求には、空港に設置された第1の端末の端末ID、又は、前記利用者が所持する第2の端末にインストールされたアプリケーションであって航空機の利用に関する手続を行うためのモバイルアプリケーションを識別する仮想端末IDが含まれ、
前記端末ID又は前記仮想端末IDに基づいて前記トークン発行要求の送信元となる端末を特定する、請求項5に記載のサーバの制御方法。
【請求項7】
前記トークン発行要求に含まれる前記端末ID及び前記仮想端末IDに基づいて、前記第1の端末からの要求に基づくトークン発行率と前記モバイルアプリケーションからの要求に基づくトークン発行率を算出する、請求項6に記載のサーバの制御方法。
【請求項8】
前記トークン発行要求には、前記利用者の顔画像と、前記利用者のパスポートに関するパスポート情報と、前記利用者に発行された搭乗券に関する搭乗券情報と、前記コンセント情報が含まれ、
前記コンセント情報には、前記利用者が利用する空港に関する情報が含まれ、
前記コンセント情報に含まれる空港に関する情報に基づいて、前記トークン発行要求の送信先を決定する、請求項5に記載のサーバの制御方法。
【請求項9】
サーバに搭載されたコンピュータに、
利用者が搭乗手続きを生体認証により進めるために必要な情報、及び該情報を提供することに対する利用者の同意に関するコンセント情報を含むトークン発行要求を、前記利用者が前記搭乗手続きを生体認証により進める際に利用する端末から受信する処理と、
前記受信したトークン発行要求の送信元となる端末に関する情報をデータベースに記憶する処理と、
を実行させるためのプログラム。
【請求項10】
前記トークン発行要求には、空港に設置された第1の端末の端末ID、又は、前記利用者が所持する第2の端末にインストールされたアプリケーションであって航空機の利用に関する手続を行うためのモバイルアプリケーションを識別する仮想端末IDが含まれ、
前記端末ID又は前記仮想端末IDに基づいて前記トークン発行要求の送信元となる端末を特定する処理をさらに実行させる、請求項9に記載のプログラム。
(【請求項11】以降は省略されています)
発明の詳細な説明
【技術分野】
【0001】
本発明は、システム、サーバ装置、サーバ装置の制御方法及び記憶媒体に関する。
続きを表示(約 1,700 文字)
【背景技術】
【0002】
航空機等の搭乗手続きに適用可能な生体認証に関する技術が存在する。
【0003】
例えば、特許文献1には、高い精度の生体認証を実現するサーバ装置を提供する、と記載されている。特許文献1のサーバ装置は、受信部と、処理部とを備える。受信部は、少なくとも1種以上の端末から認証要求を受信する。処理部は、複数の利用者それぞれの生体情報を記憶するデータベースを参照し、認証要求を処理する。処理部は、データベースに記憶されている複数の生体情報のうち、認証要求を送信する端末の種類に応じた生体情報を用いて、認証要求を処理する。
【先行技術文献】
【特許文献】
【0004】
特開2022-075775号公報
【発明の概要】
【発明が解決しようとする課題】
【0005】
特許文献1に開示されたように、生体認証を用いてサービスを提供するためには被認証者を認証するサーバの設置が必要になる。また、利用者は、生体認証により搭乗手続きを進めるための情報をサーバに登録する必要がある。ここで、システムの構成として、上記のような空港等の管理会社が自社でサーバを用意する方式と、クラウド等に設置されたサーバを共用する方式と、が考えられる。このような2つの方式が混在すると、利用者には、利用する空港が採用する方式に合わせた情報登録が求められる。しかし、このような利用者に対する要求によって利用者の負担が増加する。
【0006】
本発明は、利用者の負担を増加させることなく、方式の異なるサーバの併存を可能とすることに寄与する、システム、サーバ装置、サーバ装置の制御方法及び記憶媒体を提供することを主たる目的とする。
【課題を解決するための手段】
【0007】
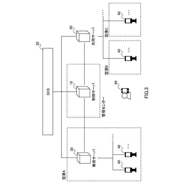
本発明の第1の視点によれば、複数の空港によって認証処理を行うサーバとして共用される、共用サーバと、1つの空港における認証処理を行う、専用サーバと、制御サーバと、を含み、前記制御サーバは、利用者が利用する空港を判定し、前記利用者が利用する空港に応じて、前記利用者が搭乗手続きを生体認証により進めるために必要な情報を前記共用サーバ又は前記専用サーバのいずれかに送信する、システムが提供される。
【0008】
本発明の第2の視点によれば、複数の空港によって認証処理を行うサーバとして共用される共用サーバと、1つの空港における認証処理を行う専用サーバと、通信を行う、サーバであって、利用者が利用する空港を判定する、判定部と、前記利用者が利用する空港に応じて、前記利用者が搭乗手続きを生体認証により進めるために必要な情報を前記共用サーバ又は前記専用サーバのいずれかに送信する、登録部と、を備える、サーバ装置が提供される。
【0009】
本発明の第3の視点によれば、複数の空港によって認証処理を行うサーバとして共用される、共用サーバと、1つの空港における認証処理を行う、専用サーバと、通信を行う、サーバ装置において、利用者が利用する空港を判定し、前記利用者が利用する空港に応じて、前記利用者が搭乗手続きを生体認証により進めるために必要な情報を前記共用サーバ又は前記専用サーバのいずれかに送信する、サーバ装置の制御方法が提供される。
【0010】
本発明の第4の視点によれば、複数の空港によって認証処理を行うサーバとして共用される、共用サーバと、1つの空港における認証処理を行う、専用サーバと、通信を行う、サーバ装置に搭載されたコンピュータに、利用者が利用する空港を判定する処理と、前記利用者が利用する空港に応じて、前記利用者が搭乗手続きを生体認証により進めるために必要な情報を前記共用サーバ又は前記専用サーバのいずれかに送信する処理と、を実行させるためのプログラムを記憶する、コンピュータ読取可能な記憶媒体が提供される。
【発明の効果】
(【0011】以降は省略されています)
この特許をJ-PlatPat(特許庁公式サイト)で参照する
関連特許
日本電気株式会社
管理装置
12日前
日本電気株式会社
監視装置
12日前
日本電気株式会社
監視装置
12日前
日本電気株式会社
異常検知装置
4日前
日本電気株式会社
海底分岐装置
13日前
日本電気株式会社
光集積回路素子
17日前
日本電気株式会社
レーザモジュール
18日前
日本電気株式会社
超伝導量子回路装置
18日前
日本電気株式会社
受信器および通信装置
19日前
日本電気株式会社
システム、装置及び方法
18日前
日本電気株式会社
通信装置および通信方法
24日前
日本電気株式会社
送信装置および通信装置
24日前
日本電気株式会社
光伝送システムおよび方法
20日前
日本電気株式会社
分析方法および分析システム
25日前
日本電気株式会社
ラインカード及びイジェクタ
10日前
日本電気株式会社
制御装置、プログラム及び方法
18日前
日本電気株式会社
演算処理装置および演算処理方法
20日前
日本電気株式会社
兆候検知装置および兆候検知方法
20日前
日本電気株式会社
推定装置、推定方法及びプログラム
18日前
日本電気株式会社
放送用システムおよび字幕作成方法
20日前
日本電気株式会社
レコメンド装置およびレコメンド方法
6日前
日本電気株式会社
情報処理装置、制御方法及び記憶媒体
18日前
日本電気株式会社
端末、端末の制御方法及びプログラム
10日前
日本電気株式会社
波長可変レーザ装置及びその構成方法
24日前
日本電気株式会社
ソーナー装置、通信方法、プログラム
20日前
日本電気株式会社
注文端末、注文受付方法及びプログラム
24日前
日本電気株式会社
安否確認支援装置、方法及びプログラム
13日前
日本電気株式会社
判別装置、判別方法、およびプログラム
20日前
日本電気株式会社
学習装置、学習方法及び学習プログラム
18日前
日本電気株式会社
動作認識装置、動作認識方法、プログラム
20日前
日本電気株式会社
通信システム、通信方法及び、プログラム
24日前
日本電気株式会社
性能監視装置、性能監視方法、プログラム
24日前
日本電気株式会社
追跡支援装置、追跡支援方法及びプログラム
17日前
日本電気株式会社
追跡支援装置、追跡支援方法及びプログラム
17日前
日本電気株式会社
処理システム、処理方法、およびプログラム
3日前
日本電気株式会社
情報処理装置、計算方法、およびプログラム
18日前
続きを見る
他の特許を見る