TOP
|
特許
|
意匠
|
商標
特許ウォッチ
Twitter
他の特許を見る
公開番号
2025161613
公報種別
公開特許公報(A)
公開日
2025-10-24
出願番号
2024064953
出願日
2024-04-12
発明の名称
ブーム折畳展開機構およびこれを備えたブームスプレーヤ
出願人
東洋農機株式会社
代理人
弁理士法人佐川国際特許商標事務所
主分類
A01M
7/00 20060101AFI20251017BHJP(農業;林業;畜産;狩猟;捕獲;漁業)
要約
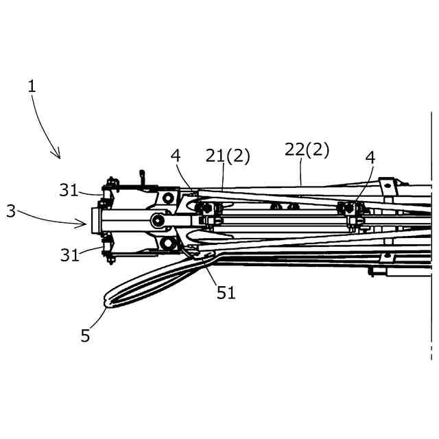
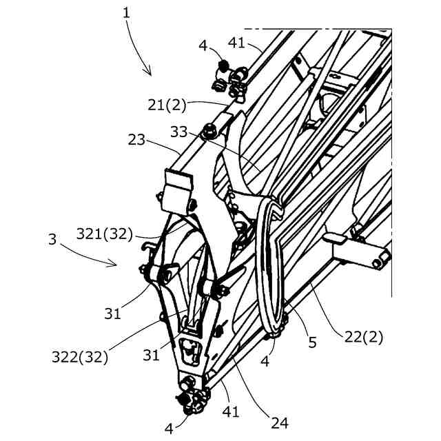
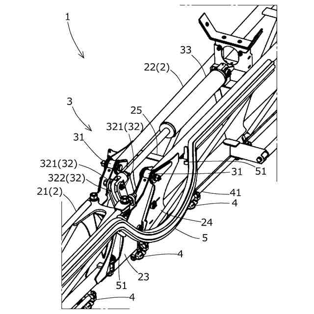
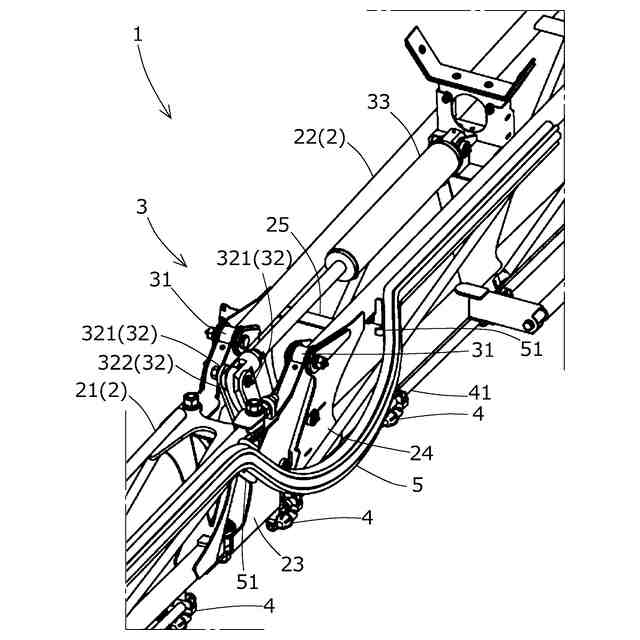
【課題】 ピストンシリンダーを一定の速度で伸縮させたときのブーム同士の衝突緩和機能を維持したまま小型化するとともに、薬液を供給する薬液供給ホースを保護し、散布斑の発生を防止することのできる、ブーム折畳展開機構およびこれを備えたブームスプレーヤを提供する。
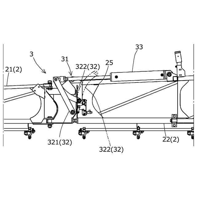
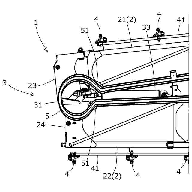
【解決手段】 ブームスプレーヤ1におけるブーム2の折畳および展開を行うブーム折畳展開機構3であって、ブーム2を折畳可能に軸支する折畳軸支部31がブーム2の長手方向に対して直交する方向に2分割されて配置されており、これら2分割された折畳軸支部31の間に収まるように、基端側に揺動することでブーム2を折畳むとともに、先端側に揺動することでブーム2を展開するリンク部材32が、揺動可能に設置されている。また、リンク部材32が第一軸支カバー23及び第二軸支カバー24により覆い隠されているとともに、薬液供給ホース5が薬液散布ノズル4より上方に設置されている。
【選択図】 図1
特許請求の範囲
【請求項1】
薬液を散布するブームスプレーヤにおけるブームの折畳および展開を行うブーム折畳展開機構であって、
前記ブームを折畳可能に軸支する折畳軸支部が前記ブームの長手方向に対して直交する方向に2分割されて配置されており、これら2分割された前記折畳軸支部の間に収まるように、基端側に揺動することで前記ブームを折畳むとともに、先端側に揺動することで前記ブームを展開するリンク部材が、揺動可能に設置されている、前記ブーム折畳展開機構。
続きを表示(約 530 文字)
【請求項2】
前記ブームは、前記折畳軸支部より先端側の先端ブームおよび基端側の基端ブームにより構成されているとともに、
前記リンク部材は、前記先端ブームの基端側に軸支された第一リンクおよび前記基端ブームの先端側に軸支された第二リンクにより構成されており、
前記先端ブームには、前記第一リンクを覆い隠す位置に、前記第一リンクを軸支する第一軸支カバーが設けられているとともに、
前記基端ブームには、前記第二リンクを覆い隠す位置に、前記第二リンクを軸支する第二軸支カバーが設けられている、請求項1に記載のブーム折畳展開機構。
【請求項3】
請求項1または請求項2に記載のブーム折畳展開機構を備えたブームと、前記ブームに所定間隔で取り付けられた複数個の薬液散布ノズルと、前記ブーム折畳展開機構より先端側の前記ブームに取り付けられた前記薬液散布ノズルに薬液を供給する薬液供給ホースとを備えた、ブームスプレーヤ。
【請求項4】
前記薬液供給ホースが、前記ブームの展開状態において前記ブーム折畳展開機構の側面で、かつ前記薬液散布ノズルの取り付け高さより上方に設置されている、請求項3に記載のブームスプレーヤ。
発明の詳細な説明
【技術分野】
【0001】
本発明は、圃場等に薬液を散布するブームスプレーヤであって、ブームを折り畳むためのブーム折畳展開機構およびこれを備えたブームスプレーヤに関するものである。
続きを表示(約 1,600 文字)
【背景技術】
【0002】
ブームスプレーヤは、トラクタ等の走行車両に設置されて圃場に薬液を散布するものである。このようなブームスプレーヤでは、ブーム長を長くするほど、広い面積に薬液を散布することができ、効率よく薬液を散布できるというメリットがある。しかし、長いブームは移動時や格納時において邪魔になるというデメリットがある。
【0003】
このような長いブームにおける上記デメリットを解消するため、実開昭61-55966号公報(特許文献1)および米国特許第4449667号明細書(特許文献2)では、伸縮自在なピストンシリンダーを用いてブームの先端側を折り畳むことのできるブームスプレーヤに関する発明が提案されている。
【0004】
一方、これらの特許文献1および2に記載の発明では、ピストンシリンダーを一定の速度で伸縮させた場合、ブームを折り畳んだ状態から展開する際の直線状に展開される瞬間、および、ブームを展開した状態から折り畳む際の折り畳まれる瞬間の衝撃が強く、ブームの破損や故障等の原因となる。このため、ブームを展開または折り畳む際に、オペレーターはピストンシリンダーを慎重に操作しなければならず、神経を使う煩わしい作業となっていた。
【0005】
このような問題に対し、本願の出願人は、特開2013-116078号公報において、複数本のリンク部材を用いることで、ピストンシリンダーを一定の速度で伸縮させたときに、ブーム同士の衝突による衝撃を緩和することのできるブームスプレーヤの開示を行っている(特許文献3)。具体的には、先端ブームおよび基端ブームが支持軸によって回動自在に連結されており、先端ブームの基端側の支持軸より下方において揺動自在に設けられた第一リンクと、基端ブームの先端側の支持軸より下方において揺動自在に設けられた第二リンクとを備え、前記第一リンクの上端と前記第二リンクの上端とを連結して、その連結部分を支持軸より先端側に揺動することでブームを展開し、連結部分を支持軸より基端側に揺動することでブームを折り畳む機構を備えている。
【先行技術文献】
【特許文献】
【0006】
実開昭61-55966号公報
米国特許第4449667号明細書
特開2013-116078号公報
【発明の概要】
【発明が解決しようとする課題】
【0007】
しかしながら、特許文献3に記載された発明においては、各リンク部材などがブームの外側に配置されるため、折り畳みや展開を行うための機構が大型化しており、重量の増加やそれに伴う補強の必要性などがあったことから、小型化のニーズが生じている。
【0008】
また、特許文献2に記載された発明においては、展開時や折畳時において、薬液を供給する薬液供給ホースがリンク部材に接触して傷つくという問題がある。
【0009】
さらに、特許文献2および3では、リンク部材やブーム同士の間に薬液供給ホースが挟み込まないように、薬液供給ホースをブームより下方に大きく弛ませて配置している。しかしながら、弛ませた薬液供給ホースに散布した薬液がかかりホースを伝って滴下することによって、ホースに妨げられて散布されない範囲と、滴下して想定より多い量が散布される範囲とが発生し、いわゆる散布斑が生じていた。
【0010】
本発明は、以上のようなニーズや問題を解決するためになされたものであって、ピストンシリンダーを一定の速度で伸縮させたときのブーム同士の衝突緩和機能を維持したまま小型化するとともに、薬液を供給する薬液供給ホースを保護し、散布斑の発生を防止することのできる、ブーム折畳展開機構およびこれを備えたブームスプレーヤを提供することを目的としている。
【課題を解決するための手段】
(【0011】以降は省略されています)
この特許をJ-PlatPat(特許庁公式サイト)で参照する
関連特許
東洋農機株式会社
ブーム折畳展開機構およびこれを備えたブームスプレーヤ
8日前
個人
蠅捕獲器
11日前
個人
虫捕り器
1か月前
個人
草刈り鋏
15日前
個人
刈込鋏保持具
29日前
個人
蜜蜂保護装置
2日前
個人
種子の製造方法
8日前
個人
草刈機用回転刃
11日前
個人
飼育容器
1か月前
個人
後付巻降ろし器
1か月前
個人
イカ釣り用ヤエン
1か月前
株式会社丹勝
緑化工法
1か月前
個人
昆虫捕集器
8日前
井関農機株式会社
作業車両
1か月前
井関農機株式会社
作業車両
23日前
井関農機株式会社
作業車両
1か月前
井関農機株式会社
作業車両
1か月前
井関農機株式会社
作業車両
23日前
株式会社シマノ
釣竿
1か月前
個人
四足動物用装着具
16日前
個人
水耕栽培システム
1か月前
大栄工業株式会社
捕獲器
23日前
井関農機株式会社
作業車両
1か月前
株式会社オーツボ
海苔箱船
15日前
井関農機株式会社
作業車両
29日前
井関農機株式会社
作業車両
16日前
井関農機株式会社
作業車両
11日前
個人
伸縮する草刈り機の可動装置。
1か月前
松山株式会社
農作業機
29日前
松山株式会社
農作業機
1か月前
個人
妻面トラス梁付き園芸用ハウス
1か月前
松山株式会社
草刈作業機
2日前
トヨタ自動車株式会社
育苗装置
1か月前
個人
飼育水槽用の浄化装置
1か月前
みのる産業株式会社
茎葉処理装置
17日前
スガノ農機株式会社
圃場作業装置
1か月前
続きを見る
他の特許を見る