TOP
|
特許
|
意匠
|
商標
特許ウォッチ
Twitter
他の特許を見る
10個以上の画像は省略されています。
公開番号
2025161400
公報種別
公開特許公報(A)
公開日
2025-10-24
出願番号
2024064556
出願日
2024-04-12
発明の名称
通信装置、通信装置の制御方法、プログラム
出願人
キヤノン株式会社
代理人
弁理士法人秀和特許事務所
主分類
H04W
72/566 20230101AFI20251017BHJP(電気通信技術)
要約
【課題】複数の通信装置が同じカテゴリのデータを送信する場合においても各通信装置が送信するデータに対して適切な優先順位を設定する。
【解決手段】通信装置は、直交周波数分割多元接続(OFDMA)を用いてアクセスポイントと通信が可能な通信装置であって、同じカテゴリのデータを前記アクセスポイントに送信する他の通信装置における前記データに関連する動作状態を取得する取得部と、前記他の通信装置における前記動作状態と自通信装置における前記データに関連する動作状態とに応じて、前記自通信装置の前記データの前記アクセスポイントへの送信に関する優先度を決定する決定部と、決定された前記優先度を示す優先度情報を、前記アクセスポイントに送信される前記データに付与する付与部と、を有する。
【選択図】図1
特許請求の範囲
【請求項1】
直交周波数分割多元接続(OFDMA)を用いてアクセスポイントと通信が可能な通信装置であって、
同じカテゴリのデータを前記アクセスポイントに送信する他の通信装置における前記データに関連する動作状態を取得する取得部と、
前記他の通信装置における前記動作状態と自通信装置における前記データに関連する動作状態とに応じて、前記自通信装置の前記データの前記アクセスポイントへの送信に関する優先度を決定する決定部と、
決定された前記優先度を示す優先度情報を、前記アクセスポイントに送信される前記データに付与する付与部と、
を有することを特徴とする通信装置。
続きを表示(約 1,400 文字)
【請求項2】
前記動作状態は、前記アクセスポイントと通信可能な外部装置が前記データのライブ配信を行っている場合に、前記ライブ配信に係る前記データを送信した通信装置に送信されるタリー信号を受信しているか否かを示し、
前記決定部は、前記動作状態が前記タリー信号を受信していないことを示す通信装置による前記データの送信よりも前記動作状態が前記タリー信号を受信していることを示す通信装置による前記データの送信が優先されるように前記優先度を決定する
ことを特徴とする請求項1に記載の通信装置。
【請求項3】
前記アクセスポイントからの前記データに関する確認要求に対する応答として、前記優先度情報を前記アクセスポイントに送信する送信部をさらに有することを特徴とする請求項1に記載の通信装置。
【請求項4】
前記データは映像データであり、
前記動作状態は、前記映像データのビットレート、解像度、フレームレート、ユーザが前記映像データに対して設定する前記優先度に関するパラメータのいずれかを含み、
前記決定部は、前記ビットレート、前記解像度、前記フレームレート、前記パラメータのいずれかがより高い前記データを送信する通信装置による前記データの送信が優先されるように前記優先度を決定する
ことを特徴とする請求項1に記載の通信装置。
【請求項5】
前記自通信装置の動作状態が変更されると、前記他の通信装置に前記自通信装置の前記動作状態を通知する通知部をさらに有し、
前記決定部は、前記通知部による前記動作状態の通知後に、前記優先度を決定する
ことを特徴とする請求項1に記載の通信装置。
【請求項6】
前記データに関する確認要求に対する前記応答は、IEEE802.11規格シリーズに準拠する通信におけるBuffer Status Reportであることを特徴とする請求項3に記載の通信装置。
【請求項7】
前記優先度情報は、IEEE802.11規格シリーズに準拠する通信における前記データのアクセスカテゴリを含むことを特徴とする請求項1に記載の通信装置。
【請求項8】
前記同じカテゴリのデータは、IEEE802.11規格シリーズに準拠する通信におけるアクセスカテゴリが同じデータであり、
前記アクセスカテゴリは、動画、静止画、音声のいずれかを含む
ことを特徴とする請求項1に記載の通信装置。
【請求項9】
直交周波数分割多元接続(OFDMA)を用いてアクセスポイントと通信が可能な通信装置の制御方法であって、
同じカテゴリのデータを前記アクセスポイントに送信する他の通信装置における前記データに関連する動作状態を取得するステップと、
前記他の通信装置における前記動作状態と自通信装置における前記データに関連する動作状態とに応じて、前記自通信装置の前記データの前記アクセスポイントへの送信に関する優先度を決定するステップと、
決定された前記優先度を示す優先度情報を、前記アクセスポイントに送信される前記データに付与するステップと、
を含む通信装置の制御方法。
【請求項10】
コンピュータを、請求項1から8のいずれか1項に記載の通信装置の各部として機能させるためのプログラム。
発明の詳細な説明
【技術分野】
【0001】
本発明は、通信装置、通信装置の制御方法、プログラムに関する。
続きを表示(約 1,700 文字)
【背景技術】
【0002】
無線通信では、限られた周波数帯域を有効に活用するために、時間、周波数、電力、符号、空間などのさまざまな次元での多重化などの技術が利用される。無線LAN(Local Area Network)では、変調方式の多値化、チャネルボンディング、MIMO(Multiple-Input and Multiple-Output)などにより、通信容量の拡大が試みられている。
【0003】
IEEE(米国電気電子技術者協会)では、高効率な次世代の無線LAN規格として、IEEE802.11ax規格の標準化活動が行われている。IEEE802.11ax規格では、周波数帯域を従来の20MHzより小さいサイズで割り当て可能とすることにより、多数の端末が無線リソースを同時に使用可能とする。このような無線リソースの割り当ては、OFDMA(Orthogonal Frequency Division
Multiple Access)を用いて行われる。
【0004】
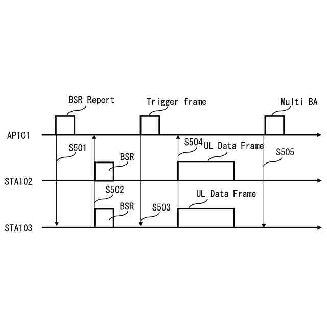
特許文献1では、IEEE802.11ax規格において、複数の端末が保持している送信データのアクセスカテゴリ情報を取得し、優先度の高いアクセスカテゴリのデータを保持する端末に優先的に無線リソースを割り当てる方法が提案されている。
【先行技術文献】
【特許文献】
【0005】
特開2020-036093号公報
【発明の概要】
【発明が解決しようとする課題】
【0006】
複数の端末が1つのアクセスポイント(AP)と通信を行い、同じカテゴリのデータを送信するシステムにおいて、各端末は送信データの種類に応じてアクセスカテゴリを付与する。このため、複数の端末が送信するデータのアクセスカテゴリが同じになり、上記の方法では、端末間で送信データの優先度を決定することができない。例えば、無線LAN内に存在する複数の端末が撮影した映像を、各端末からアクセスポイントを介して外部ネットワーク上の配信装置へ送信し、配信装置で当該映像を使用したライブ配信を行う場合を想定する。
【0007】
この場合、特許文献1で提案されている方法によると、各端末が送信する映像データのアクセスカテゴリは、いずれもAC_VIとなる。複数の端末によって撮影された映像を使用するライブ配信では、配信に使用中の映像データを送信する端末が保持する送信データの優先度を上げることで、映像の中断をできるだけ発生させずに配信を行うニーズがある。しかしながら、特許文献1で提案されている方法では、アクセスカテゴリが同じ映像データ間に優先度を決めることができないという課題がある。
【0008】
本発明は、上記課題に鑑みてなされたものであり、複数の通信装置が同じカテゴリのデータを送信する場合においても各通信装置が送信するデータに対して適切な優先度を設定する技術を提供する。
【課題を解決するための手段】
【0009】
本発明に係る通信装置は、直交周波数分割多元接続(OFDMA)を用いてアクセスポイントと通信が可能な通信装置であって、同じカテゴリのデータを前記アクセスポイントに送信する他の通信装置における前記データに関連する動作状態を取得する取得部と、前記他の通信装置における前記動作状態と自通信装置における前記データに関連する動作状態とに応じて、前記自通信装置の前記データの前記アクセスポイントへの送信に関する優先度を決定する決定部と、決定された前記優先度を示す優先度情報を、前記アクセスポイントに送信される前記データに付与する付与部と、を有することを特徴とする通信装置である。
【発明の効果】
【0010】
本発明によれば、複数の通信装置が同じカテゴリのデータを送信する場合においても各通信装置が送信するデータに対して適切な優先度を設定することができる。
【図面の簡単な説明】
(【0011】以降は省略されています)
この特許をJ-PlatPat(特許庁公式サイト)で参照する
関連特許
キヤノン株式会社
容器
1日前
キヤノン株式会社
容器
7日前
キヤノン株式会社
トナー
10日前
キヤノン株式会社
トナー
23日前
キヤノン株式会社
トナー
28日前
キヤノン株式会社
トナー
23日前
キヤノン株式会社
トナー
23日前
キヤノン株式会社
記録装置
21日前
キヤノン株式会社
記録装置
7日前
キヤノン株式会社
撮像装置
7日前
キヤノン株式会社
撮像装置
7日前
キヤノン株式会社
記録装置
28日前
キヤノン株式会社
現像容器
21日前
キヤノン株式会社
表示装置
1日前
キヤノン株式会社
撮像装置
7日前
キヤノン株式会社
現像容器
21日前
キヤノン株式会社
現像装置
21日前
キヤノン株式会社
現像装置
14日前
キヤノン株式会社
現像装置
21日前
キヤノン株式会社
測距装置
16日前
キヤノン株式会社
撮像装置
28日前
キヤノン株式会社
撮像装置
1日前
キヤノン株式会社
撮像装置
24日前
キヤノン株式会社
定着装置
22日前
キヤノン株式会社
電子機器
1か月前
キヤノン株式会社
撮影装置
21日前
キヤノン株式会社
半導体装置
1か月前
キヤノン株式会社
現像剤容器
29日前
キヤノン株式会社
光学センサ
23日前
キヤノン株式会社
モジュール
23日前
キヤノン株式会社
画像形成装置
24日前
キヤノン株式会社
電子写真装置
8日前
キヤノン株式会社
情報処理装置
21日前
キヤノン株式会社
画像形成装置
22日前
キヤノン株式会社
画像形成装置
8日前
キヤノン株式会社
画像処理装置
29日前
続きを見る
他の特許を見る