TOP
|
特許
|
意匠
|
商標
特許ウォッチ
Twitter
他の特許を見る
公開番号
2025161399
公報種別
公開特許公報(A)
公開日
2025-10-24
出願番号
2024064555
出願日
2024-04-12
発明の名称
支援情報提供装置
出願人
トヨタ自動車株式会社
代理人
個人
,
個人
,
個人
,
個人
主分類
G08G
1/01 20060101AFI20251017BHJP(信号)
要約
【課題】ヒヤリレベルをより適切に設定し、車両の運転支援装置に提供する。
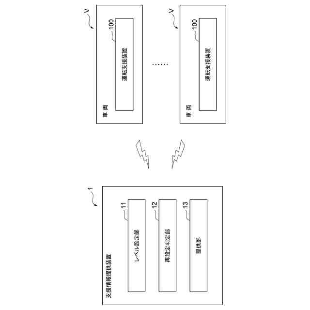
【解決手段】支援情報提供装置1は、車両Vの運転支援装置100に対して、ヒヤリハット事象の起きやすさを示すヒヤリレベルを提供する。支援情報提供装置1は、地域内の複数の分割エリアのそれぞれについて、ヒヤリレベルを設定するレベル設定部11と、設定されたヒヤリレベルの再設定の要否を判定する再設定判定部12と、を備える。再設定判定部12は、ヒヤリレベルが最も高い高レベル分割エリアによって構成される判定エリアを設定する。再設定判定部12は、地域内における不安定挙動件数の総数に対して、判定エリアにおける不安定挙動件数が占める割合が件数閾値未満である場合に、再設定が必要と判定する。再設定が必要と判定された場合、レベル設定部11は、高レベル分割エリアを除く分割エリアについてヒヤリレベルを再設定する。
【選択図】図1
特許請求の範囲
【請求項1】
車両の運転支援装置に対して、前記車両におけるヒヤリハット事象の起きやすさを示すヒヤリレベルを提供する支援情報提供装置であって、
地域を複数に分割してなる分割エリアのそれぞれについて、前記車両が通常走行時とは異なる不安定挙動を行った位置情報を含む不安定挙動情報に基づいて前記ヒヤリレベルを設定するレベル設定部と、
設定された前記ヒヤリレベルの再設定の要否を判定する再設定判定部と、
設定された前記ヒヤリレベルを前記運転支援装置に提供する提供部と、
を備え、
前記レベル設定部は、
前記不安定挙動情報に基づいて、複数の前記分割エリアのそれぞれについて前記車両が不安定挙動となった件数である不安定挙動件数を算出し、
前記地域内における複数の前記分割エリアの前記不安定挙動件数の多少関係に基づいて、前記地域内において前記不安定挙動件数が多い前記分割エリアほど前記ヒヤリレベルが高くなるように複数の前記分割エリアのそれぞれについて前記ヒヤリレベルを設定し、
前記再設定判定部は、
前記地域内において前記ヒヤリレベルが最も高い前記分割エリアである高レベル分割エリアによって構成される一塊のエリアを判定エリアとして設定し、
前記不安定挙動情報に基づいて、前記判定エリアにおける前記不安定挙動件数を算出し、
前記地域内における前記不安定挙動件数の総数を算出し、
前記地域内における前記不安定挙動件数の総数に対して、前記判定エリアにおける前記不安定挙動件数が占める割合が件数閾値未満である場合に、再設定が必要と判定し、
前記レベル設定部は、前記再設定判定部によって再設定が必要と判定された場合、
前記地域内における複数の前記分割エリアのうち、前記高レベル分割エリアを除く前記分割エリアについて前記ヒヤリレベルを再設定するものであり、
前記地域内における前記高レベル分割エリアを除く複数の前記分割エリアの前記不安定挙動件数の多少関係に基づいて、前記不安定挙動件数が多い前記分割エリアほど前記ヒヤリレベルが高くなるように、前記ヒヤリレベルを再設定する、支援情報提供装置。
続きを表示(約 540 文字)
【請求項2】
前記再設定判定部は、
前記地域を、前記判定エリアと、前記判定エリアに対応する大きさの複数のサブエリアと、に分割し、
前記不安定挙動情報に基づいて、複数の前記サブエリアのそれぞれについて前記不安定挙動件数を算出し、
前記地域内における前記不安定挙動件数の総数に対して、前記判定エリアにおける前記不安定挙動件数が占める割合が件数閾値未満であり、かつ、複数の前記サブエリアのそれぞれについて算出した前記不安定挙動件数の最大値が最大件数閾値以上である場合に、再設定が必要と判定する、請求項1に記載の支援情報提供装置。
【請求項3】
前記再設定判定部は、
前記地域内における前記不安定挙動件数の総数に対して、前記判定エリアにおける前記不安定挙動件数が占める割合が件数閾値未満であり、
複数の前記サブエリアのそれぞれについて算出した前記不安定挙動件数の最大値が最大件数閾値以上であり、
かつ、複数の前記サブエリアのそれぞれについて算出した前記不安定挙動件数の最大値と、前記判定エリアにおける前記不安定挙動件数と、の乖離が乖離閾値以上の場合に、再設定が必要と判定する、請求項2に記載の支援情報提供装置。
発明の詳細な説明
【技術分野】
【0001】
本開示は、車両の運転支援装置にヒヤリレベルを提供する支援情報提供装置に関する。
続きを表示(約 2,400 文字)
【背景技術】
【0002】
車両の走行におけるヒヤリハット事象の起きやすさを推定することが行われている。例えば、特許文献1には、ヒヤリハット事象として、交差点における飛び出し等のリスクを推定する装置について記載されている。このようなヒヤリハット事象の起きやすさを示すヒヤリレベルは、例えば、車両の運転支援に用いられる。
【先行技術文献】
【特許文献】
【0003】
特開2021-89698号公報
【発明の概要】
【発明が解決しようとする課題】
【0004】
一般に、ヒヤリハット事象の起きやすさを示すヒヤリレベルを設定(推定)する場合、対象とする地域内を複数の分割エリアに分割し、地域内の各分割エリアに対してヒヤリレベルを設定することが行われる。その際、例えば、地域内において、ヒヤリハット事象の発生件数が多い分割エリアのヒヤリレベルを高く設定し、ヒヤリハット事象の発生件数が少ない分割エリアのヒヤリレベルを低く設定している。例えば、ある分割エリアにおいてヒヤリハット事象の発生件数が他の分割エリアに対して突出して多い場合がある。この場合、ヒヤリハット事象の発生件数が突出して多い分割エリアに対して、他の分割エリアのヒヤリハット事象の発生件数が非常に少なく見えるため、他の分割エリアのヒヤリレベルが非常に低く設定されることがある。これにより、他の分割エリアの中にヒヤリハット事象の発生件数が比較的多い分割エリアが含まれていたとしても、このような分割エリアに対しても低いヒヤリレベルが設定されてしまい、ヒヤリレベルを適切に設定できているとはいえないことが生じ得る。
【0005】
このため、本開示は、ヒヤリレベルをより適切に設定し、車両の運転支援装置に提供することが可能な支援情報提供装置について説明する。
【課題を解決するための手段】
【0006】
本開示の一態様は、車両の運転支援装置に対して、車両におけるヒヤリハット事象の起きやすさを示すヒヤリレベルを提供する支援情報提供装置であって、地域を複数に分割してなる分割エリアのそれぞれについて、車両が通常走行時とは異なる不安定挙動を行った位置情報を含む不安定挙動情報に基づいてヒヤリレベルを設定するレベル設定部と、設定されたヒヤリレベルの再設定の要否を判定する再設定判定部と、設定されたヒヤリレベルを運転支援装置に提供する提供部と、を備え、レベル設定部は、不安定挙動情報に基づいて、複数の分割エリアのそれぞれについて車両が不安定挙動となった件数である不安定挙動件数を算出し、地域内における複数の分割エリアの不安定挙動件数の多少関係に基づいて、地域内において不安定挙動件数が多い分割エリアほどヒヤリレベルが高くなるように複数の分割エリアのそれぞれについてヒヤリレベルを設定し、再設定判定部は、地域内においてヒヤリレベルが最も高い分割エリアである高レベル分割エリアによって構成される一塊のエリアを判定エリアとして設定し、不安定挙動情報に基づいて、判定エリア内における不安定挙動件数を算出し、地域内における不安定挙動件数の総数を算出し、地域内における不安定挙動件数の総数に対して、判定エリア内における不安定挙動件数が占める割合が件数閾値未満である場合に、再設定が必要と判定し、レベル設定部は、再設定判定部によって再設定が必要と判定された場合、地域内における複数の分割エリアのうち、高レベル分割エリアを除く分割エリアについてヒヤリレベルを再設定するものであり、地域内における高レベル分割エリアを除く複数の分割エリアの不安定挙動件数の多少関係に基づいて、不安定挙動件数が多い分割エリアほどヒヤリレベルが高くなるように、ヒヤリレベルを再設定する。
【0007】
上記の支援情報提供装置において、再設定判定部は、地域を、判定エリアと、判定エリアに対応する大きさの複数のサブエリアと、に分割し、不安定挙動情報に基づいて、複数のサブエリアのそれぞれについて不安定挙動件数を算出し、地域内における不安定挙動件数の総数に対して、判定エリア内における不安定挙動件数が占める割合が件数閾値未満であり、かつ、複数のサブエリアのそれぞれについて算出した不安定挙動件数の最大値が最大件数閾値以上である場合に、再設定が必要と判定してもよい。
【0008】
上記の支援情報提供装置は、再設定判定部は、地域内における不安定挙動件数の総数に対して、判定エリア内における不安定挙動件数が占める割合が件数閾値未満であり、複数のサブエリアのそれぞれについて算出した不安定挙動件数の最大値が最大件数閾値以上であり、かつ、複数のサブエリアのそれぞれについて算出した不安定挙動件数の最大値と、判定エリア内における不安定挙動件数と、の乖離が乖離閾値以上の場合に、再設定が必要と判定してもよい。
【発明の効果】
【0009】
本開示の一態様によれば、ヒヤリレベルをより適切に設定し、車両の運転支援装置に提供することができる。
【図面の簡単な説明】
【0010】
図1は、実施形態に係る支援情報提供装置の一例を示すブロック図である。
図2は、地域内の各分割エリアに対してヒヤリレベルを設定する様子を説明するための概略図である。
図3(a)及び図3(b)は、地域内に判定エリアとサブエリアとを設定する様子を説明するための概略図である。
図4は、支援情報提供装置において行われるヒヤリレベルの提供処理の流れを示すフローチャートである。
【発明を実施するための形態】
(【0011】以降は省略されています)
この特許をJ-PlatPat(特許庁公式サイト)で参照する
関連特許
個人
安全支援装置
16日前
日本精機株式会社
警報システム
2か月前
株式会社SUBARU
車両
1か月前
個人
自動電動車椅子
2か月前
スズキ株式会社
運転支援装置
2か月前
エムケー精工株式会社
車両誘導装置
2か月前
ニッタン株式会社
検知器
1か月前
ニッタン株式会社
検知器
2か月前
株式会社国際電気
防災システム
2か月前
ニッタン株式会社
検知器
2か月前
個人
磁気路上での車両の路線離脱防御
1か月前
日本無線株式会社
船舶システム
17日前
ニッタン株式会社
検知器
2か月前
トヨタ自動車株式会社
サーバ
25日前
株式会社SUBARU
運転支援装置
1か月前
トヨタ自動車株式会社
サーバ
1か月前
日本信号株式会社
異常走行検出装置
1か月前
ダイハツ工業株式会社
移動支援装置
1か月前
大阪瓦斯株式会社
音声出力システム
1か月前
株式会社小糸製作所
移動体検出装置
2か月前
日本精機株式会社
報知装置及び報知システム
2か月前
株式会社デンソー
運航管理装置
1か月前
株式会社CCT
通信装置及び表示方法
1か月前
三菱自動車工業株式会社
制御システム
1か月前
株式会社小糸製作所
車両検出システム
2か月前
能美防災株式会社
火災感知器
2か月前
株式会社SUBARU
事故情報収集装置
1か月前
株式会社 ミックウェア
車内環境制御システム
1か月前
株式会社SUBARU
車室内異常検知装置
1か月前
ホーチキ株式会社
火災検出システム
1か月前
能美防災株式会社
非常伝達装置
2か月前
ヨシモトポール株式会社
接近報知システム
2か月前
能美防災株式会社
火災感知器及び火災報知システム
1か月前
株式会社豊田中央研究所
注意喚起装置
2か月前
シャープ株式会社
駐車制御装置
1か月前
大阪瓦斯株式会社
音声出力装置
1か月前
続きを見る
他の特許を見る