TOP
|
特許
|
意匠
|
商標
特許ウォッチ
Twitter
他の特許を見る
公開番号
2025161088
公報種別
公開特許公報(A)
公開日
2025-10-24
出願番号
2024063992
出願日
2024-04-11
発明の名称
車両の前部構造及び車両の前部構造の組み付け方法
出願人
豊田合成株式会社
代理人
個人
,
個人
主分類
B60Q
1/04 20060101AFI20251017BHJP(車両一般)
要約
【課題】外装部材とヘッドランプとの組み付け精度が向上する。
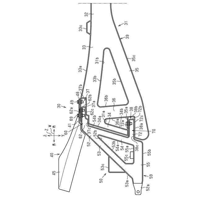
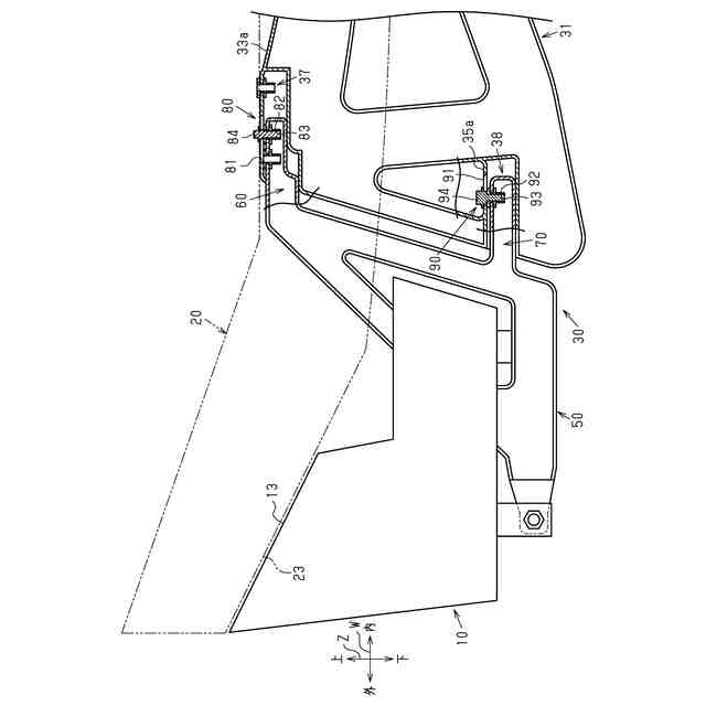
【解決手段】車両の前部構造は、一対のヘッドランプ10、外装部材20、及び支持部材30を備える。外装部材は、第1傾斜面23を有する。ヘッドランプは、第2傾斜面13を有する。支持部材は、外装部材が取り付けられる本体部31と、本体部の車幅方向Wの両端に連結され、一対のヘッドランプがそれぞれ取り付けられる一対の取付部50とを有する。また、支持部材は、第1傾斜面と第2傾斜面とが互いに接触する位置において本体部に対して取付部を締結するボルトを有する。支持部材は、ボルトにより本体部と取付部との締結がされていない状態において、車幅方向Wにおける本体部に対する取付部の位置変更を許容する一方、車幅方向Wとは異なる方向において本体部に対する取付部の位置変更を規制する。
【選択図】図7
特許請求の範囲
【請求項1】
車幅方向に互いに離間して設けられる一対のヘッドランプと、一対の前記ヘッドランプの間に設けられる外装部材と、前記外装部材の車両後方に位置するとともに、前記ヘッドランプ及び前記外装部材が取り付けられる支持部材と、を備える車両の前部構造であって、
前記外装部材は、車幅方向において前記ヘッドランプと当接する第1傾斜面を有し、
前記ヘッドランプは、前記第1傾斜面に沿って傾斜する第2傾斜面を有し、
前記第1傾斜面は、車幅方向の外側の部分ほど上方または下方に位置するように傾斜しており、
前記支持部材は、
前記外装部材が取り付けられる本体部と、
前記本体部を車体に固定する本体固定部と、
前記本体部の車幅方向の両端に連結され、一対の前記ヘッドランプがそれぞれ取り付けられる一対の取付部と、
前記第1傾斜面と前記第2傾斜面とが互いに接触する位置において前記本体部に対して前記取付部を締結する締結部と、を有し、
前記支持部材は、前記締結部により前記本体部と前記取付部との締結がされていない状態において、車幅方向における前記本体部に対する前記取付部の位置変更を許容する一方、車幅方向とは異なる方向において前記本体部に対する前記取付部の位置変更を規制することで前記本体部に対して前記取付部を支持する支持機構を備える、
車両の前部構造。
続きを表示(約 850 文字)
【請求項2】
前記支持機構は、
前記本体部及び前記取付部の一方に設けられ、車幅方向に延在する長孔と、
前記本体部及び前記取付部の他方に設けられた孔と、
前記長孔及び前記孔に挿通されるボルトと、
前記ボルトとの協働により前記本体部と前記取付部とを挟持するナットと、を備える、
請求項1に記載の車両の前部構造。
【請求項3】
前記取付部は、
取付部本体と、
前記取付部本体から車幅方向において前記本体部に向かって突出する連結部と、を有し、
前記本体部は、前記本体部の側面に開口するとともに車幅方向に延在し、前記連結部が挿入される案内溝部を有し、
前記案内溝部は、前記締結部により前記本体部と前記取付部との締結がされていない状態において、前記連結部に当接することで車幅方向における前記連結部の移動を案内するように構成されており、
前記長孔は、前記案内溝部に設けられている、
請求項2に記載の車両の前部構造。
【請求項4】
前記連結部及び前記案内溝部は、前記車両の上下方向において互いに間隔をあけて複数設けられている、
請求項3に記載の車両の前部構造。
【請求項5】
請求項1から請求項4のいずれか一項に記載の車両の前部構造の組み付け方法であって、
前記支持機構により、前記本体部に対して前記取付部を支持させる工程と、
前記外装部材を前記本体部に取り付ける工程と、
前記ヘッドランプを前記取付部に取り付ける工程と、
車幅方向における前記本体部に対する前記取付部の位置を変更することで、前記第1傾斜面と前記第2傾斜面とを接触させる工程と、
前記締結部により前記本体部に対して前記取付部を締結する工程と、
前記本体固定部を介して前記本体部を前記車体に固定する工程と、を備える、
車両の前部構造の組み付け方法。
発明の詳細な説明
【技術分野】
【0001】
本発明は、車両の前部構造及び車両の前部構造の組み付け方法に関する。
続きを表示(約 2,000 文字)
【背景技術】
【0002】
特許文献1には、車両のランプユニット取付け構造(以下、取付け構造)が記載されている。
特許文献1に記載の取付け構造は、一対のヘッドランプユニットと、車体に設けられ、一対のヘッドランプユニットを支持する一対の受け部とを備える。
【0003】
車両の前部には、車幅方向に延在するラジエータサポート部材が設けられている。ラジエータサポート部材には、車幅方向の両端から下方に延在する一対の支柱部が設けられている。
【0004】
支柱部には、上記受け部が固定されている。受け部は、支柱部に固定される縦板部と、縦板部の下端から車幅方向の外側に突出する横板部とを有する。横板部には、上方に突出する本鉤部が設けられている。
【0005】
ヘッドランプユニットは、前方に開口するハウジングと、ハウジングの開口を覆うレンズとを有する。ヘッドハウジングの内部には、光源となる複数のランプが収容されている。ハウジングの下面には、本鉤部と係合する本止め部が設けられている。
【0006】
ヘッドランプユニットの本止め部が横板部の本鉤部と係合されることで、ヘッドランプユニットが受け部に組み付けられる。
また従来、一対のヘッドランプユニットの間には、車両前部の意匠面の一部を構成する外装部材が設けられている。
【先行技術文献】
【特許文献】
【0007】
特開2009-248900号公報
【発明の概要】
【発明が解決しようとする課題】
【0008】
ところで、特許文献1に記載の取付け構造を含む車両の前部構造では、ラジエータサポートに設けられた本鉤部に対してヘッドランプユニットに設けられた本止め部が係合される。このため、ラジエータサポート部材に対するヘッドランプユニットの組み付け誤差が生じる。また、ラジエータサポートに対して外装部材が組み付けられる構造であるため、外装部材の寸法誤差などの要因によりヘッドランプと外装部材との組み付け誤差が大きくなるおそれがある。この場合、例えば車両の車幅方向の対称性、すなわち車両の外観が損なわれるという問題がある。
【課題を解決するための手段】
【0009】
上記課題を解決するための車両の前部構造及び車両の前部構造の組み付け方法の各態様を記載する。
[態様1]
車幅方向に互いに離間して設けられる一対のヘッドランプと、一対の前記ヘッドランプの間に設けられる外装部材と、前記外装部材の車両後方に位置するとともに、前記ヘッドランプ及び前記外装部材が取り付けられる支持部材と、を備える車両の前部構造であって、前記外装部材は、車幅方向において前記ヘッドランプと当接する第1傾斜面を有し、前記ヘッドランプは、前記第1傾斜面に沿って傾斜する第2傾斜面を有し、前記第1傾斜面は、車幅方向の外側の部分ほど上方または下方に位置するように傾斜しており、前記支持部材は、前記外装部材が取り付けられる本体部と、前記本体部を車体に固定する本体固定部と、前記本体部の車幅方向の両端に連結され、一対の前記ヘッドランプがそれぞれ取り付けられる一対の取付部と、前記第1傾斜面と前記第2傾斜面とが互いに接触する位置において前記本体部に対して前記取付部を締結する締結部と、を有し、前記支持部材は、前記締結部により前記本体部と前記取付部との締結がされていない状態において、車幅方向における前記本体部に対する前記取付部の位置変更を許容する一方、車幅方向とは異なる方向における前記本体部に対する前記取付部の位置変更を規制することで前記本体部に対して前記取付部を支持する支持機構を備える、車両の前部構造。
【0010】
上記構成によれば、締結部により本体部と取付部との締結がされていない状態において、本体部に外装部材が取り付けられるとともに、一対の取付部に一対のヘッドランプがそれぞれ取り付けられる。また、支持機構により車幅方向における本体部に対する取付部の位置変更が許容される一方、車両の前後方向における本体部に対する取付部の位置変更が規制されることで、ヘッドランプを車幅方向の外側から外装部材に向けて移動させることができる。これにより、外装部材の第1傾斜面に対してヘッドランプの第2傾斜面を車幅方向の外側から接触させることができる。また、第1傾斜面と第2傾斜面とが互いに接触する位置において本体部と取付部とが締結部により締結される。こうして、本体部と取付部とが締結部により締結された状態の支持部材が、本体固定部により車体に固定される。したがって、外装部材とヘッドランプとの組み付け精度が向上する。
(【0011】以降は省略されています)
この特許をJ-PlatPat(特許庁公式サイト)で参照する
関連特許
豊田合成株式会社
積層体
12日前
豊田合成株式会社
調光装置
21日前
豊田合成株式会社
ガラスラン
1か月前
豊田合成株式会社
ガラスラン
1か月前
豊田合成株式会社
車両用ビーム
7日前
豊田合成株式会社
乗員保護装置
1か月前
豊田合成株式会社
車両用外装品
6日前
豊田合成株式会社
乗員保護装置
27日前
豊田合成株式会社
車両用外装品
8日前
豊田合成株式会社
機器制御装置
1か月前
豊田合成株式会社
車両用外装品
1か月前
豊田合成株式会社
車両用ビーム
7日前
豊田合成株式会社
検知システム
7日前
豊田合成株式会社
乗員保護装置
8日前
豊田合成株式会社
車両用照明装置
14日前
豊田合成株式会社
立体エアバッグ
1か月前
豊田合成株式会社
空調用レジスタ
1か月前
豊田合成株式会社
電動液体ポンプ
1か月前
豊田合成株式会社
電動液体ポンプ
1か月前
豊田合成株式会社
電動液体ポンプ
1か月前
豊田合成株式会社
電動液体ポンプ
1か月前
豊田合成株式会社
電動液体ポンプ
1か月前
豊田合成株式会社
車両用投影装置
14日前
豊田合成株式会社
エアバッグ装置
27日前
豊田合成株式会社
車両用投影装置
8日前
豊田合成株式会社
ステアリング装置
28日前
豊田合成株式会社
空調用レジスター
8日前
豊田合成株式会社
ステアリング装置
27日前
豊田合成株式会社
車両画像投影装置
12日前
豊田合成株式会社
ステアリング装置
29日前
豊田合成株式会社
車両の前部構造体
21日前
豊田合成株式会社
ステアリング装置
28日前
豊田合成株式会社
車両の音出力装置
14日前
豊田合成株式会社
把持検知システム
29日前
豊田合成株式会社
車両用空調ダクト
7日前
豊田合成株式会社
把持検知システム
1か月前
続きを見る
他の特許を見る