TOP
|
特許
|
意匠
|
商標
特許ウォッチ
Twitter
他の特許を見る
公開番号
2025160967
公報種別
公開特許公報(A)
公開日
2025-10-24
出願番号
2024063743
出願日
2024-04-11
発明の名称
オープニングトリムウェザストリップ
出願人
豊田合成株式会社
代理人
個人
,
個人
主分類
B60J
10/15 20160101AFI20251017BHJP(車両一般)
要約
【課題】 耐へたり性を改善し、シール性の低下、NV性能の悪化を防止すると共に、ドアを閉じる時の力を調整可能な樹脂製のオープニングトリムウェザストリップを提供する。
【課題を解決するための手段】
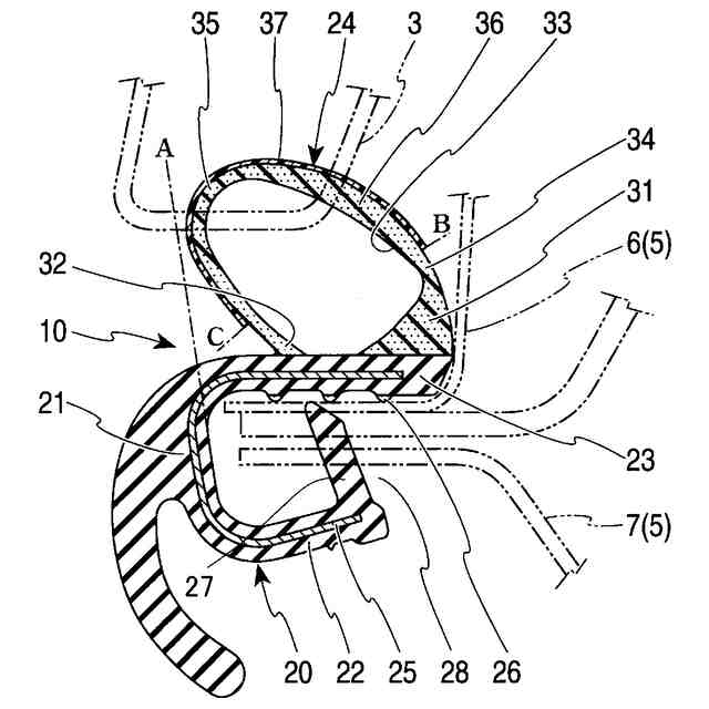
中空シール部24は、取付基部20より硬度の低い材料で形成され、車外側側壁23の開放部28と反対側の端部に連結する第1根元部31と、第1根元部31より底壁21側の車外側側壁23に連結する第2根元部32と、第1根元部31と第2根元部32に連結する中空壁部33を備え、第1根元部31は、中空壁部33方向に肉厚が薄くなる略三角形状に形成され、略三角形状の頂点部分において中空壁部33と連結する連結部34を備え、連結部34の中空壁部33側近傍と第2根元部32の中空壁部33側近傍の外側表面には、中空シール部24より硬度の高い被膜層37が形成されている。
【選択図】図3
特許請求の範囲
【請求項1】
車外側側壁と、車内側側壁と、前記車外側側壁と前記車内側側壁を連結する底壁とを備え、前記底壁とは反対側の端部の間が開放された開放部を備える断面略U字形状の取付基部と、前記取付基部の前記車外側側壁と一体化され、前記車外側側壁から離れる方向に凸状に突出する弧形状の中空シール部を備え、車体のフランジに取付けられる樹脂製のオープニングトリムウェザストリップであって、
前記中空シール部は、前記取付基部より硬度の低い材料で形成され、
前記車外側側壁の前記開放部と反対側の端部に連結する第1根元部と、前記第1根元部より前記底壁側の前記車外側側壁に連結する第2根元部と、前記第1根元部と前記第2根元部に接続する中空壁部を備え、
前記第1根元部は、前記中空壁部方向に肉厚が薄くなる形状に形成され、前記第1根元部の頂点部分において前記中空壁部と連結する連結部を備えることを特徴とする樹脂製のオープニングトリムウェザストリップ。
続きを表示(約 400 文字)
【請求項2】
前記中空壁部において、前記連結部より前記底壁側には、湾曲の程度が最大となる頂部を備え、前記連結部と前記頂部の間には、ドアと当接可能な肉厚部が形成されている請求項1に記載の樹脂製のオープニングトリムウェザストリップ。
【請求項3】
前記中空壁部の前記頂部は、前記第2根元部より前記底壁側、且つ前記底壁よりも前記開放部側に位置する請求項2に記載の樹脂製のオープニングトリムウェザストリップ。
【請求項4】
前記連結部の前記中空壁部側近傍と前記第2根元部の前記中空壁部側近傍の間の外側表面には、前記中空シール部より硬度の高い被膜層が形成されている請求項1又は請求項2に記載の樹脂製のオープニングトリムウェザストリップ。
【請求項5】
前記被膜層の硬度は、前記取付基部の硬度より高い請求項4に記載の樹脂製のオープニングトリムウェザストリップ。
発明の詳細な説明
【技術分野】
【0001】
本発明は、自動車のドア等によって開閉される開口部に配設され、開口部の周縁に形成されたフランジに取付けられる樹脂製のオープニングトリムウェザストリップに関するものである。
続きを表示(約 1,700 文字)
【背景技術】
【0002】
近年、カーボンニュートラルのニーズの高まりにより、自動車のゴム部品を製造する際に発生する二酸化炭素削減のため、オープニングトリムウェザストリップを含むウェザストリップにおいてもゴム部材から樹脂部材への転換が要望されている。
【0003】
例えば、図5には、車体開口部周縁に設けられているフランジ500のリヤ側縦辺部に取付けられる取付基部200と、取付基部200に一体的に設けられ、ドアに当接してドアと車体開口部周縁との間をシールする中空シール部240を有するオープニングトリムウェザストリップ100が記載されている(特許文献1)。
【0004】
中空シール部240は、第1側部シール壁310、第2側部シール壁320と当接部シール壁330から構成され、第1側部シール壁310と第2側部シール壁320はソリッド材で一体的に取付基部200から車外方向に突出して形成され、当接部シール壁330は、第1側部シール壁310と第2側部シール壁320の先端を連結するように断面円弧状に突出して形成され、スポンジ材で形成されている。
【0005】
又、乗員が自動車に乗降する際に、乗員の胴体(背中、腰)と頭部の部分が中空シール部240と接触し易い部分の中空シール部240の表面には、ソリッド材で形成された中空シール表皮層340が形成されている。中空シール表皮層340の肉厚は、0.3mm~0.5mmである。又、中空シール表皮層340は、リヤ側縦辺部以外の部位にも形成され、その部分の中空シール表皮層340の厚さは、上記の数値より小さい。その結果、中空シール部240の表面を平滑なソリッド層で覆うことにより、車外側からの見栄えを良くすることができ、中空シール表皮層340により耐摩耗性を向上させることができる。
【0006】
又、上記の特許文献1には、中空シール部240は、EPDMゴム又はオレフィン系熱可塑性エラストマーのスポンジ材で形成される旨も記載されている。
【0007】
図6には、車体パネル102(フランジ)に装着される本体部103と、車体パネル102の隙間をシールする片持ち梁状のシール部105、107、及び中空筒状のシール部106とを備え、シール部105、106、107は、車体パネル102に装着された状態において車体パネル102に弾接するバックドアオープニングトリム101において、シール部105、106、107は、オレフィンブロックコポリマーを含有する熱可塑性エラストマーにより成形されている旨が記載されている(特許文献2)。
【先行技術文献】
【特許文献】
【0008】
特開2010-149838号公報
特開2018-132097号公報
【発明の概要】
【発明が解決しようとする課題】
【0009】
上記の特許文献1には、中空シール部に関し、EPDMゴム又はオレフィン系熱可塑性エラストマーのスポンジ材とすることができるとの記載はあるが、ゴムから熱可塑性エラストマーに変更する場合、熱可塑性エラストマーでは、ゴムに比較してへたり易い、すなわち、圧縮が動的または静的に一定時間加えられた時の回復力が低下する傾向にあり、単純な材料の置き換えでは、中空シール部において、へたりの発生により、シール性の低下、NV(Noise Vibration;騒音、振動)性能の悪化につながる。又、特許文献2は材料面について記載されているが、構造、形状面の検討も必要である。
【課題を解決するための手段】
【0010】
本発明は、オープニングトリムウェザストリップを樹脂化するに当たり、特に構造、形状面の改良により、耐へたり性を改善し、シール性の低下、NV(Noise Vibration;騒音、振動)性能の悪化を防止すると共に、ドアを閉じる時の力を調整することが可能な樹脂製のオープニングトリムウェザストリップを提供するものである。
(【0011】以降は省略されています)
この特許をJ-PlatPat(特許庁公式サイト)で参照する
関連特許
豊田合成株式会社
積層体
12日前
豊田合成株式会社
着座装置
1か月前
豊田合成株式会社
殺菌装置
1か月前
豊田合成株式会社
調光装置
21日前
豊田合成株式会社
半導体素子
1か月前
豊田合成株式会社
ガラスラン
1か月前
豊田合成株式会社
ガラスラン
1か月前
豊田合成株式会社
ガラスラン
1か月前
豊田合成株式会社
車両用外装品
8日前
豊田合成株式会社
車両用外装品
1か月前
豊田合成株式会社
機器制御装置
1か月前
豊田合成株式会社
乗員保護装置
27日前
豊田合成株式会社
乗員保護装置
1か月前
豊田合成株式会社
車両用内装品
1か月前
豊田合成株式会社
車両用内装品
1か月前
豊田合成株式会社
乗員保護装置
8日前
豊田合成株式会社
樹脂成形装置
1か月前
豊田合成株式会社
検知システム
7日前
豊田合成株式会社
車両用外装品
6日前
豊田合成株式会社
流体殺菌装置
1か月前
豊田合成株式会社
流体殺菌装置
1か月前
豊田合成株式会社
車両用ビーム
7日前
豊田合成株式会社
車両用ビーム
7日前
豊田合成株式会社
空調用レジスタ
1か月前
豊田合成株式会社
エアバッグ装置
27日前
豊田合成株式会社
電動液体ポンプ
1か月前
豊田合成株式会社
電動液体ポンプ
1か月前
豊田合成株式会社
電動液体ポンプ
1か月前
豊田合成株式会社
電動液体ポンプ
1か月前
豊田合成株式会社
車両用照明装置
14日前
豊田合成株式会社
電動液体ポンプ
1か月前
豊田合成株式会社
立体エアバッグ
1か月前
豊田合成株式会社
空調用レジスタ
1か月前
豊田合成株式会社
立体エアバッグ
1か月前
豊田合成株式会社
車両用投影装置
14日前
豊田合成株式会社
空調用レジスタ
1か月前
続きを見る
他の特許を見る