TOP
|
特許
|
意匠
|
商標
特許ウォッチ
Twitter
他の特許を見る
10個以上の画像は省略されています。
公開番号
2025160457
公報種別
公開特許公報(A)
公開日
2025-10-22
出願番号
2025130017,2024074668
出願日
2025-08-04,2020-04-30
発明の名称
点灯式ステータスインジケータを備えるエアロゾル発生装置
出願人
ジェイティー インターナショナル エスエイ
代理人
個人
,
個人
,
個人
,
個人
主分類
A24F
40/60 20200101AFI20251015BHJP(たばこ;葉巻たばこ;紙巻たばこ;喫煙具)
要約
【課題】点灯式ステータスインジケータを有するエアロゾル発生装置が提供される。
【解決手段】エアロゾル発生装置100は、クロージャの位置を検出する検出器から受信した信号をCPU130に供給する検出器モジュール138と、ユーザ入力のアクションを受け入れるためのボタン又はスイッチであるユーザ入力デバイスと、を備え、ユーザ入力デバイスから受信した信号をCPUに供給するユーザ入力モジュール142と、ユーザへ情報を表示するように構成されるLEDインターフェースを有するステータスインジケータとを備える。
【選択図】図3
特許請求の範囲
【請求項1】
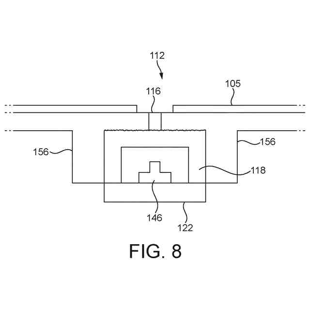
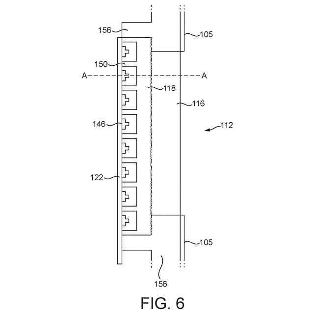
不透明でない窓部(112)を有する体部(102)と、
前記体部(102)の内側に配置された光源(146)の配列と、
光源(118)の前記配列と前記不透明でない窓部(112)との間に配置された光拡散体(118)と、
前記光源(146)の間に延びる複数の壁(150)と
を備える、エアロゾル発生装置(100)。
続きを表示(約 770 文字)
【請求項2】
前記複数の壁(150)が光拡散材料を備える、請求項1に記載のエアロゾル発生装置(100)。
【請求項3】
前記光拡散体(118)が、前記複数の壁(150)と同じ光拡散材料を備える、請求項2に記載のエアロゾル発生装置(100)。
【請求項4】
前記光拡散体(118)及び前記複数の壁(150)が単一連続片を備える、請求項3に記載のエアロゾル発生装置(100)。
【請求項5】
前記光拡材料が白色半透明材料、好ましくはポリカーボネートである、請求項2~4のいずれか一項に記載のエアロゾル発生装置(100)。
【請求項6】
前記光源(146)が、前記不透明でない窓部(112)に向けて光を導くように構成される、請求項1~5のいずれか一項に記載のエアロゾル発生装置(100)。
【請求項7】
前記光拡散体(118)が、前記光源(146)からの光を受け、前記不透明でない窓部(112)に向けて透過するように構成される、請求項1~6のいずれか一項に記載のエアロゾル発生装置(100)。
【請求項8】
前記壁(150)が、前記光源(146)から斜めに放出された光を受けて、各光源(146)からの前記光の前記配列に沿った漏出を制限するように構成される、請求項1~7のいずれか一項に記載のエアロゾル発生装置(100)。
【請求項9】
光源(146)の前記配列が直線配列である、請求項1~8のいずれか一項に記載のエアロゾル発生装置(100)。
【請求項10】
前記配列の前記光源(146)が発光ダイオードである、請求項1~9のいずれか一項に記載のエアロゾル発生装置(100)。
(【請求項11】以降は省略されています)
発明の詳細な説明
【技術分野】
【0001】
本開示は、点灯式ステータスインジケータを備えるエアロゾル発生装置に関する。本開示は、特に、ただし限定的にではなく、自蔵式であり得る携帯型エアロゾル発生装置に適用可能であり、より詳細には、タバコ又は他の適切な材料を、燃やすよりはむしろ、伝導、対流、及び/又は放射によって加熱して吸入用のエアロゾルを発生する装置に関する。
続きを表示(約 2,200 文字)
【背景技術】
【0002】
(気化器としても知られる)リスク低減装置又はリスク修正装置の人気及び使用は、紙巻きタバコ、葉巻、シガリロ、及びローリングタバコなどの従来のタバコ製品の喫煙を止めようと望む常習的喫煙者を支援するための手助けとして、ここ数年で急速に成長してきた。従来のタバコ製品におけるようにタバコを燃やすのとは対照的に、エアロゾル基質を加熱又は撹拌して吸入用のエアロゾル及び/又は蒸気を発生させるための様々な装置及びシステムが入手可能である。
【0003】
リスク低減装置又はリスク修正装置の一種には、加熱式基質エアロゾル発生装置又は加熱非燃焼式(heat-not-burn)装置がある。この種の装置は、典型的には湿った葉タバコである固体エアロゾル基質を、典型的には150℃~300℃の範囲の温度に加熱することによってエアロゾル及び/又は蒸気を発生させる。エアロゾル基質を燃焼させる又は燃やすのではなく加熱することにより、ユーザが求める成分は含むが、燃焼及び燃やすことによる有毒で発癌性の副生成物は含まないエアロゾル及び/又は蒸気が放出される。更に、エアロゾル基質、例えばタバコを加熱することによって発生するエアロゾル又は蒸気は、ユーザにとって不快であり得る燃焼及び焦げに起因する焦げ又は苦味を一般に含まない。つまり、エアロゾル基質は、煙及び/又は蒸気をユーザにとってより口当たりよくするために、従来のタバコ製品のタバコに一般に添加されている砂糖又は他の添加物を必要としない。
【0004】
一般に、「喫煙」セッションの際に使用するために、エアロゾル基質の一部分がエアロゾル発生装置において供給される。その部分が使用されると、例えば、その部分からのエアロゾル及び/又は蒸気の有用な放出が完了すると、ユーザのセッションは終了し、次のセッションを開始するために、エアロゾル発生装置にエアロゾル基質の新しい部分が供給される。携帯型エアロゾル発生装置は、ユーザによって一日中携帯されることが多く、エアロゾル及び/又は蒸気を発生させるために装置において利用可能なエネルギーの限界、例えばバッテリの容量などを条件として、複数セッション使用され得る。したがって、装置のバッテリレベルをユーザに示して、それにより、ユーザが装置を充電した状態に維持することができるようにすることが望ましい。また、例えばエアロゾル基質の部分を使い切るまでなどのセッションにおける残り時間、又は装置の加熱ステータス、又は任意の他の有用な情報(例えば、基質の正しい挿入、クロージャの開閉ステータス、エラーモード、無線通信モードなど)など、他の有用な情報をユーザに示すことも望ましい。
【0005】
携帯型エアロゾル発生装置は、ユーザにとって極めて個人的なものであり、一日中頻繁に緊密に使用され、例えば、近くで取り扱われ、ユーザの顔に近くに寄せられる。したがって、装置の見た目及び感触は非常に重要であり、特に、ユーザが装置のオンオフなどの指示をどのように入力するか、また装置がどのように自らのステータスをユーザに示すかは重要である。そのため、装置のステータスインジケータの美的特性は重要である。同時に、エアロゾル発生装置は一般に小型であり、つまり、小型で正確且つ直感的なステータスインジケータを有することと、ステータスインジケータのあらゆる電力消費量が少ないことが確保されることとが望ましい場合がある。これらの要件は互いに矛盾することがあ
ることが理解されよう。
【0006】
中国実用新案第207978948号明細書は、単一の発光ダイオード(LED)を組み込んだ電子タバコ装置を説明している。このLEDは、限られたステータス情報しかユーザに伝えられない。欧州特許第2727619号明細書は、同様に、単一のLEDを有する電子気化装置を説明している。点滅や複数色など、LEDを点灯させる様々なモードが説明されている。
【発明の概要】
【課題を解決するための手段】
【0007】
本開示の態様が添付の特許請求の範囲に提示される。
【0008】
本開示の一態様によれば、
不透明でない窓部を有する体部と、
体部の内側に配置された光源の配列と、
光源の配列と不透明でない窓部との間に配置された光拡散体と、
光源の間に延びる複数の壁と
を備える、エアロゾル発生装置が提供される。
【0009】
エアロゾル発生装置に光拡散体と複数の壁とを設けることにより、光源の配列から不透明でない窓部を通して導かれた光が、隣接する光源の点灯される数が増えるにつれてサイズが滑らかに増大する光の塊として見えるようになり得る。壁は、個々の光源からの光が配列に沿って漏出することを制限し、一方、拡散体は、隣接又は近接する光源からの光を結合させて、窓部において連続した又は一様な光の領域として見えるようにする。これにより、エレガントで視覚的に魅力的な仕方で配列によって様々な情報をユーザに示すことができる。
【0010】
任意選択で、複数の壁は光拡散材料を備える。光拡散体は、複数の壁と同じ光拡散材料を備え得る。一例では、光拡散体及び複数の壁は単一連続片を備える。
(【0011】以降は省略されています)
この特許をJ-PlatPat(特許庁公式サイト)で参照する
関連特許
日本たばこ産業株式会社
香味吸引物品
1か月前
日本たばこ産業株式会社
口腔用組成物
2か月前
日本たばこ産業株式会社
喫煙システム
2か月前
日本たばこ産業株式会社
香味発生物品
1か月前
東莞市佳かい精密金属制品有限公司
充電可能な電子タバコケース
3か月前
日本たばこ産業株式会社
香味吸引システム
2か月前
日本たばこ産業株式会社
香味吸引システム
2か月前
Future Technology株式会社
エアロゾル吸引カートリッジ
1か月前
日本たばこ産業株式会社
低香味原料を含むたばこセグメント
1か月前
Future Technology株式会社
たばこ用組成物、E-リキッド、たばこ製品
6日前
日本たばこ産業株式会社
香味発生物品および香味吸引システム
2か月前
日本たばこ産業株式会社
粒状再生セルロースを含有する口腔用組成物
2か月前
日本たばこ産業株式会社
電子装置
3か月前
日本たばこ産業株式会社
吸引器
3か月前
Future Technology株式会社
芳香基材
3か月前
Future Technology株式会社
喫煙器具
1か月前
日本たばこ産業株式会社
たばこ材料、その製造方法、および非燃焼加熱型喫煙物品
1か月前
Future Technology株式会社
芳香カートリッジ
21日前
Future Technology株式会社
タバコ充填物集積体
2か月前
Future Technology株式会社
喫煙具用カートリッジ
2か月前
Future Technology株式会社
喫煙具用カートリッジ
3か月前
Future Technology株式会社
喫煙具用カートリッジ
2か月前
Future Technology株式会社
喫煙具用カートリッジ
1か月前
Future Technology株式会社
喫煙具用カートリッジ
3か月前
Future Technology株式会社
喫煙具用カートリッジ
3か月前
Future Technology株式会社
喫煙具用カートリッジ
3か月前
Future Technology株式会社
被加熱芳香カートリッジ
1か月前
Future Technology株式会社
電子タバコカートリッジ
2か月前
Future Technology株式会社
電子タバコカートリッジ
2か月前
Future Technology株式会社
電子タバコカートリッジ
3か月前
Future Technology株式会社
電子タバコカートリッジ
2か月前
Future Technology株式会社
電子タバコカートリッジ
12日前
シェンチェン ギークベイプ テクノロジー カンパニー リミテッド
電子霧化装置
3か月前
Future Technology株式会社
加熱式タバコ用カートリッジ
2か月前
Future Technology株式会社
加熱式タバコ用カートリッジ
1か月前
ケーティー アンド ジー コーポレイション
エアロゾル生成システム
21日前
続きを見る
他の特許を見る