TOP
|
特許
|
意匠
|
商標
特許ウォッチ
Twitter
他の特許を見る
10個以上の画像は省略されています。
公開番号
2025160429
公報種別
公開特許公報(A)
公開日
2025-10-22
出願番号
2025129030,2025083029
出願日
2025-08-01,2019-04-25
発明の名称
後処理遅延低減との高周波再構成技術の統合
出願人
ドルビー・インターナショナル・アーベー
代理人
弁理士法人ITOH
主分類
G10L
21/0388 20130101AFI20251015BHJP(楽器;音響)
要約
【課題】 符号化されたオーディオビットストリームを復号する方法が開示される。
【解決手段】 当該方法は、符号化されたオーディオビットストリームを受信し、オーディオデータを復号して、復号された低帯域オーディオ信号を生成することを含む。当該方法は更に、高周波再構成メタデータを抽出し、復号された低帯域オーディオ信号を分析フィルタバンクでフィルタリングして、フィルタリングされた低帯域オーディオ信号を生成することを含む。当該方法はまた、オーディオデータに対してスペクトル変換又は高調波トランスポジションのいずれが実行されるべきかを指し示すフラグを抽出し、該フラグに従って、フィルタリングされた低帯域オーディオ信号及び高周波再構成メタデータを用いてオーディオ信号の高帯域部分を再生成することを含む。この高周波再生成は、オーディオチャンネル当たり3010サンプルの遅延で後処理動作として実行される。
【選択図】 図5
特許請求の範囲
【請求項1】
オーディオ信号の高周波再構成を実行する方法であって、当該方法は、
符号化されたオーディオビットストリームを受信し、該符号化されたオーディオビットストリームは、前記オーディオ信号の低帯域部分を表すオーディオデータと、高周波再構成メタデータとを含み、該符号化されたオーディオビットストリームは更に充填要素を含み、該充填要素は、該充填要素の始まりを指し示す識別子と、該識別子の後の充填データとを有し、該充填データは後方互換拡張コンテナを含み、前記識別子は、最上位ビットが先に伝送され且つ0x6の値を持つ3ビット符号なし整数であり、
前記オーディオデータを復号して、復号された低帯域オーディオ信号を生成し、
前記符号化されたオーディオビットストリームから前記高周波再構成メタデータを抽出し、前記高周波再構成メタデータは、高周波再構成プロセスのための動作パラメータを含み、該動作パラメータは、前記符号化されたオーディオビットストリームの前記後方互換拡張コンテナ内に置かれたパッチングモードパラメータを含み、該パッチングモードパラメータの第1の値は、スペクトル変換を指し示し、該パッチングモードパラメータの第2の値は、位相ボコーダ周波数拡散による高調波トランスポジションを指し示し、
前記復号された低帯域オーディオ信号をフィルタリングして、フィルタリングされた低帯域オーディオ信号を生成し、
前記フィルタリングされた低帯域オーディオ信号及び前記高周波再構成メタデータを用いて、前記オーディオ信号の高帯域部分を再生成し、当該再生成することは、前記パッチングモードパラメータが前記第1の値である場合にスペクトル変換を含み、当該再生成することは、前記パッチングモードパラメータが前記第2の値である場合に位相ボコーダ周波数拡散による高調波トランスポジションを含み、前記パッチングモードパラメータが前記第1の値に等しいときに、前記後方互換拡張コンテナは更に、前記高帯域部分のスペクトルエンベロープの形状における不連続を回避するために追加の前処理が使用されるかを指し示すフラグを含み、前記再生成することは、第1の値の前記フラグに応答して前記追加の前処理を実行することを含み、
前記フィルタリングされた低帯域オーディオ信号を前記再生成された高帯域部分と組み合わせて、広帯域オーディオ信号を形成する、
ことを有し、
前記フィルタリングすること、前記再生成すること、及び前記組み合わせることは、オーディオチャンネル当たり3010サンプルの遅延で後処理動作として実行され、その結果、合成時間が合成ユニット内の3011番目のオーディオサンプルに適用される、
方法。
続きを表示(約 1,600 文字)
【請求項2】
位相ボコーダ周波数拡散による前記高調波トランスポジションは、毎秒450万演算以下及び3kワード以下のメモリの推定複雑度で実行される、請求項1に記載の方法。
【請求項3】
命令を有する非一時的なコンピュータ読み取り可能媒体であって、前記命令は、コンピューティング装置又はシステムによって実行されるときに、該コンピューティング装置又はシステムに、請求項1に記載の方法を実行させる、非一時的なコンピュータ読み取り可能媒体。
【請求項4】
オーディオ信号の高周波再構成を実行するオーディオ処理ユニットであって、当該オーディオ処理ユニットは、
符号化されたオーディオビットストリームを受信する入力インタフェースであり、前記符号化されたオーディオビットストリームは、前記オーディオ信号の低帯域部分を表すオーディオデータと、高周波再構成メタデータとを含み、前記符号化されたオーディオビットストリームは更に充填要素を含み、該充填要素は、該充填要素の始まりを指し示す識別子と、該識別子の後の充填データとを有し、該充填データは後方互換拡張コンテナを含み、前記識別子は、最上位ビットが先に伝送され且つ0x6の値を持つ3ビット符号なし整数である、入力インタフェースと、
前記オーディオデータを復号して、復号された低帯域オーディオ信号を生成するコアオーディオデコーダと、
前記符号化されたオーディオビットストリームから前記高周波再構成メタデータを抽出するデフォーマッタであり、前記高周波再構成メタデータは、高周波再構成プロセスのための動作パラメータを含み、該動作パラメータは、前記符号化されたオーディオビットストリームの前記後方互換拡張コンテナ内に置かれたパッチングモードパラメータを含み、該パッチングモードパラメータの第1の値は、スペクトル変換を指し示し、該パッチングモードパラメータの第2の値は、位相ボコーダ周波数拡散による高調波トランスポジションを指し示す、デフォーマッタと、
前記復号された低帯域オーディオ信号をフィルタリングして、フィルタリングされた低帯域オーディオ信号を生成する分析フィルタバンクと、
前記フィルタリングされた低帯域オーディオ信号及び前記高周波再構成メタデータを用いて、前記オーディオ信号の高帯域部分を再構成する高周波リジェネレータであり、前記再構成することは、前記パッチングモードパラメータが前記第1の値である場合にスペクトル変換を含み、前記再構成することは、前記パッチングモードパラメータが前記第2の値である場合に位相ボコーダ周波数拡散による高調波トランスポジションを含み、前記パッチングモードパラメータが前記第1の値に等しいときに、前記後方互換拡張コンテナは更に、前記高帯域部分のスペクトルエンベロープの形状における不連続を回避するために追加の前処理が使用されるかを指し示すフラグを含み、前記再構成することは、第1の値の前記フラグに応答して前記追加の前処理を実行することを含む、高周波リジェネレータと、
前記フィルタリングされた低帯域オーディオ信号を前記再構成された高帯域部分と組み合わせて、広帯域オーディオ信号を形成する合成フィルタバンクと、
を有し、
前記分析フィルタバンク、前記高周波リジェネレータ、及び前記合成フィルタバンクは、オーディオチャンネル当たり3010サンプルの遅延でポストプロセッサにて実行され、その結果、合成時間が合成ユニット内の3011番目のオーディオサンプルに適用される、
オーディオ処理ユニット。
【請求項5】
位相ボコーダ周波数拡散による前記高調波トランスポジションは、毎秒450万演算以下及び3kワード以下のメモリの推定複雑度で実行される、請求項4に記載のオーディオ処理ユニット。
発明の詳細な説明
【技術分野】
【0001】
この出願は、2018年4月25日に出願された欧州特許出願第18169156.9号に対する優先権を主張するものであり、それをここに援用する。
続きを表示(約 3,300 文字)
【0002】
実施形態は、オーディオ信号処理に関し、より具体的には、基本形式の高周波再構成(high frequency reconstruction;“HFR”)又は強化形式のHFRのいずれがオーディオデータに対して実行されるべきかを指定する制御データを有するオーディオビットストリームの符号化、復号、又はトランスコーディングに関する。
【背景技術】
【0003】
典型的なオーディオビットストリームは、オーディオコンテンツの1つ以上のチャンネルを示すオーディオデータ(例えば、符号化されたオーディオデータ)と、オーディオデータ又はオーディオコンテンツの少なくとも1つの特徴を示すメタデータとの双方を含んでいる。符号化されたオーディオビットストリームを生成するためのよく知られた1つのフォーマットは、MPEG規格ISO/IEC 14496-3:2009に記載された、MPEG-4 Advanced Audio Coding(AAC)フォーマットである。MPEG-4規格において、AACは“Advanced Audio Coding”を表し、HE-AACは“High-Efficiency Advanced Audio Coding”を表す。
【0004】
MPEG-4 AAC規格は、準拠したエンコーダ又はデコーダにどのオブジェクト及び符号化ツールが存在するかを決定するものである幾つかのオーディオプロファイルを規定している。それらのオーディオプロファイルのうちの3つは、(1)AACプロファイル、(2)HE-AACプロファイル、及び(3)HE-AAC v2プロファイルである。AACプロファイルは、AAC low complexity(すなわち、“AAC-LC”)オブジェクトタイプを含む。AAC-LCオブジェクトは、若干の調整を加えられた、MPEG-2 AAC low complexityプロファイルに対応するものであり、スペクトルバンド複製(“SBR”)オブジェクトタイプ及びパラメトリックステレオ(“PS”)オブジェクトタイプのいずれも含まない。HE-AACプロファイルは、AACプロファイルの上位集合であり、SBRオブジェクトタイプを更に含む。HE-AAC v2プロファイルは、HE-AACプロファイルの上位集合であり、PSオブジェクトタイプを更に含む。
【0005】
SBRオブジェクトタイプはスペクトルバンド複製ツールを含み、これは、知覚的オーディオコーデックの圧縮効率を有意に改善する重要な高周波再構成(“HFR”)符号化ツールである。SBRは、受信器側(例えば、デコーダ内)でオーディオ信号の高周波成分を再構成する。従って、エンコーダは、低周波成分を符号化して送信することを必要とするのみであり、低いデータレートで遥かに高いオーディオ品質を可能にする。SBRは、エンコーダから得られた制御データ及び利用可能な限られた帯域幅の信号からの、データレートを低減させるために以前に切り捨てられた高調波のシーケンスの複製に基づく。音調(tonal)成分と雑音ライク(noise-like)成分との間の比が、適応逆フィルタリングと、オプションでの雑音及び正弦波の付加とによって維持される。MPEG-4 AAC規格において、SBRツールは、スペクトルパッチング(線形変換又はスペクトル変換とも呼ばれる)を実行し、それにおいて、オーディオ信号の送信された低帯域部分からオーディオ信号の高帯域部分に多数の連続した直交ミラーフィルタ(QMF)サブバンドが複製(又は“パッチ”)され、それがデコーダ内で生成される。
【0006】
スペクトルパッチング又は線形変換は、例えば比較的低いクロスオーバー周波数を持つ音楽コンテンツなどの、ある一定のオーディオタイプには理想的ではないことがある。従って、スペクトルバンド複製を改善する技術が望まれる。
【発明の概要】
【0007】
第1のクラスの実施形態は、符号化されたオーディオビットストリームを復号する方法に関する。当該方法は、符号化されたオーディオビットストリームを受信し、オーディオデータを復号して、復号された低帯域オーディオ信号を生成することを含む。当該方法は更に、高周波再構成メタデータを抽出し、復号された低帯域オーディオ信号を分析フィルタバンクでフィルタリングして、フィルタリングされた低帯域オーディオ信号を生成することを含む。当該方法は更に、オーディオデータに対してスペクトル変換又は高調波トランスポジションのいずれが実行されるべきかを指し示すフラグを抽出し、該フラグに従って、フィルタリングされた低帯域オーディオ信号及び高周波再構成メタデータを用いてオーディオ信号の高帯域部分を再生成することを含む。最後に、当該方法は、フィルタリングされた低帯域オーディオ信号と再生成された高帯域部分と組み合わせて、広帯域オーディオ信号を形成することを含む。
【0008】
第2のクラスの実施形態は、符号化されたオーディオビットストリームを復号するオーディオデコーダに関する。当該デコーダは、符号化されたオーディオビットストリームを受信する入力インタフェースであり、符号化されたオーディオビットストリームは、オーディオ信号の低帯域部分を表すオーディオデータを含む、入力インタフェースと、オーディオデータを復号して、復号された低帯域オーディオ信号を生成するコアデコーダと、を含む。当該デコーダはまた、符号化されたオーディオビットストリームから高周波再構成メタデータを抽出するデマルチプレクサであり、高周波再構成メタデータは、オーディオ信号の低帯域部分からオーディオ信号の高帯域部分へと、連続数のサブバンドを線形変換する高周波再構成プロセスのための動作パラメータを含む、デマルチプレクサと、復号された低帯域オーディオ信号をフィルタリングして、フィルタリングされた低帯域オーディオ信号を生成する分析フィルタバンクと、を含む。当該デコーダは更に、符号化されたオーディオビットストリームから、オーディオデータに対して線形変換又は高調波トランスポジションのいずれが実行されるべきかを指し示すフラグを抽出するデマルチプレクサと、該フラグに従って、フィルタリングされた低帯域オーディオ信号及び高周波再構成メタデータを用いて、オーディオ信号の高帯域部分を再生成する高周波リジェネレータと、を含む。最後に、当該デコーダは、フィルタリングされた低帯域オーディオ信号と再生成された高帯域部分と組み合わせて、広帯域オーディオ信号を形成する合成フィルタバンクを含む。
【0009】
他のクラスの実施形態は、エンハンストスペクトルバンド複製(enhanced spectral band replication;eSBR)処理が実行されるべきかを特定するメタデータを含むオーディオビットストリームを符号化及びトランスコーディングすることに関する。
【図面の簡単な説明】
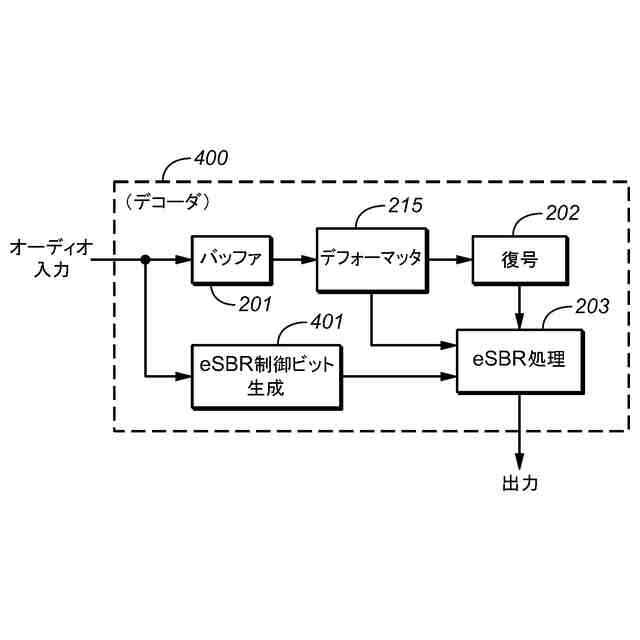
【0010】
発明方法の一実施形態を実行するように構成され得るシステムの一実施形態のブロック図である。
発明オーディオ処理ユニットの一実施形態であるエンコーダのブロック図である。
発明オーディオ処理ユニットの一実施形態であるデコーダを含み、及びオプションで、それに結合されたポストプロセッサを含むシステムのブロック図である。
発明オーディオ処理ユニットの一実施形態であるデコーダのブロック図である。
発明オーディオ処理ユニットの他の一実施形態であるデコーダのブロック図である。
発明オーディオ処理ユニットの他の一実施形態のブロック図である。
MPEG-4 AACビットストリーム(それが分割されるセグメントを含む)のブロックの図である。
【発明を実施するための形態】
(【0011】以降は省略されています)
この特許をJ-PlatPat(特許庁公式サイト)で参照する
関連特許
個人
遮音材
1日前
個人
管楽器用リガチャ-
18日前
個人
歌唱補助器具
10日前
個人
音声出力装置
1日前
大和ハウス工業株式会社
音低減設備
11日前
DIC株式会社
吸音材及び吸音部品
12日前
NOK株式会社
吸音構造体
3日前
横浜ゴム株式会社
多層空洞音響材
1日前
矢崎総業株式会社
車両用対話システム
2日前
株式会社SinasSP
自動騒音低減装置
23日前
カシオ計算機株式会社
発音装置、発音方法及びプログラム
25日前
トヨタ自動車株式会社
判定装置
25日前
株式会社第一興商
カラオケ装置
2日前
株式会社第一興商
カラオケ装置
1か月前
日本軽金属株式会社
遮音壁
1か月前
ブラザー工業株式会社
カラオケ装置及びカラオケプログラム
1か月前
シャープ株式会社
電子機器および電子機器の制御方法
1か月前
ブラザー工業株式会社
カラオケ用プログラム、及び、カラオケ装置
29日前
株式会社JVCケンウッド
収音装置、収音方法、およびプログラム
25日前
大建工業株式会社
吸音体及び音環境調整構造
25日前
ブラザー工業株式会社
音声録音装置、及び、音声録音用プログラム
29日前
有限会社ツバサ
エレキギターおよび保護フィルム付きの樹脂プレート
23日前
株式会社河合楽器製作所
鍵盤楽器の鍵盤装置
1か月前
有限会社 宮脇工房
モーター挙動音発生装置
10日前
株式会社NTTドコモ
情報処理装置及び情報処理方法
1か月前
株式会社リコー
対話装置、対話システム、対話方法及びプログラム
29日前
株式会社SUBARU
乗物用遮音構造体、及び車両
22日前
株式会社河合楽器製作所
鍵盤楽器の楽音制御装置
1か月前
株式会社河合楽器製作所
鍵盤楽器の楽音制御方法
1か月前
株式会社河合楽器製作所
鍵盤楽器の楽音制御方法
1か月前
大阪瓦斯株式会社
音声情報出力システムおよび音声情報出力装置
1か月前
本田技研工業株式会社
能動型振動騒音低減装置
1か月前
本田技研工業株式会社
能動型振動騒音低減装置
1か月前
本田技研工業株式会社
能動型振動騒音制御装置
29日前
本田技研工業株式会社
能動型振動騒音制御装置
29日前
カシオ計算機株式会社
情報処理装置、方法およびプログラム
25日前
続きを見る
他の特許を見る