TOP
|
特許
|
意匠
|
商標
特許ウォッチ
Twitter
他の特許を見る
公開番号
2025160389
公報種別
公開特許公報(A)
公開日
2025-10-22
出願番号
2025127114,2023120002
出願日
2025-07-30,2023-07-24
発明の名称
筒型送風機
出願人
株式会社遠藤照明
代理人
主分類
F04D
29/66 20060101AFI20251015BHJP(液体用容積形機械;液体または圧縮性流体用ポンプ)
要約
【課題】空気吹出口を出る空気流の拡散が小さい筒型送風機において、騒音を低減すること。
【解決手段】後端に空気吸入口120、前端に空気吹出口130が設けられた筒110と、筒110の内部に設けられたファン152と、筒が回転可能に設置されるように筒に取り付けられたアーム170を備え、筒110の前後方向及び左右方向に直交する方向を上下方向として、筒110の下側に、騒音を低減する貫通穴を備える。
【選択図】図1
特許請求の範囲
【請求項1】
後端に空気吸入口、前端に空気吹出口が設けられた筒と、
前記筒の内部に設けられたファンと、
前記筒が回転可能に設置されるように、前記筒に取り付けられたアームを備え、
前記筒の前後方向及び左右方向に直交する方向を上下方向として、前記筒の下側に、騒音を低減する貫通穴を備える、
筒型送風機。
続きを表示(約 60 文字)
【請求項2】
前記貫通穴は、前後方向に縦長であり複数設けられている
請求項1記載の筒型送風機。
発明の詳細な説明
【技術分野】
【0001】
本発明は、筒型送風機に関する。
続きを表示(約 1,200 文字)
【背景技術】
【0002】
筒型送風機は、例えばトンネル用送風機や、ドライヤー・空気清浄機などの送風機応用製品において、空気流の拡散が少なく、限られた領域に風の流れを作る送風機として用いられる。
【0003】
特許文献1には、ハウジングを備え、その第1端部に空気吸込口、第2端部に空気吹出口を有し、その間に回転ファン及び空気案内用のベーン(整流板)を備えた、空気流の拡散が小さい空気流発生装置が開示されている。回転ファンは羽根を備え、羽根の数とベーンの数を変えることにより騒音の低減が図れるとされている。
【先行技術文献】
【特許文献】
【0004】
特表2007-529681号公報
【発明の概要】
【発明が解決しようとする課題】
【0005】
本発明者は、比較的静かな環境であるオフィス等において使用でき、人のいる場所など特定の場所に送風するため、向きを変えることのできる送風機を開発している。その際、向きを変えるために送風機の筐体が露出しているため、天井埋込型の送風機と比べて騒音が気になる場合がある。そこで、本発明者は、空気流の拡散が少ない筒型送風機を開発するにあたって、騒音の低減を図ることを開発課題とした。
【課題を解決するための手段】
【0006】
本発明は、
後端に空気吸入口、前端に空気吹出口が設けられた筒と、
前記筒の内部に設けられたファンと、
前記筒が回転可能に設置されるように、前記筒に取り付けられたアームを備え、
前記筒の前後方向及び左右方向に直交する方向を上下方向として、前記筒の下側に、騒音を低減する貫通穴を備える、
筒型送風機である。
【0007】
本発明において、前記貫通穴は、前後方向に縦長であり複数設けられていてもよい。
【発明の効果】
【0008】
本発明では、筒型送風機の、筒部のうちファンを囲む領域において筒に開口部を設ける構成により、騒音を低減できる。
【図面の簡単な説明】
【0009】
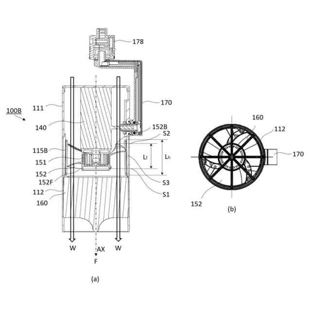
実施形態1の筒型送風機の斜視図
実施形態1の筒型送風機の軸方向断面図
実施形態1の筒型送風機の空気流のシミュレーション図
実施形態1の筒型送風機が発生する音の周波数と音のレベルの図
実施形態1の変形例に係る筒型送風機の斜視図
実施形態2の筒型送風機を検討するための、空気流のシミュレーション図
実施形態2の筒型送風機の斜視図
実施形態3の筒型送風機の斜視図
【発明を実施するための形態】
【0010】
<実施形態1>
<構成>
本実施形態の筒型送風機100は、配線ダクト180に取り付けが可能であり、風の向きを適宜変えることができるものである。
(【0011】以降は省略されています)
この特許をJ-PlatPat(特許庁公式サイト)で参照する
関連特許
株式会社遠藤照明
光源ユニット及び照明器具
1か月前
株式会社遠藤照明
電源、照明装置及び照明システム
1か月前
株式会社遠藤照明
筒型送風機
1か月前
株式会社遠藤照明
カメラ連動照明制御システム
1か月前
個人
海流製造装置。
2か月前
株式会社スギノマシン
圧縮機
1か月前
株式会社ツインバード
送風装置
2か月前
株式会社ツインバード
送風装置
2か月前
日機装株式会社
遠心ポンプ
1か月前
カヤバ株式会社
電動ポンプ
3か月前
カヤバ株式会社
電動ポンプ
21日前
株式会社不二越
蓄圧装置
3か月前
ビッグボーン株式会社
送風装置
3か月前
株式会社ノーリツ
ロータリ圧縮機
2か月前
サンデン株式会社
スクロール圧縮機
1か月前
サンデン株式会社
スクロール圧縮機
1か月前
小倉クラッチ株式会社
ルーツブロア
4か月前
サンデン株式会社
スクロール圧縮機
1か月前
樫山工業株式会社
真空ポンプ
1か月前
サンデン株式会社
可変容量型圧縮機
29日前
株式会社チロル
送風機、送風機付衣服
3か月前
株式会社島津製作所
真空ポンプ
3か月前
エドワーズ株式会社
真空ポンプ
2か月前
株式会社クボタ
作業機
22日前
株式会社アイシン
ポンプケース
2か月前
株式会社島津製作所
真空ポンプ
2か月前
株式会社豊田自動織機
流体機械
2か月前
株式会社豊田自動織機
電動圧縮機
3か月前
株式会社豊田自動織機
電動圧縮機
2か月前
株式会社豊田自動織機
電動圧縮機
2か月前
株式会社豊田自動織機
電動圧縮機
3か月前
株式会社豊田自動織機
電動圧縮機
2か月前
已久工業股ふん有限公司
空気圧縮機構造
3か月前
NTN株式会社
電動オイルポンプ
1か月前
株式会社豊田自動織機
電動圧縮機
3か月前
株式会社ナノバブル研究所
気液駆動装置
2か月前
続きを見る
他の特許を見る