TOP
|
特許
|
意匠
|
商標
特許ウォッチ
Twitter
他の特許を見る
10個以上の画像は省略されています。
公開番号
2025160277
公報種別
公開特許公報(A)
公開日
2025-10-22
出願番号
2025121326,2023520601
出願日
2025-07-18,2021-05-10
発明の名称
端末及び無線通信方法
出願人
株式会社NTTドコモ
代理人
個人
,
個人
,
個人
主分類
H04W
74/0833 20240101AFI20251015BHJP(電気通信技術)
要約
【課題】ランダムアクセスチャネル手順のメッセージ(Msg3)のくり返し送信を適切に実行する端末及び無線通信方法を提供する。
【解決手段】無線通信システムにおいて、端末200は、無線リソース制御レイヤを介して、ランダムアクセスチャネル手順における物理上りリンク共有チャネルの繰り返し送信を要求するプリアンブルのインデックスと、プリアンブルの数とを含む設定情報を受信する受信部と、インデックスと、プリアンブルの数とに基づいて、プリアンブルの送信を決定する制御部と、物理上りリンク共有チャネルの繰り返し送信を行う送信部と、を備え、制御部は、無線リソース制御レイヤの設定に基づいて、RSRP(Reference Signal Received Power)の閾値を決定し、RSRPの閾値に基づいて、前記プリアンブルの送信を決定する。
【選択図】図3
特許請求の範囲
【請求項1】
無線リソース制御レイヤを介して、ランダムアクセスチャネル手順における物理上りリンク共有チャネルの繰り返し送信を要求するプリアンブルのインデックスと、前記プリアンブルの数とを含む設定情報を受信する受信部と、
前記インデックスと、前記プリアンブルの数とに基づいて、前記プリアンブルの送信を決定する制御部と、
前記物理上りリンク共有チャネルの繰り返し送信を行う送信部と、
を備え、
前記制御部は、
前記無線リソース制御レイヤの設定に基づいて、RSRPの閾値を決定し、
前記RSRPの閾値に基づいて、前記プリアンブルの送信を決定する、
端末。
続きを表示(約 740 文字)
【請求項2】
前記インデックスは、前記プリアンブルの開始インデックスである、
請求項1に記載の端末。
【請求項3】
基地局と端末とを含む無線通信システムであって、
前記基地局は、無線リソース制御レイヤを介して、ランダムアクセスチャネル手順における物理上りリンク共有チャネルの繰り返し送信を要求するプリアンブルのインデックスと、前記プリアンブルの数とを含む設定情報を送信する送信部を備え、
前記端末は、
前記設定情報を受信する受信部と、
前記インデックスと、前記プリアンブルの数とに基づいて、前記プリアンブルの送信を決定する制御部と、
前記物理上りリンク共有チャネルの繰り返し送信を行う送信部と、
を備え、
前記制御部は、
前記無線リソース制御レイヤの設定に基づいて、RSRPの閾値を決定し、
前記RSRPの閾値に基づいて、前記プリアンブルの送信を決定する、
無線通信システム。
【請求項4】
端末が行う無線通信方法であって、
無線リソース制御レイヤを介して、ランダムアクセスチャネル手順における物理上りリンク共有チャネルの繰り返し送信を要求するプリアンブルのインデックスと、前記プリアンブルの数とを含む設定情報を受信し、
前記インデックスと、前記プリアンブルの数とに基づいて、前記プリアンブルの送信を決定し、
前記無線リソース制御レイヤの設定に基づいて、RSRPの閾値を決定し、
前記RSRPの閾値に基づいて、前記プリアンブルの送信を決定し、
前記物理上りリンク共有チャネルの繰り返し送信を行う、
無線通信方法。
発明の詳細な説明
【技術分野】
【0001】
本開示は、ランダムアクセスチャネル手順におけるメッセージの繰り返しに対応した端末及び無線通信方法に関する。
続きを表示(約 1,300 文字)
【背景技術】
【0002】
3rd Generation Partnership Project(3GPP)は、5th generation mobile communication system(5G、New Radio(NR)またはNext Generation(NG)とも呼ばれる)を仕様化し、さらに、Beyond 5G、5G Evolution或いは6Gと呼ばれる次世代の仕様化も進めている。
【0003】
例えば、3GPP Release-17では、NRにおけるカバレッジ拡張(CE: Coverage Enhancement)に関するWork Itemが合意されている(非特許文献1)。
【0004】
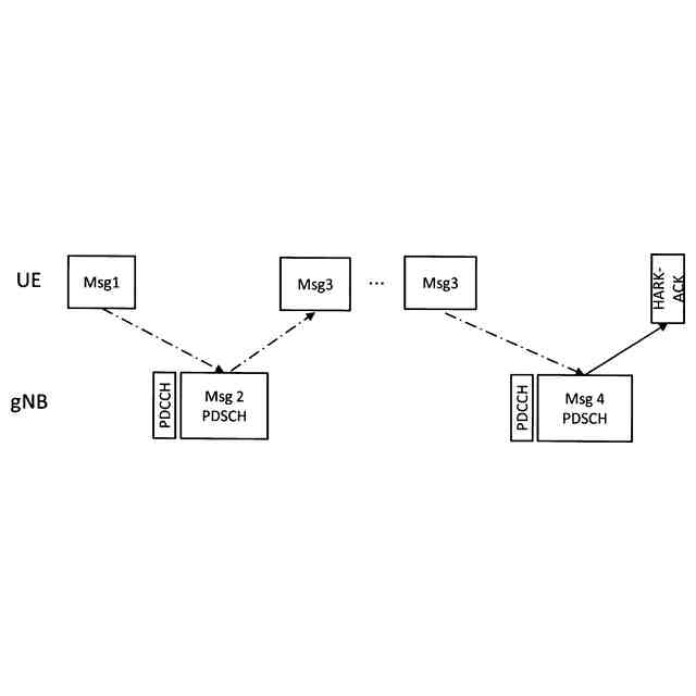
具体的には、ランダムアクセスチャネル(RACH(Random Access Channel)手順のメッセージ(Msg3)の送信に用いられる上りデータチャネル(PUSCH:Physical Uplink Shared Channel)の繰り返し(Repetition)の仕様について検討が進められている。
【先行技術文献】
【非特許文献】
【0005】
"New WID on NR coverage enhancements", RP-202928, 3GPP TSG RAN meeting #90e, 3GPP, 2020年12月
【発明の概要】
【0006】
RACH手順のメッセージ(Msg3)のRepetitionがサポートされる場合、Repetitionに関する端末(User Equipment, UE)の具体的な動作については、改善の余地があると考えられる。
【0007】
そこで、以下の開示は、このような状況に鑑みてなされたものであり、RACH手順のメッセージ(Msg3)のRepetitionに関して、より適切な動作を実行し得る端末及び無線通信方法の提供を目的とする。
【0008】
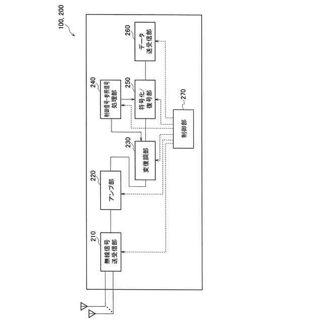
本開示の一態様は、ランダムアクセスチャネル手順におけるメッセージを繰り返し送信する送信部(無線信号送受信部210)と、無線リソース制御レイヤの設定に基づいて、前記繰り返し送信の有無に応じたランダムアクセス用リソースを設定する制御部(制御部270)とを備える端末(UE200)である。
【0009】
本開示の一態様は、ランダムアクセスチャネル手順におけるメッセージを繰り返し送信する送信部(無線信号送受信部210)と、複数のスロットに割り当てられた復調用参照信号を用いて、前記複数のスロットに割り当てられた上りリンクチャネルのチャネル推定を前記メッセージに適用可能か否かをネットワークに報告する制御部(制御部270)とを備える端末(UE200)である。
【0010】
本開示の一態様は、ランダムアクセスチャネル手順におけるメッセージを繰り返し送信する送信部(無線信号送受信部210)と、ランダムアクセスに関する特定の条件を満たすか否かに基づいて、前記繰り返し送信を要求する制御部(制御部270)とを備える端末(UE200)である。
(【0011】以降は省略されています)
特許ウォッチbot のツイートを見る
この特許をJ-PlatPat(特許庁公式サイト)で参照する
関連特許
株式会社NTTドコモ
端末
11日前
株式会社NTTドコモ
端末
10日前
株式会社NTTドコモ
端末
10日前
株式会社NTTドコモ
端末
11日前
株式会社NTTドコモ
端末
10日前
株式会社NTTドコモ
端末
11日前
株式会社NTTドコモ
端末
11日前
株式会社NTTドコモ
端末
10日前
株式会社NTTドコモ
端末
10日前
株式会社NTTドコモ
基地局
10日前
株式会社NTTドコモ
デバイス
11日前
株式会社NTTドコモ
デバイス
10日前
株式会社NTTドコモ
デバイス
11日前
株式会社NTTドコモ
デバイス
10日前
株式会社NTTドコモ
デバイス
11日前
株式会社NTTドコモ
デバイス
10日前
株式会社NTTドコモ
デバイス
11日前
株式会社NTTドコモ
装置及び方法
8日前
株式会社NTTドコモ
情報処理装置
3日前
株式会社NTTドコモ
基地局及び端末
10日前
株式会社NTTドコモ
端末及び基地局
10日前
株式会社NTTドコモ
端末及び基地局
10日前
株式会社NTTドコモ
端末及び基地局
10日前
株式会社NTTドコモ
基地局及び端末
10日前
株式会社NTTドコモ
端末及び通信方法
11日前
株式会社NTTドコモ
端末及び通信方法
11日前
株式会社NTTドコモ
端末及び通信方法
11日前
株式会社NTTドコモ
端末及び通信方法
11日前
株式会社NTTドコモ
端末及び通信方法
11日前
株式会社NTTドコモ
端末及び通信方法
10日前
株式会社NTTドコモ
端末及び通信方法
10日前
株式会社NTTドコモ
端末及び通信方法
11日前
株式会社NTTドコモ
端末及び通信方法
11日前
株式会社NTTドコモ
端末及び通信方法
10日前
株式会社NTTドコモ
端末及び通信方法
11日前
株式会社NTTドコモ
端末及び通信方法
11日前
続きを見る
他の特許を見る