TOP
|
特許
|
意匠
|
商標
特許ウォッチ
Twitter
他の特許を見る
10個以上の画像は省略されています。
公開番号
2025160164
公報種別
公開特許公報(A)
公開日
2025-10-22
出願番号
2025105210,2023206653
出願日
2025-06-23,2020-05-28
発明の名称
裏側ポンピングを用いた熱処理チャンバのリッド
出願人
アプライド マテリアルズ インコーポレイテッド
,
APPLIED MATERIALS,INCORPORATED
代理人
園田・小林弁理士法人
主分類
C23C
16/455 20060101AFI20251015BHJP(金属質材料への被覆;金属質材料による材料への被覆;化学的表面処理;金属質材料の拡散処理;真空蒸着,スパッタリング,イオン注入法,または化学蒸着による被覆一般;金属質材料の防食または鉱皮の抑制一般)
要約
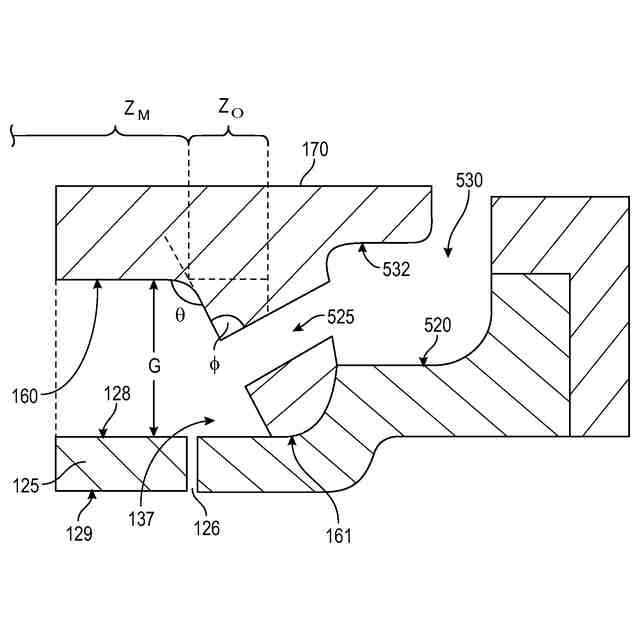
【課題】堆積される膜の均一性を改善するためのリッドプレート、および処理チャンバを提供する。
【解決手段】処理チャンバのリッドアセンブリ用のリッドプレート170である。リッドプレートが、その中心軸133の周りの中央開口部からリッドプレートの周辺部分まで下方および外方に延びる輪郭底面160を含み、輪郭底面が、内側ゾーンZI、中間ゾーンZMおよび外側ゾーンZOを含み、内側ゾーンが、中心軸から内側ゾーン半径方向距離まで画定されており、中間ゾーンが、内側ゾーン半径方向距離から中間ゾーン半径方向距離まで画定されており、外側ゾーンが、中間ゾーン半径方向距離から輪郭底面の外側エッジにおける外側ゾーン半径方向距離まで画定され、外側ゾーンが、中間ゾーン半径方向距離からリッドプレートのまで傾斜して外側ゾーン角を形成しており、外側ゾーンが、リッドプレートを貫通して形成された複数のポンピング孔525を含む。
【選択図】図6B
特許請求の範囲
【請求項1】
中心軸に沿って延びるガス分散チャネルを包囲するハウジングであって、前記ガス分散チャネルが上部および下部を有する、前記ハウジング;
前記ハウジングに連結されたリッドプレートであって、前記ガス分散チャンネルの前記下部に連結された中央開口部から前記リッドプレートの周辺部分まで下方および外方に延びる輪郭底面を有する前記リッドプレート;および
前記リッドプレートの下方に配置されたガス分配プレートであって、前記ガス分配プレートと前記リッドプレートとの間にポンピングチャネルを形成するように構成された上部外周輪郭を有し、かつ、上面と、底面であって、前記上面から前記底面まで前記ガス分配プレートを貫通する複数の開孔を有する前記底面とを有しており、前記リッドプレートの前記輪郭底面と前記ガス分配プレートの上面とが間隙を画定している、前記ガス分配プレート
を備える処理チャンバのリッドアセンブリ。
続きを表示(約 890 文字)
【請求項2】
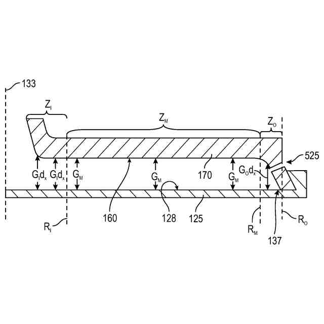
前記リッドプレートの前記輪郭底面が、内側ゾーン、中間ゾーンおよび外側ゾーンを含み、前記内側ゾーンは前記中間ゾーンよりも大きな間隙を有し、前記中間ゾーンは前記外側ゾーンよりも大きな間隙を有する、請求項1に記載のリッドアセンブリ。
【請求項3】
前記内側ゾーンが、前記リッドプレートの中心軸から、前記中心軸から内側ゾーン半径方向距離まで画定されており、前記中間ゾーンが、前記内側ゾーン半径方向距離から、前記中心軸から中間ゾーン半径方向距離まで画定されており、前記外側ゾーンが、前記中間ゾーン半径方向距離から、前記輪郭底面の外周エッジにおける外側ゾーン半径方向距離まで測定される、請求項2に記載のリッドアセンブリ。
【請求項4】
前記輪郭底面の前記中間ゾーンが、実質的に均一な間隙を形成している、請求項3に記載のリッドアセンブリ。
【請求項5】
前記実質的に均一な間隙が、約0.1インチから約2インチの範囲である、請求項4に記載のリッドアセンブリ。
【請求項6】
前記中間ゾーンが、前記中心軸から前記外側ゾーン半径方向距離までの距離の約10%から約90%の範囲を占める、請求項3に記載のリッドアセンブリ。
【請求項7】
前記外側ゾーンが、前記中間ゾーンから前記リッドプレートの前面へと傾斜して外側ゾーン角を形成している、請求項3に記載のリッドアセンブリ。
【請求項8】
前記輪郭底面の前記外側ゾーンが、前記リッドプレートに形成されたポンピング孔を通して前記ポンピングチャネルに接続されている、請求項7に記載のリッドアセンブリ。
【請求項9】
前記ポンピング孔が、前記輪郭底面の前記外側ゾーンに形成されている、請求項8に記載のリッドアセンブリ。
【請求項10】
前記ポンピング孔が、約85°から約95°の範囲の角度で前記輪郭底面の前記外側ゾーンと交差する、請求項8に記載のリッドアセンブリ。
(【請求項11】以降は省略されています)
発明の詳細な説明
【技術分野】
【0001】
[0001]本開示の実施態様は、電子デバイス製造の分野に関する。特に、本開示の実施態様は、半導体デバイス製造において反応ガスを送達するための装置を対象とする。
続きを表示(約 2,600 文字)
【背景技術】
【0002】
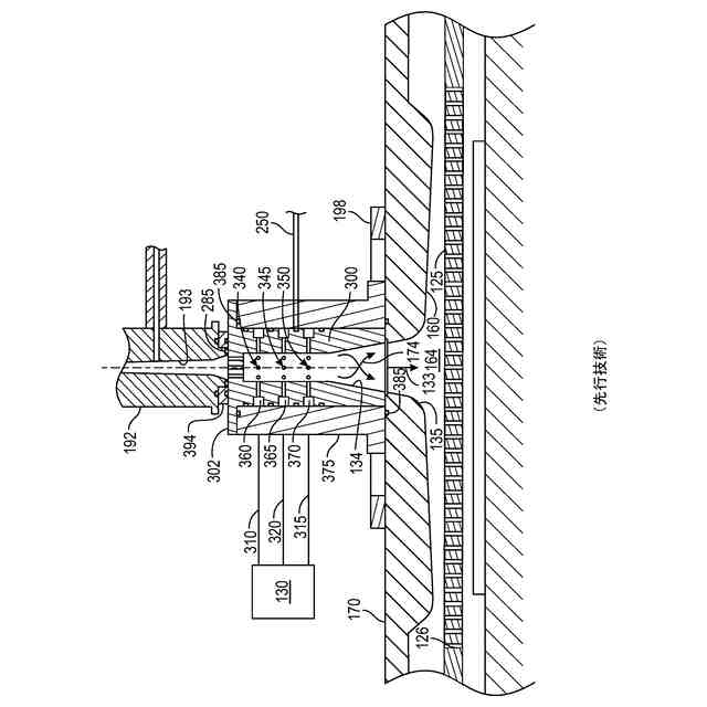
[0002]サブミクロン以下のフィーチャを確実に生産することは、半導体デバイスの次世代の超大規模集積(VLSI)および極超大規模集積回路(ULSI)のための鍵となる技術の1つである。しかしながら、回路技術の限界が追及されるにつれて、VLSIおよびULSI技術におけるインターコネクトの寸法の縮小により、処理能力に対する要求が高まった。VLSIおよびULSI技術の心臓部に位置するマルチレベルインターコネクトは、ビアおよび他のインターコネクトといった高アスペクト比フィーチャの精密処理を使用する。これらのインターコネクトの確実な形成は、VLSIおよびULSIの成功と、個々の基板の回路密度と品質とを高めるための継続的な努力にとって極めて重要である。
【0003】
[0003]回路密度が増加すると、ビア、トレンチ、コンタクト、および他のフィーチャといったインターコネクトの幅、ならびにそれらの間の誘電体材料が減少する一方で、誘電体層の厚さは実質的に一定のままであり、その結果、フィーチャの高さ対幅のアスペクト比が増加する。多くの伝統的な堆積プロセスは、サブミクロン構造を充填することおよび表面フィーチャのための良好なステップカバレッジを提供することが困難である。
【0004】
[0004]原子層堆積(ALD)は、高いアスペクト比を有するフィーチャ上の材料層の堆積のために探求されている堆積技術である。ALDプロセスの一例は、ガスのパルスの連続的な導入を含む。例えば、ガスのパルスの連続的導入のための1サイクルは、第1の反応ガスのパルスと、それに続くパージガスおよび/またはポンプ排気のパルスと、それに続く第2の反応ガスのパルスと、それに続くパージガスおよび/またはポンプ排気のパルスとを含むことができる。本明細書で使用される「ガス」という用語は、単一のガスまたは複数のガスを含むと定義される。第1の反応物および第2の反応物の別々のパルスの連続的な導入は、基板の表面上の反応物の単層の交互の自己制御的吸着をもたらすことができ、したがって、各サイクルについて材料の単層を形成する。このサイクルを繰り返して、所定の厚さの膜を形成することができる。第1の反応ガスのパルスと第2の反応ガスのパルスとの間のパージガスおよび/またはポンプ排気のパルスは、チャンバ内に残る過剰量の反応物に起因する反応物の気相反応の可能性を低減するように働く。
【0005】
[0005]ALD処理のためのいくつかのチャンバ設計では、前駆体およびガスは、漏斗蓋を使用して送達され、前駆体は、この蓋を通して、漏斗状の蓋の上の複数のインジェクタか分配される。インジェクタは噴射ガスの円運動を発生させ、ガスは蓋の中心にある漏斗形状を通して分散される。ガス/ALD前駆体分子の回転慣性は、分子を中心からエッジに分散するので均一堆積を改善する。
【0006】
[0006]反応ガスが処理中にリッドプレートとシャワーヘッドとの間に捕捉されることにより、堆積される膜が不均一になることが観察された。したがって、当技術分野において、堆積される膜の均一性を改善するための方法および装置が継続的に必要とされている。
【発明の概要】
【0007】
[0007]本開示の1つまたは複数の実施態様は、処理チャンバのリッドアセンブリを対象とする。ハウジングは、ハウジングの中心軸に沿って延びるガス分散チャネルを包囲する。ガス分散チャネルは、上部および下部を有する。リッドプレートは、ハウジングに連結され、ガス分散チャンネルの下部に連結された中央開口部からリッドプレートの周辺部分まで下方および外方に延びる輪郭底面を有する。ガス分配プレートは、リッドプレートの下方に配置され、ガス分配プレートとリッドプレートとの間にポンピングチャネルを形成するように構成された上部外周輪郭を有する。ガス分配プレートは、上面および底面を有し、複数の開孔が上面から底面までガス分配プレートを貫通して配置される。リッドプレートの輪郭底面とガス分配プレートの上面とは、間隙を画定する。
【図面の簡単な説明】
【0008】
[0008]本開示の上述の特徴を詳細に理解することができるように、上記で簡単に要約された本開示のより詳細な説明が実施態様を参照することによって得られ、それら実施態様のいくつかが添付図面に例示される。しかしながら、本開示は他の等しく有効な実施態様を許容しうるので、添付図面は、本開示の典型的な実施態様のみを例示しており、したがって、本開示の範囲を限定すると見なすべきではないことに留意されたい。本明細書に記載される実施態様は、添付図面では、例示として示されているのであって限定ではなく、図面において類似の参照符号は同様の要素を示す。
【0009】
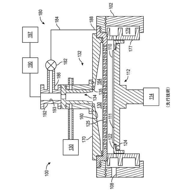
[0009]本開示のいくつかの実施態様による処理チャンバの概略図である。
[0010]本開示のいくつかの実施態様による処理チャンバの概略断面図である。
[0011]本開示のいくつかの実施態様によるリッドアセンブリの概略断面図である。
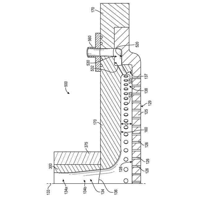
[0012]A-Cは、本開示の実施態様による、ガス分配プレートを貫通する開孔の概略図である。
[0013]本開示の1つまたは複数の実施態様によるリッドアセンブリの概略断面図である。
[0014]Aは、本開示の1つまたは複数の実施態様によるリッドプレートの概略断面図である。[0015]Bは、本開示の1つまたは複数の実施態様によるリッドアセンブリの概略断面図である。
[0016]本開示の1つまたは複数の実施態様によるリッドアセンブリの概略断面図である。
[0017]本開示の1つまたは複数の実施態様によるリッドアセンブリの概略断面図である。
【0010】
[0018]理解を容易にするために、可能な場合には、図に共通する同一の要素を指し示すために同一の参照番号を使用した。図は縮尺どおりには描かれておらず、分かり易くするために簡略化されることがある。一実施態様の要素および特徴は、さらなる記載がなくとも、他の実施態様に有益に組み込まれうる。
【発明を実施するための形態】
(【0011】以降は省略されています)
この特許をJ-PlatPat(特許庁公式サイト)で参照する
関連特許
個人
フッ素樹脂塗装鋼板の保管方法
2か月前
株式会社京都マテリアルズ
めっき部材
23日前
株式会社カネカ
製膜装置
19日前
株式会社カネカ
製膜装置
19日前
株式会社KSマテリアル
防錆組成物
3か月前
株式会社オプトラン
蒸着装置
6か月前
株式会社三愛工業所
アルミニウム材
5か月前
エドワーズ株式会社
真空排気システム
12日前
日本化学産業株式会社
複合めっき皮膜
2か月前
台灣晶技股ふん有限公司
無電解めっき法
1か月前
東京エレクトロン株式会社
成膜方法
1か月前
日東電工株式会社
積層体の製造方法
5か月前
株式会社カネカ
気化装置及び製膜装置
13日前
JFEスチール株式会社
鋼部品
2か月前
住友重機械工業株式会社
成膜装置
3か月前
信越半導体株式会社
真空蒸着方法
5か月前
東京エレクトロン株式会社
基板処理装置
5か月前
住友重機械工業株式会社
成膜装置
4か月前
東京エレクトロン株式会社
基板処理装置
4か月前
DOWAサーモテック株式会社
浸炭方法
5か月前
TOTO株式会社
構造部材
13日前
株式会社アルバック
マスクユニット
13日前
株式会社内村
防食具、防食具の設置方法
1か月前
黒崎播磨株式会社
溶射装置
27日前
株式会社アルバック
基板ステージ装置
20日前
株式会社デンソー
接合体
1か月前
日本コーティングセンター株式会社
炭化ホウ素被膜
13日前
国立大学法人千葉大学
成膜装置及び成膜方法
1か月前
フジタ技研株式会社
被覆部材、及び、表面被覆金型
21日前
黒崎播磨株式会社
溶射用ランス
4か月前
株式会社アルバック
成膜装置、および搬送方法
2か月前
川崎重工業株式会社
水素遮蔽膜
2か月前
ケニックス株式会社
蒸発源装置
2か月前
キヤノントッキ株式会社
成膜装置
5か月前
東京エレクトロン株式会社
成膜方法及び成膜装置
1か月前
株式会社オプトラン
光学薄膜形成装置および方法
5か月前
続きを見る
他の特許を見る