TOP
|
特許
|
意匠
|
商標
特許ウォッチ
Twitter
他の特許を見る
公開番号
2025160061
公報種別
公開特許公報(A)
公開日
2025-10-22
出願番号
2024071951
出願日
2024-04-09
発明の名称
小型化光束分離光学系および光学機器
出願人
株式会社三井光機製作所
代理人
主分類
G03B
17/14 20210101AFI20251015BHJP(写真;映画;光波以外の波を使用する類似技術;電子写真;ホログラフイ)
要約
【課題】 赤外および可視光分離光学系においてガラス補正を施していないCマウント適合レンズを使用可能とする小型化多板式カメラ用光束分離光学系の提供を目的とする。
【解決手段】 レンズマウントは、ガラス補正を施していないレンズに適合するレンズ用マウントであり、可視光用プリズムの光軸ガラス材の光路長を可視光撮像素子が他の光学部材と干渉しない範囲で可能な限り短縮し、赤外光分離プリズムの分離膜により分離された赤外光が前記赤外光分離プリズム内の反射面で全反射される臨界角を限度として前記赤外光分離プリズムの頂角を縮小し、前記可視光用プリズムの光軸ガラス材により短縮された光路長を空気部分の光路長を増加させて、前記レンズマウントに定められた空気換算でのフランジバック長が前記可視光の光路長において確保される構成であることを特徴とする光束分離光学系。
【選択図】図3
特許請求の範囲
【請求項1】
レンズマウントと、入射光を赤外光と可視光とに分離する赤外光分離プリズムと、前記赤外光を赤外光像に変換する赤外光撮像素子と、前記赤外光分離プリズムの後段に配置された可視光用プリズムと、前記可視光を可視光像に変換する単板の可視光撮像素子とを有する光束分離光学系であって、
前記レンズマウントは、ガラス補正を施していないレンズに適合するレンズ用マウントであり、
前記可視光用プリズムの光軸ガラス材の光路長を前記可視光撮像素子が他の光学部材と干渉しない範囲で可能な限り短縮し、
前記赤外光分離プリズムの分離膜により分離された赤外光が前記赤外光分離プリズム内の反射面で全反射される臨界角を限度として前記赤外光分離プリズムの頂角を縮小し、
前記可視光用プリズムの光軸ガラス材により短縮された光路長を空気部分の光路長を増加させて、前記レンズマウントに定められた空気換算でのフランジバック長が前記可視光の光路長において確保される構成であることを特徴とする光束分離光学系。
続きを表示(約 450 文字)
【請求項2】
前記赤外光分離プリズムに入射した入射光束は、前記赤外光分離プリズムの分離膜面で全反射されず、かつ、前記分離膜面により分離された赤外光束が前記赤外光分離プリズム内の反射面で全反射される臨界角を限度として前記赤外光分離プリズムの頂角を縮小することを特徴とする請求項1記載の光束分離光学系。
【請求項3】
前記赤外光分離プリズムに設けられた不要光抑制溝により前記可視光撮像素子が干渉するのを回避するようにして前記可視光側の前記プリズムガラス材の長さを短縮したことを特徴とする請求項1または2記載の光束分離光学系。
【請求項4】
前記レンズマウントに適合するレンズは、結像側に挿入されるガラス厚に対する光学補正が少なく、結像側での光学分離ガラス長が短いCマウント用レンズであることを特徴とする請求項1記載の光束分離光学系。
【請求項5】
請求項1ないし請求項4に記載する光束分離光学系のいずれかを備えることを特徴とする光学機器。
発明の詳細な説明
【技術分野】
【0001】
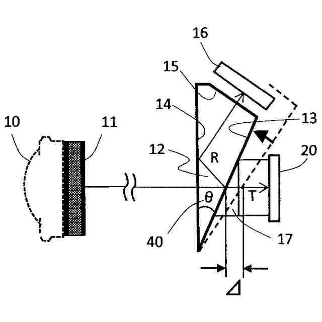
本発明はビデオカメラなどの光学機器に用いられる光束分離光学系に関し、特に医療カメラ、監視カメラ、画像分析・測定カメラなどに有用な赤外光と可視光とに分離する2板式または多板式カメラにおいて、小型化されたプリズム構成を提供する光束分離光学系に関するものである。
続きを表示(約 2,300 文字)
【背景技術】
【0002】
内視鏡カメラ、皮膚観察用ダーマスコープ、顕微鏡用カメラなどにおいては、表皮状態や患部状態を診断、観察するために可視光と赤外光(近赤外光、中赤外光を含む))とを分離し、分離した可視光像と赤外光像とを取得する必要がある。可視光像による皮膚表面像と赤外光像による表皮近傍内部の様子とを比較、分析することで、多くの皮膚疾患の観察に用いられている。これら皮膚疾患は、メラノーマといわれる悪性腫瘍と、色素細胞母斑といわれる良性色腫とが表面観察だけでは見分けが困難であり、特に内部炎症、色素沈着などが、毛嚢炎、皮膚がんなどでより内部へ広がっている場合、皮膚疾患をより正確に見分けるには、より皮膚内部の組織構造を観察する必要があるためである。
【0003】
また、防犯用監視カメラ、暗視カメラなどにおいては、夜間などの低照度環境、暗視環境での動向を映像として取得するため赤外光を利用して、赤外光像を活用し監視モニタリングを行っている。これらの監視カメラでは、昼間の映像は可視光像を取得し、夜間または暗視下では、低照度下での画像取得が可能となる赤外光像を取得するように切り替えて利用している。
【0004】
上記したような赤外光および可視光を利用した医療用カメラや監視用カメラは、内視鏡や顕微鏡などに内蔵したり、監視対象者から意識されないようにするためより小型化することが求められている。この分野においては、小型化を意識してバックフォーカスの短いCマウント(業界規格)適合レンズが利用されるようになってきたが、これらCマウント適合レンズの多くは単板式カメラを前提としたものであり、プリズムなどを利用して色分解を行い複数の撮像素子により複数の撮像を取り出す2板式・3板式などの多板式カメラに使用するには、プリズムなどの収差の影響があるため適していなかった。
【0005】
近年、撮像素子イメージサイズの小型化やプリズムを小型化することで、プリズムを使用した多板式カメラにおいてもCマウントを適用し、プリズムの収差を考慮してガラス補正を施したCマウント適合レンズが開発されてきたが、これらのレンズは、種類が限られている上に、高価であり、極めて利便性に欠けるという問題がある。なお、本発明においては、便宜上、医療用カメラ、監視カメラ、軍事用カメラなどを工業用カメラと称し、2種類または複数の撮像素子により2種類または複数の画像を取得するカメラを多板式カメラと称するが、これにより用途を限定するものではない。
【0006】
色分解プリズムを利用した多板式カメラにおいてバックフォーカスやフランジバックの短い小型レンズを使用して小型化を図る技術は数多く存在する。例えば、特許文献1においては、バックフォーカスが20mm以下の小さい小型レンズを使用するために色分解プリズムを小型化し、撮像素子センサとプリズム出射面との間隔を1mm以上として出射面の傷等を撮像素子で拾わなくして目立たないようにする考案が開示されている。このようにバックフォーカスやフランジバックの短いレンズを使用するための工夫例は多々あるが、撮像素子の寸法やレンズの口径、光学素子などの物理的大きさで小型化自体は制約を受けたり、使用するレンズが特定されてしまうなど利便性に欠けてしまう。
【0007】
また、特許文献2においては、内視鏡などで使用するためにフランジバック長が短いCマウントレンズに適合する色分解プリズム構成が開示されている。この特許文献2においては高屈折率を有するプリズムにより小型化を図ると共に、Cマウントレンズに適合させるような工夫が開示されているが、このような高屈折率化では屈折率を大きくする限界があり、また、このようなCマウントに適合するレンズはプリズム用を意図してガラス補正を施した高価なもので、やはりCマウント用レンズが特定されコスト的にも課題がある。
【0008】
そのため、多板式工業用カメラにおいてプリズム用のガラス補正をしていない、比較的安価に入手可能なレンズを制約なしに使用出来る小型化プリズム構成が求められていた。つまり、プリズムなどにより複数の画像を取得する多板式工業用カメラにおいて、実質的にガラス補正を施していない単板用Cマウントに適合したレンズが利用可能となれば、多種多様なレンズが利用可能となり、より安価で利便性の高い工業用カメラシステムが構築できる。
【0009】
このような課題を解決するために本願出願人は、特許文献3において、入射光を赤外光と可視光とに分離するプリズム構成の可視光側プリズムの光軸ガラス材の長さを他の光学部材と干渉しない範囲で短縮する発明を提案している。しかしながら、特許文献3の発明を利用しても利用可能なガラス補正をしていないレンズは限られるため、より多くのガラス補正をしていないこれらレンズに幅広く対応できて、より小型化された多板式カメラ用分離プリズム構成が求められるようになっている。本発明は、特許文献3をベースにしてより進化させた改良発明である。
【先行技術文献】
【特許文献】
【0010】
実公平07-22641号公報
特開2017-205492号公報
特開2021-44790号公報
【発明の概要】
【発明が解決しようとする課題】
(【0011】以降は省略されています)
この特許をJ-PlatPat(特許庁公式サイト)で参照する
関連特許
個人
表示装置
14日前
個人
雨用レンズカバー
12日前
日本精機株式会社
車両用投射装置
20日前
キヤノン株式会社
撮像装置
5日前
キヤノン株式会社
撮像装置
5日前
キヤノン株式会社
撮像装置
5日前
株式会社リコー
画像形成装置
1か月前
株式会社リコー
画像形成装置
2日前
株式会社オプトル
プロジェクタ
1か月前
キヤノン株式会社
トナー
8日前
キヤノン株式会社
画像形成装置
15日前
キヤノン株式会社
トナー
21日前
キヤノン株式会社
トナー
26日前
キヤノン株式会社
画像形成装置
1日前
スタンレー電気株式会社
照明装置
22日前
沖電気工業株式会社
画像形成装置
12日前
キヤノン株式会社
レンズキャップ
13日前
キヤノン株式会社
現像装置
19日前
アイホン株式会社
カメラシステム
20日前
ブラザー工業株式会社
画像形成装置
19日前
株式会社リコー
画像形成装置
1か月前
ブラザー工業株式会社
画像形成装置
19日前
古野電気株式会社
装置
12日前
株式会社電気印刷研究所
静電印刷用積層体
26日前
キヤノン株式会社
画像形成装置
27日前
キヤノン株式会社
画像形成装置
27日前
キヤノン株式会社
画像形成装置
1か月前
コニカミノルタ株式会社
画像形成装置
12日前
古野電気株式会社
監視装置
12日前
沖電気工業株式会社
画像形成装置
1か月前
アイホン株式会社
カメラ装置の保持構造
20日前
沖電気工業株式会社
画像形成装置
1日前
三洋化成工業株式会社
画像形成材料用バインダー
12日前
ブラザー工業株式会社
画像形成装置
21日前
ブラザー工業株式会社
画像形成装置
21日前
ブラザー工業株式会社
画像形成装置
21日前
続きを見る
他の特許を見る