TOP
|
特許
|
意匠
|
商標
特許ウォッチ
Twitter
他の特許を見る
10個以上の画像は省略されています。
公開番号
2025159974
公報種別
公開特許公報(A)
公開日
2025-10-22
出願番号
2024062888
出願日
2024-04-09
発明の名称
二次電池
出願人
トヨタバッテリー株式会社
代理人
弁理士法人R&C
主分類
H01M
50/533 20210101AFI20251015BHJP(基本的電気素子)
要約
【課題】部品数の増加を抑えつつ、二次電池の電極体の個数を増やして電池容量を大きくできる二次電池を提供する。
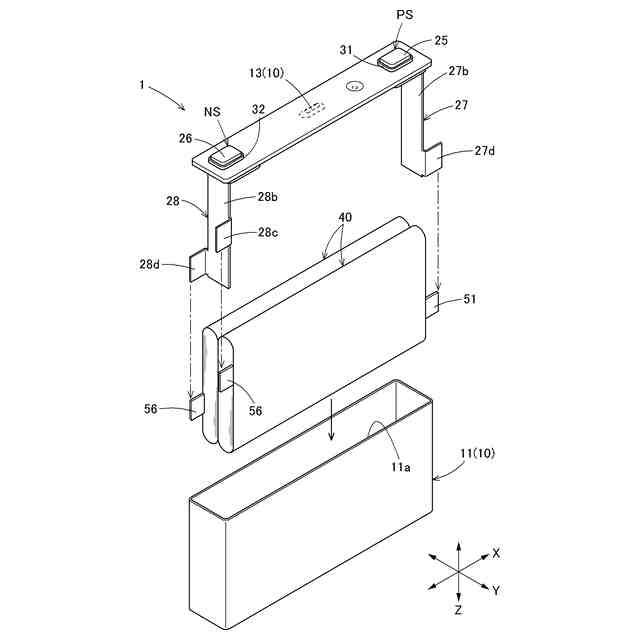
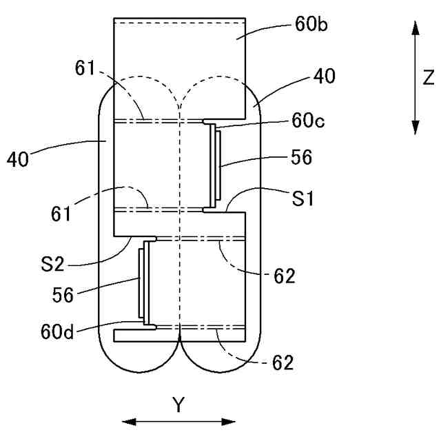
【解決手段】複数の電極体40や2つの電池端子PS,NSを備えた二次電池1であって、複数の電極体40は、両端部からタブ群51,56が延出しており、第1方向視において、各々の電極体40における第1方向一方端側のタブ群51は、厚み方向と直交する第2方向における位置が異なり、各々の電極体40における第1方向他方端側のタブ群56は、第2方向における位置が異なり、電池端子PS,NSは、単一の部材に形成された複数の電極接合部27d,28c,28dを有しており、各々の電極接合部27d,28c,28dと当該電極接合部27d,28c,28dに接合可能な位置に形成された各々のタブ群51,56とが接合されている。
【選択図】図1
特許請求の範囲
【請求項1】
開口を有する筐体と、前記筐体の開口に取り付けられた蓋体と、正極材及び負極材をセパレータを介して積層してなる扁平形状の複数の電極体と、前記蓋体に取り付けられた2つの電池端子と、を備えた二次電池であって、
前記複数の電極体は、
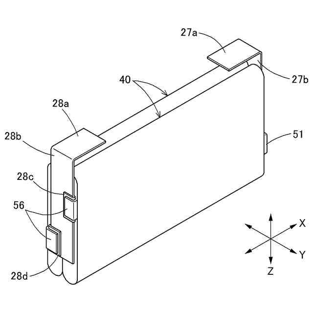
前記正極材及び前記負極材のタブが積層されてなるタブ群を有し、前記電極体の厚み方向に並んで前記筐体内に収容されており、
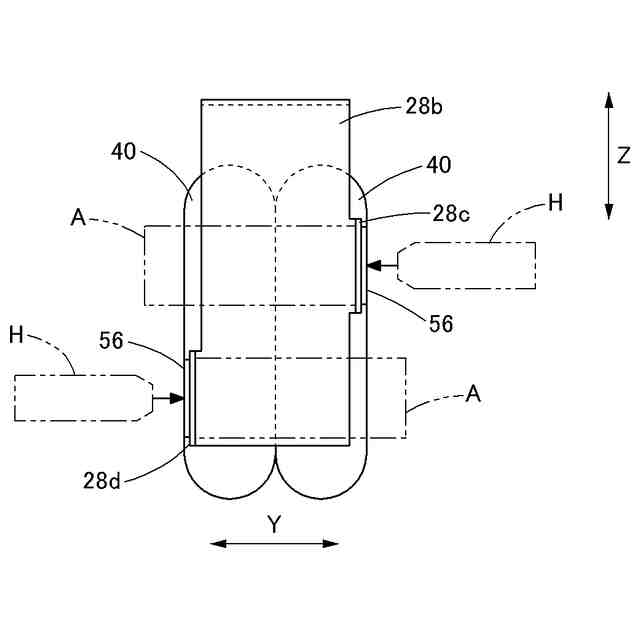
前記タブ群は、前記厚み方向と直交する第1方向の両端部から延出しており、
前記第1方向視において、各々の電極体における第1方向一方端側の前記タブ群は、前記厚み方向と直交する第2方向における位置が異なり、各々の電極体における第1方向他方端側の前記タブ群は、前記第2方向における位置が異なり、
前記2つの電池端子は、
単一の部材に形成された板状の複数の電極接合部をそれぞれ有しており、
一方の前記電池端子の各々の前記電極接合部は、各々の前記電極体の第1方向一方端側の前記タブ群に接合可能な位置に形成され、他方の前記電池端子の各々の前記電極接合部は、各々の前記電極体の第1方向他方端側の前記タブ群に接合可能な位置に形成されており、
各々の前記電極接合部と当該電極接合部に接合可能な位置に形成された各々の前記タブ群とが接合された状態で、各々の前記電極接合部と各々の前記タブ群との接合箇所が前記第1方向視において前記電極体の前記第1方向における端面と重複するように折り曲げられている二次電池。
続きを表示(約 260 文字)
【請求項2】
各々の前記電極体は、第1方向一方端側の前記タブ群と第1方向他方端側の前記タブ群とが前記第2方向において位置が異なる、請求項1に記載の二次電池。
【請求項3】
前記電池端子には、前記第1方向視において、各々の前記電極接合部が形成された領域ごとに区画するように薄肉部が形成されている、請求項1に記載の二次電池。
【請求項4】
前記タブ群は、前記第1方向視において、各々の前記電極体の厚み方向における中央部に形成されている、請求項1~3のいずれか一項に記載の二次電池。
発明の詳細な説明
【技術分野】
【0001】
本発明は、二次電池に関する。
続きを表示(約 2,100 文字)
【背景技術】
【0002】
従来、電気自動車などのモータを駆動源とする電動車両に用いられる二次電池は、電極体や当該電極体が収容されるケース、当該ケースに取り付けられ、電極体に電気的に接続された電池端子などを備えている。この種の二次電池では、例えば高容量化を図るために、ケース内に複数の電極体を収容する場合がある。このような複数の電極体を備えた二次電池としては、例えば特許文献1に開示された方法で製造された電池が提案されている。
【0003】
特許文献1記載の電池は、電池ケース内に3つの電極体からなる電極体群が収容されており、これら3つの電極体に正極端子及び負極端子が接続されている。具体的に、特許文献1記載の電池では、電池ケースの内部で正極端子の集電部が各々の電極体の正極と電気的に接続され、負極端子の集電部が各々の電極体の負極と電気的に接続されている。
【先行技術文献】
【特許文献】
【0004】
特開2023-97821号公報
【発明の概要】
【発明が解決しようとする課題】
【0005】
ところで、特許文献1に開示された電池では、正極端子及び負極端子(電池端子)の各集電部が、第1集電部を構成する部材と当該第1集電部及び電極体に各々接合された第2集電部を構成する3つの部材とで構成されている。つまり、当該電池では、端子に接続する電極体1つにつき、第2集電部を構成する部材も1つ必要となる。したがって、特許文献1記載の電池では、電池内に収容する電極体の個数に応じて第2集電部を構成する部材も増減することになり、電極体の個数を増やすためには電池端子を構成する部品数の増加が避けられない。
【0006】
本発明は以上の実情に鑑みなされたものであり、部品数の増加を抑えつつ、二次電池の電極体の個数を増やして電池容量を大きくできる二次電池の提供を、その目的とする。
【課題を解決するための手段】
【0007】
上記目的を達成するための本発明に係る二次電池の特徴構成は、
開口を有する筐体と、前記筐体の開口に取り付けられた蓋体と、正極材及び負極材をセパレータを介して積層してなる扁平形状の複数の電極体と、前記蓋体に取り付けられた2つの電池端子と、を備えた二次電池であって、
前記複数の電極体は、
前記正極材及び前記負極材のタブが積層されてなるタブ群を有し、前記電極体の厚み方向に並んで前記筐体内に収容されており、
前記タブ群は、前記厚み方向と直交する第1方向の両端部から延出しており、
前記第1方向視において、各々の電極体における第1方向一方端側の前記タブ群は、前記厚み方向と直交する第2方向における位置が異なり、各々の電極体における第1方向他方端側の前記タブ群は、前記第2方向における位置が異なり、
前記2つの電池端子は、
単一の部材に形成された板状の複数の電極接合部をそれぞれ有しており、
一方の前記電池端子の各々の前記電極接合部は、各々の前記電極体の第1方向一方端側の前記タブ群に接合可能な位置に形成され、他方の前記電池端子の各々の前記電極接合部は、各々の前記電極体の第1方向他方端側の前記タブ群に接合可能な位置に形成されており、
各々の前記電極接合部と当該電極接合部に接合可能な位置に形成された各々の前記タブ群とが接合された状態で、各々の前記電極接合部と各々の前記タブ群との接合箇所が前記第1方向視において前記電極体の前記第1方向における端面と重複するように折り曲げられている点にある。
【0008】
上記特徴構成によれば、単一の部材に形成された複数の電極接合部に各々の電極体のタブを接合できるため、電極体の数を増やしても部品数の増加が抑えられる。つまり、本発明の二次電池によれば、部品数の増加を抑えつつ、電極体の個数を増やして電池容量を大きくできる。
また、各々の電極体における第1方向一方端側のタブ群とこれに対応する位置に形成された電極接合部とが第2方向において位置が異なり、且つ、各々の電極体における第1方向他方端側のタブ群とこれに対応する位置に形成された電極接合部とが第2方向において位置が異なる。これにより、各タブ群と各電極接合体との接合をホーン及びアンビルを用いた超音波接合によって行うことが可能である。
【0009】
本発明に係る二次電池のさらなる特徴構成は、
各々の前記電極体は、第1方向一方端側の前記タブ群と第1方向他方端側の前記タブ群とが前記第2方向において位置が異なる点にある。
【0010】
上記特徴構成によれば、電極体の厚み方向視において、各々の電極体の固定軸が他の電極体の固定軸と一致しない状態となり、電極体の固定軸周りの回転が他の電極体によって抑えられる。したがって、本発明の二次電池では、電極体のぐらつきが抑制される。
(【0011】以降は省略されています)
この特許をJ-PlatPat(特許庁公式サイト)で参照する
関連特許
東ソー株式会社
絶縁電線
3日前
APB株式会社
蓄電セル
1日前
個人
フレキシブル電気化学素子
15日前
日本発條株式会社
積層体
26日前
ローム株式会社
半導体装置
24日前
個人
防雪防塵カバー
26日前
ローム株式会社
半導体装置
24日前
ローム株式会社
半導体装置
24日前
日新イオン機器株式会社
イオン源
11日前
株式会社ユーシン
操作装置
15日前
ローム株式会社
半導体装置
2日前
ローム株式会社
半導体装置
22日前
ローム株式会社
半導体装置
17日前
太陽誘電株式会社
全固体電池
22日前
株式会社GSユアサ
蓄電設備
15日前
株式会社ホロン
冷陰極電子源
22日前
株式会社ホロン
冷陰極電子源
9日前
株式会社GSユアサ
蓄電設備
15日前
株式会社GSユアサ
蓄電装置
22日前
オムロン株式会社
電磁継電器
16日前
株式会社GSユアサ
蓄電装置
26日前
太陽誘電株式会社
コイル部品
15日前
個人
半導体パッケージ用ガラス基板
25日前
ローム株式会社
電子装置
26日前
北道電設株式会社
配電具カバー
1日前
TDK株式会社
電子部品
22日前
サクサ株式会社
電池の固定構造
15日前
トヨタ自動車株式会社
バッテリ
1日前
日本特殊陶業株式会社
保持装置
4日前
ノリタケ株式会社
熱伝導シート
15日前
トヨタ自動車株式会社
バッテリ
16日前
日本特殊陶業株式会社
保持装置
26日前
日本特殊陶業株式会社
保持装置
24日前
トヨタ自動車株式会社
蓄電装置
15日前
トヨタ自動車株式会社
冷却構造
3日前
日本特殊陶業株式会社
保持装置
22日前
続きを見る
他の特許を見る