TOP
|
特許
|
意匠
|
商標
特許ウォッチ
Twitter
他の特許を見る
公開番号
2025159765
公報種別
公開特許公報(A)
公開日
2025-10-22
出願番号
2024062499
出願日
2024-04-09
発明の名称
ガス供給装置
出願人
トヨタ自動車株式会社
代理人
弁理士法人 快友国際特許事務所
主分類
F17C
13/00 20060101AFI20251015BHJP(ガスまたは液体の貯蔵または分配)
要約
【課題】本明細書は、ガスカートリッジを着脱することができるガス供給装置に関し、ガスカートリッジの主止弁にコネクタを接続する際に不純物が混入することを防止する技術を提供する。
【解決手段】本明細書が開示するガス供給装置は、ガスカートリッジの主止弁とコネクタの周囲を外気から遮断するカバーと、コネクタと主止弁が非接続状態において、カバーの内側空間から不純物を除去する除去装置を備える。ガス供給装置のコントローラは、除去装置によって内側空間から不純物が除去されたら主止弁とコネクタを接続し、主止弁を開弁する。本明細書が開示するガス供給装置は、主止弁とコネクタの周囲を外気から遮断し、主止弁の周囲から不純物を除去する。それゆえ、ガス供給デバイスへの不純物の混入を防止することができる。
【選択図】図2
特許請求の範囲
【請求項1】
水素が貯蔵されているとともに前記水素を封止している主止弁を備えているガスカートリッジが装着可能なコネクタを有し、前記コネクタに接続するガス流路を介して水素利用デバイスに水素を供給するガス供給装置であり、
装着された前記ガスカートリッジの前記主止弁と前記コネクタの周囲を外気から遮断するカバーと、
前記コネクタと前記主止弁が非接続状態において前記カバーの内側空間から不純物を除去する除去装置と、
前記除去装置によって前記内側空間から前記不純物が除去されたら前記主止弁と前記コネクタを接続し、前記主止弁を開弁するコントローラと、
を備えている、ガス供給装置。
続きを表示(約 350 文字)
【請求項2】
前記ガスカートリッジと前記コネクタの一方を他方に近づけるアクチュエータを備えており、
前記アクチュエータが前記ガスカートリッジを第1位置まで前記コネクタに近づけると前記カバーが前記ガスカートリッジに密着し、第1位置よりも前記コネクタに近い第2位置まで前記ガスカートリッジを前記コネクタに近づけると前記コネクタのプッシュロッドが前記主止弁に当接して前記主止弁を開く、
請求項1に記載のガス供給装置。
【請求項3】
前記カバーは前記ガスカートリッジの全体を外気から遮断する、請求項1に記載のガス供給装置。
【請求項4】
前記内側空間に不活性ガスを供給する不活性ガス供給器をさらに備えている、請求項2または3に記載のガス供給装置。
発明の詳細な説明
【技術分野】
【0001】
本明細書が開示する技術は、水素が貯蔵されているガスカートリッジが装着可能であり、ガスカートリッジ内の水素を水素利用デバイスに供給するガス供給装置に関する。
続きを表示(約 1,800 文字)
【背景技術】
【0002】
水素をガスカートリッジに貯蔵し、水素利用デバイスに装着する技術が提案されている(例えば特許文献1)。水素利用デバイスの例は、燃料電池である。特許文献1には、水素利用デバイスに着脱可能なガスカートリッジが開示されている。そのカートリッジは、水素利用デバイスに装着する動作でガスカートリッジの主止弁が水素利用デバイス側のコネクタに接続される。
【先行技術文献】
【特許文献】
【0003】
特開2023-56952号公報
【発明の概要】
【発明が解決しようとする課題】
【0004】
ガスカートリッジの主止弁にコネクタを接続する際、コネクタの周囲に不純物が存在すると、水素とともに不純物が水素利用デバイスに混入するおそれがある。本明細書は、主止弁にコネクタを接続する際に不純物が混入することを防止する技術を提供する。不純物には、個体だけでなく、液体、気体が含まれ得る。水素利用デバイスが燃料電池の場合、空気中の酸素も不純物となり得る。混入した酸素と水素がアノード触媒上で反応して直接反応が生じると、触媒が劣化するからである。
【課題を解決するための手段】
【0005】
本明細書が開示するガス供給装置は、水素が貯蔵されているとともに水素を封止している主止弁を備えているガスカートリッジが装着可能なコネクタを有し、コネクタに接続するガス流路を介して水素利用デバイスに水素を供給する装置である。ガス供給装置は、装着されたガスカートリッジの主止弁とコネクタの周囲を外気から遮断するカバーと、コネクタと主止弁が非接続状態においてカバーの内側空間から不純物を除去する除去装置を備える。ガス供給装置のコントローラは、除去装置によって内側空間から不純物が除去されたら主止弁とコネクタを接続し主止弁を開弁する。なお、除去装置は、内側空間の全ての不純物を除去する必要はなく、水素利用デバイスへの影響が小さくなる程度に不純物を除去すればよい。本明細書が開示するガス供給装置は、主止弁とコネクタの周囲を外気から遮断し、コネクタを接続するのに先立って主止弁の周囲から不純物を除去する。それゆえ、水素利用デバイスへの不純物の混入を防止することができる。
【0006】
本明細書が開示する技術の詳細とさらなる改良は以下の「発明を実施するための形態」にて説明する。
【図面の簡単な説明】
【0007】
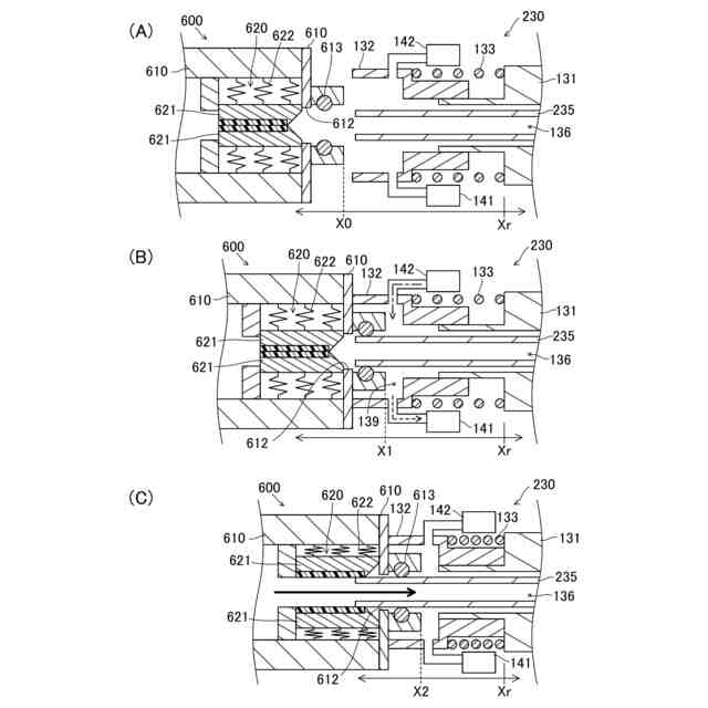
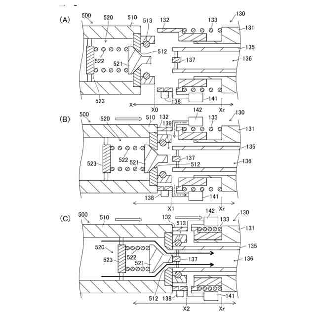
ガス供給装置100の断面図である。
コネクタ周辺の断面図である。
変形例のコネクタの周辺の断面図である。
第2実施例のガス供給装置300の断面図である。
【発明を実施するための形態】
【0008】
図面を参照して実施例のガス供給装置100を説明する。図1に、ガス供給装置100の断面図を示す。ガス供給装置100は、ガスカートリッジ500に貯蔵された水素を燃料電池900に供給する装置である。燃料電池900が水素利用デバイスの一例に相当する。
【0009】
ガスカートリッジ500は、ガス供給装置100に着脱自在である。図1の符号500aは、ガス供給装置100に装着する前のガスカートリッジを示している。ガスカートリッジ500aは、ユーザによって、ガス供給装置100の筐体110のカートリッジ収容空間111に差し込まれる。ガスカートリッジ500の口金510にはフランジ511が備えられている。ユーザは、ガスカートリッジ500をカートリッジ収容空間111に差し込み、ガスカートリッジ500を回転させる。カートリッジ収容空間111にはカートリッジホルダ120が備えられている。カートリッジ収容空間111の中でガスカートリッジ500が回転すると、フランジ511がカートリッジホルダ120にロックされる。
【0010】
ガスカートリッジ500をカートリッジホルダ120にロックする構造は、回転によるロック機構に限定せず、直線的な挿入時の摩擦力でロックする構造であってもよい。また、アクチュエータを使用せず手動でガスカートリッジ500を押し込み、その勢いでロックする構造であってもよい。フランジ511(すなわちガスカートリッジ500)をロックする機構についての詳細な説明は割愛する。
(【0011】以降は省略されています)
この特許をJ-PlatPat(特許庁公式サイト)で参照する
関連特許
トヨタ自動車株式会社
車両
16日前
トヨタ自動車株式会社
車両
29日前
トヨタ自動車株式会社
車両
1か月前
トヨタ自動車株式会社
車両
1か月前
トヨタ自動車株式会社
電池
2日前
トヨタ自動車株式会社
電池
1か月前
トヨタ自動車株式会社
車体
1か月前
トヨタ自動車株式会社
車両
3日前
トヨタ自動車株式会社
方法
1か月前
トヨタ自動車株式会社
車両
1か月前
トヨタ自動車株式会社
配管
3日前
トヨタ自動車株式会社
方法
1か月前
トヨタ自動車株式会社
方法
1か月前
トヨタ自動車株式会社
電池
8日前
トヨタ自動車株式会社
方法
1か月前
トヨタ自動車株式会社
電池
29日前
トヨタ自動車株式会社
方法
29日前
トヨタ自動車株式会社
車両
25日前
トヨタ自動車株式会社
治具
24日前
トヨタ自動車株式会社
車両
23日前
トヨタ自動車株式会社
車両
23日前
トヨタ自動車株式会社
車両
17日前
トヨタ自動車株式会社
方法
16日前
トヨタ自動車株式会社
電池
17日前
トヨタ自動車株式会社
車両
16日前
トヨタ自動車株式会社
車体
16日前
トヨタ自動車株式会社
方法
1か月前
トヨタ自動車株式会社
車両
1か月前
トヨタ自動車株式会社
車両
2日前
トヨタ自動車株式会社
車両
1か月前
トヨタ自動車株式会社
椅子
1か月前
トヨタ自動車株式会社
加熱器
1か月前
トヨタ自動車株式会社
モータ
1か月前
トヨタ自動車株式会社
モータ
15日前
トヨタ自動車株式会社
正極層
29日前
トヨタ自動車株式会社
蓄電池
16日前
続きを見る
他の特許を見る