TOP
|
特許
|
意匠
|
商標
特許ウォッチ
Twitter
他の特許を見る
10個以上の画像は省略されています。
公開番号
2025159763
公報種別
公開特許公報(A)
公開日
2025-10-22
出願番号
2024062494
出願日
2024-04-09
発明の名称
ボビン及びトランス装置
出願人
新電元工業株式会社
代理人
個人
,
個人
,
個人
主分類
H01F
30/10 20060101AFI20251015BHJP(基本的電気素子)
要約
【課題】漏れインダクタンスの調整に適し、また小型化が可能なボビン及びトランス装置を提供すること。
【解決手段】トランス装置(1)に用いられるボビン(10)は、巻き軸方向(15)に並設される第一筒部(11)及び第二筒部(12)と、第一筒部及び第二筒部との連結部から鍔状に突出するセパレート部(13)とを備える。第一筒部(11)には一次巻線(21)が巻回され、第二筒部(12)には二次巻線(22)が巻回される。セパレート部(13)の第一筒部側の壁面(131)には一次巻線(21)の螺旋勾配に適合した角度の傾斜壁面(131A)が形成され、第二筒部側の壁面(132)には二次巻線(22)の螺旋勾配に適合した角度の傾斜壁面(132A)が形成される。
【選択図】図1
特許請求の範囲
【請求項1】
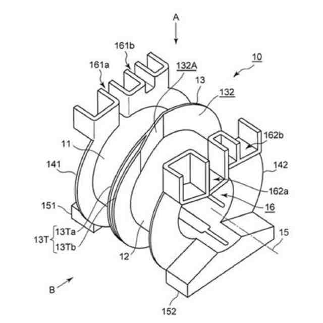
一次巻線が巻回される第一筒部と、二次巻線が巻回される第二筒部とが同一の軸方向において連結して並設されたボビンであって、
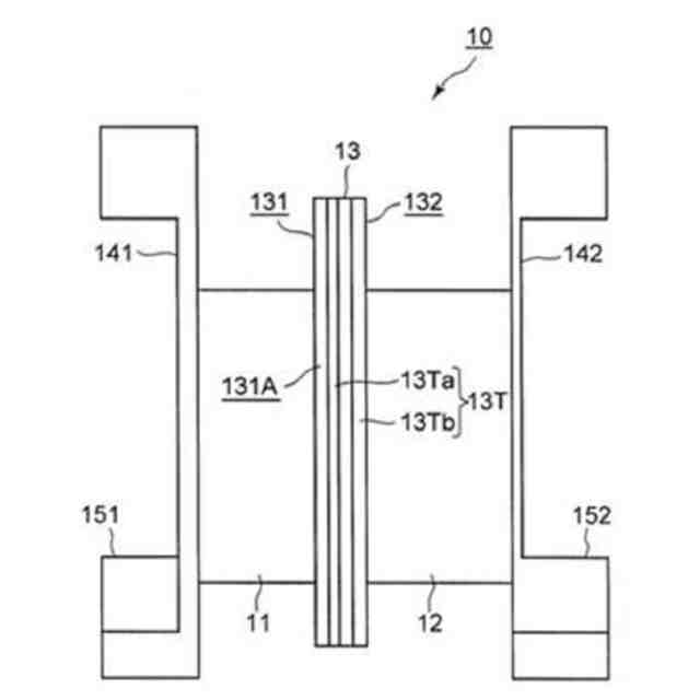
前記第一筒部と前記第二筒部との連結部から鍔状に突出することで当該第一筒部と第二筒部とを画し前記軸方向と交差する方向に沿って設けられるセパレート部を備え、
前記セパレート部の前記第一筒部側および前記第二筒部側の少なくともいずれか一方が、前記軸方向と直交する方向に対し所定の傾斜角度で傾斜する傾斜壁面を有しているボビン。
続きを表示(約 1,100 文字)
【請求項2】
前記セパレート部の前記第一筒部側の傾斜壁面の長さが前記一次巻線の螺旋勾配に適合し、前記一次巻線の螺旋勾配は、前記一次巻線の線径に対応している請求項1に記載のボビン。
【請求項3】
前記セパレート部の前記第二筒部側の傾斜壁面の長さが前記二次巻線の螺旋勾配に適合し、前記二次巻線の螺旋勾配は、前記二次巻線の線径に対応している請求項1に記載のボビン。
【請求項4】
前記巻線の螺旋勾配は、前記巻線の線径が大きい側が相対的に大きくなるとともに、前記巻線の線径が小さい側が相対的に小さくなり、
前記セパレート部の傾斜壁面の長さは、前記螺旋勾配に適合して、前記巻き回される巻線の線径が大きい筒部側が相対的に大きく設定されるとともに、前記巻き回される巻線の線径が小さい筒部側が相対的に小さく設定されることを特徴とする請求項1に記載のボビン。
【請求項5】
前記二次巻線の線径は、前記一次巻線の線径よりも大きく設定されるとともに、前記巻線の螺旋勾配は、前記二次巻線が相対的に大きくなり、前記一次巻線が相対的に小さくなり、
前記セパレート部の傾斜壁面の長さは、前記螺旋勾配に適合して、前記二次巻線が巻き回される前記第二筒部側が相対的に長く設定されるとともに、前記一次巻線が巻き回される前記第一筒部側が相対的に短く設定されることを特徴とする請求項1に記載のボビン。
【請求項6】
前記セパレート部の一部が、前記一次巻線及び前記二次巻線の各線径の差に基づく最大厚みを有している請求項1~5の何れか1項に記載のボビン。
【請求項7】
前記セパレート部の一部は、前記軸方向に沿って相互に離間する2枚の薄板により構成されるとともに、前記2枚の薄板間の間隔を所定に設定することにより、前記各線径の差に基づく前記最大厚みが形成されることを特徴とする請求項6に記載のボビン。
【請求項8】
前記2枚の薄板の内面間を所定に連結して補強するリブを有し、前記リブにより、前記巻線が巻き回されたときの前記軸方向に沿った前記傾斜壁面の内面側への撓みを規制することを特徴とする請求項1に記載のボビン。
【請求項9】
前記セパレート部の前記第一筒部側の傾斜壁面の傾斜角度が前記一次巻線の螺旋勾配に適合し、前記一次巻線の螺旋勾配は、前記一次巻線の線径に対応している請求項1に記載のボビン。
【請求項10】
前記セパレート部の前記第二筒部側の傾斜壁面の傾斜角度が前記二次巻線の螺旋勾配に適合し、前記二次巻線の螺旋勾配は、前記二次巻線の線径に対応している請求項1に記載のボビン。
(【請求項11】以降は省略されています)
発明の詳細な説明
【技術分野】
【0001】
本発明は、トランスコイルの本体として用いられるボビン、及びそれを用いたトランス装置に関する。
続きを表示(約 1,400 文字)
【背景技術】
【0002】
従来、例えばプラグインハイブリッド車両(PHV)等の充電器には共振型コンバータが用いられている。このような共振型コンバータでは、トランスに接続されたコンデンサとの共振を利用して電流ノイズ成分を低減し変換効率の向上が図られている。共振型コンバータに用いられるトランスでは、所定の共振インダクタンス(励磁インダクタンス及び漏れインダクタンス)を得るために、巻線の巻き幅、巻き数(ターン数)、ボビンの径寸法、コアギャップ等の設計パラメータの調整が極めて重要である。
【0003】
従来、そのようなトランスコイルに用いられるボビンとして、一次巻線が巻回される第一筒部と、二次巻線が巻回される第二筒部とが軸方向において並設され、これら第一筒部と第二筒部とを軸方向において画すセパレート部を備えたものが知られている(例えば特許文献1、2参照)。
【先行技術文献】
【特許文献】
【0004】
特開2017-183524号公報
特開2022-141446号公報
【発明の概要】
【発明が解決しようとする課題】
【0005】
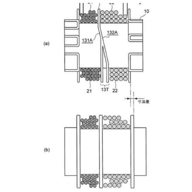
上述した従来のボビンでは、セパレート部がフラットな形状であるために、巻線の1層ごとの巻き初めから巻き終わりにかけて1巻線分のデッドスペースが生じていた(例えば図4参照)。そのような巻線のデッドスペースの存在は、漏れインダクタンス(リーケージインダクタンス)に影響を及ぼすとともに、ボビンを小型化する上での障害にもなっていた。
【0006】
本発明は、漏れインダクタンス等の調整に適しており、また小型化が可能なボビン及びそれを備えたトランス装置を提供することを目的とする。
【課題を解決するための手段】
【0007】
上述した課題を解決するため、本発明は、一次巻線が巻回される第一筒部と、二次巻線が巻回される第二筒部とが同一の軸方向において連結して並設されたボビンであって、前記第一筒部と前記第二筒部との連結部から鍔状に突出することで当該第一筒部と第二筒部とを画し前記軸方向と交差する方向に沿って設けられるセパレート部を備え、前記セパレート部が、前記軸方向と直交する方向に対し所定の傾斜角度で傾斜する傾斜壁面を有しているボビンである。
【0008】
この構成のボビンによれば、第一筒部と第二筒部とを画すセパレート部の壁面の一部を傾斜壁面としたことで、セパレート部に沿って巻回される巻線のスペースを形成し、それによりボビンの全長方向(巻き軸方向)における寸法を短縮することができる。
【0009】
また、ボビンは、前記セパレート部の前記第一筒部側の傾斜壁面の長さが前記一次巻線の螺旋勾配に適合し、前記一次巻線の螺旋勾配は、前記一次巻線の線径に対応していることが好ましい。
【0010】
この構成のボビンによれば、セパレート部の第一筒部側の傾斜壁面の長さが一次巻線の螺旋勾配に適合し、一次巻線の螺旋勾配は、一次巻線の線径に対応していることにより、セパレート部の壁面に沿って巻回される一次巻線のスペースを形成し、それによりボビンの全長方向(巻き軸方向)における寸法を短縮することができる。
(【0011】以降は省略されています)
この特許をJ-PlatPat(特許庁公式サイト)で参照する
関連特許
新電元工業株式会社
電源装置及び制御方法
26日前
新電元工業株式会社
ボビン及びトランス装置
28日前
新電元工業株式会社
半導体モジュール及び電子回路
12日前
新電元工業株式会社
テープ剥離装置及びテープ剥離方法
5日前
新電元工業株式会社
ウェーハ搬送用ベルヌーイチャック
27日前
東ソー株式会社
絶縁電線
28日前
APB株式会社
蓄電セル
26日前
個人
フレキシブル電気化学素子
1か月前
株式会社東芝
端子台
20日前
ローム株式会社
半導体装置
1か月前
日新イオン機器株式会社
イオン源
1か月前
株式会社ユーシン
操作装置
1か月前
ローム株式会社
半導体装置
27日前
マクセル株式会社
電源装置
20日前
株式会社GSユアサ
蓄電装置
21日前
株式会社GSユアサ
蓄電装置
21日前
オムロン株式会社
電磁継電器
1か月前
株式会社GSユアサ
蓄電装置
13日前
株式会社ホロン
冷陰極電子源
1か月前
三菱電機株式会社
回路遮断器
7日前
株式会社GSユアサ
蓄電設備
1か月前
株式会社GSユアサ
蓄電設備
1か月前
太陽誘電株式会社
コイル部品
1か月前
トヨタ自動車株式会社
蓄電装置
21日前
北道電設株式会社
配電具カバー
26日前
日新イオン機器株式会社
基板処理装置
23日前
トヨタ自動車株式会社
バッテリ
1か月前
トヨタ自動車株式会社
冷却構造
28日前
日本特殊陶業株式会社
保持装置
29日前
日東電工株式会社
積層体
1か月前
トヨタ自動車株式会社
バッテリ
26日前
日本特殊陶業株式会社
保持装置
12日前
ノリタケ株式会社
熱伝導シート
1か月前
トヨタ自動車株式会社
蓄電装置
1か月前
サクサ株式会社
電池の固定構造
1か月前
東レエンジニアリング株式会社
実装装置
1か月前
続きを見る
他の特許を見る