TOP
|
特許
|
意匠
|
商標
特許ウォッチ
Twitter
他の特許を見る
10個以上の画像は省略されています。
公開番号
2025159737
公報種別
公開特許公報(A)
公開日
2025-10-22
出願番号
2022143717
出願日
2022-09-09
発明の名称
加熱調理器
出願人
パナソニックIPマネジメント株式会社
代理人
個人
,
個人
主分類
A47J
27/00 20060101AFI20251015BHJP(家具;家庭用品または家庭用設備;コーヒーひき;香辛料ひき;真空掃除機一般)
要約
【課題】より単純な構造を有する軽量な加熱調理器を提供する。
【解決手段】本発明における加熱調理器は、鍋と、鍋を収容する筐体と、鍋に対向して配置され鍋を加熱する加熱部と、被調理物を収容する有底筒状の容器とを備える。容器の底部には、被調理物の通過を阻害する一方で水の通過を許容する複数の穴部が形成されている。容器は、鍋内において、鍋との間に複数の穴部を除いて密閉された水収容空間を形成する調理位置に配置される。容器が調理位置にあるときに、加熱部が鍋を加熱することによって、水収容空間に収容された水の一部が鍋を介して加熱されて気化し、水収容空間に収容された水の残部の一部が複数の穴部を通じて容器の内部に移動するように構成されている。
【選択図】図2
特許請求の範囲
【請求項1】
鍋と、
前記鍋を収容する筐体と、
前記鍋に対向して配置され、前記鍋を加熱する加熱部と、
被調理物を収容する有底筒状の容器と、
を備え、
前記容器の底部には、前記被調理物の通過を阻害する一方で水の通過を許容する複数の穴部が形成され、
前記容器は、前記鍋内において、前記鍋との間に前記複数の穴部を除いて密閉された水収容空間を形成する調理位置に配置され、
前記容器が前記調理位置にあるときに、前記加熱部が前記鍋を加熱することによって、前記水収容空間に収容された水の一部が前記鍋を介して加熱されて気化し、前記水収容空間に収容された水の残部の一部が前記複数の穴部を通じて前記容器の内部に移動するように構成された、加熱調理器。
続きを表示(約 1,200 文字)
【請求項2】
前記水収容空間に配置され、前記水収容空間に収容された水を前記複数の穴部に導く筒状の導水部材を備え、
前記導水部材は、上下方向に延在し、上方開口部及び下方開口部を有し、
前記上方開口部は、上下方向に見た平面視において前記複数の穴部を囲み、
前記導水部材は、前記水収容空間を、
前記導水部材の内部空間を含み、前記複数の穴部と前記下方開口部とを液体連通する第1空間と、前記下方開口部を除いて密閉された第2空間とに区画するように構成された、請求項1に記載の加熱調理器。
【請求項3】
前記導水部材は、前記上方開口部から下向きに先細りになったテーパ形状であるテーパ部を有し、
前記平面視において、前記下方開口部の面積は、前記上方開口部の面積よりも小さい、請求項2に記載の加熱調理器。
【請求項4】
前記水収容空間に配置され、前記平面視において前記導水部材を囲む筒状の周壁部を備え、
前記周壁部は、前記導水部材を囲む閉鎖された上縁部と、下方開口部と、を有し、
前記加熱部は、前記平面視において前記周壁部の下方開口部に囲まれるように配置され、
前記周壁部は、前記導水部材との間に壁内空間を形成するように構成された、請求項2又は3に記載の加熱調理器。
【請求項5】
前記容器が前記調理位置にあるときに、前記周壁部の下方開口部の最下部は、前記導水部材の下方開口部の最下部よりも下方に位置する、請求項4に記載の加熱調理器。
【請求項6】
前記周壁部の上縁部は、前記導水部材の外面に接続して閉鎖され、
前記導水部材には、水を収容した前記鍋内に前記導水部材を配置するときに、前記鍋内に収容された水を前記周壁部の外方の空間から前記導水部材の内部に移動させるための通水開口部が形成される、請求項4に記載の加熱調理器。
【請求項7】
前記導水部材には、水を収容した前記鍋内に前記導水部材を配置するときに、前記壁内空間中の気体を前記導水部材の内部に排出するための排気穴部が形成され、
前記排気穴部の開口面積は、前記通水開口部の開口面積よりも小さい、請求項6に記載の加熱調理器。
【請求項8】
前記鍋と前記容器の側部との間の隙間を塞ぐ密閉部材を備える、請求項1~3のいずれか1つに記載の加熱調理器。
【請求項9】
前記加熱部は、前記容器が前記調理位置にあるときに、前記水収容空間に収容された水が前記容器の内部に進入した後、加熱力を一定に維持する、請求項1~3のいずれか1つに記載の加熱調理器。
【請求項10】
前記被調理物は、米であり、
前記複数の穴部は、前記容器に収容される米の最小幅よりも小さい最小幅を有する、請求項1~3のいずれか1つに記載の加熱調理器。
(【請求項11】以降は省略されています)
発明の詳細な説明
【技術分野】
【0001】
本発明は、被調理物を水に浸した浸水状態と水から分離した非浸水状態との間で変更する加熱調理器に関する。
続きを表示(約 1,900 文字)
【背景技術】
【0002】
従来、この種の加熱調理器としては、例えば、特許文献1に記載のものが知られている。特許文献1には、水を収容する鍋(内釜)と、鍋内に設置され被調理物(米)を収容する容器(ザル)と、鍋を加熱する加熱部と、容器を鍋内で昇降させる昇降手段とを備える加熱調理器(炊飯器)が開示されている。
【先行技術文献】
【特許文献】
【0003】
特開平8-38351号公報
【発明の概要】
【発明が解決しようとする課題】
【0004】
特許文献1の加熱調理器には、加熱調理器の構造をより単純な構造とし、加熱調理器を軽量化するという観点で未だ改善の余地がある。
【0005】
本発明の目的は、前記課題を解決することにあって、より単純な構造を有する軽量な加熱調理器を提供することにある。
【課題を解決するための手段】
【0006】
本発明に係る加熱調理器は、
鍋と、
前記鍋を収容する筐体と、
前記鍋に対向して配置され、前記鍋を加熱する加熱部と、
被調理物を収容する有底筒状の容器と、
を備え、
前記容器の底部には、前記被調理物の通過を阻害する一方で水の通過を許容する複数の穴部が形成され、
前記容器は、前記鍋内において、前記鍋との間に前記複数の穴部を除いて密閉された水収容空間を形成する調理位置に配置され、
前記容器が前記調理位置にあるときに、前記加熱部が前記鍋を加熱することによって、前記水収容空間に収容された水の一部が前記鍋を介して加熱されて気化し、前記水収容空間に収容された水の残部の一部が前記複数の穴部を通じて前記容器の内部に移動するように構成されている。
【発明の効果】
【0007】
本発明に係る加熱調理器によれば、より単純な構造を有する軽量な加熱調理器を提供することができる。
【図面の簡単な説明】
【0008】
本発明の第1実施形態に係る炊飯器の分解斜視図である。
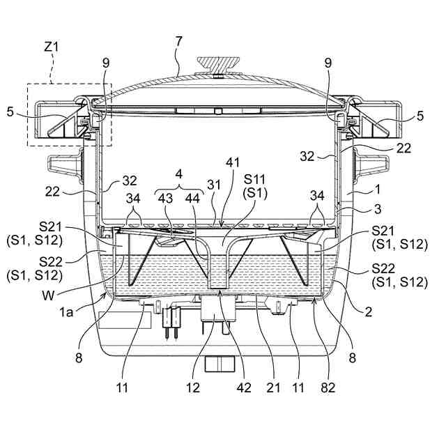
本発明の第1実施形態に係る炊飯器の模式断面図であり、水収容空間に水が収容された状態を示す図である。
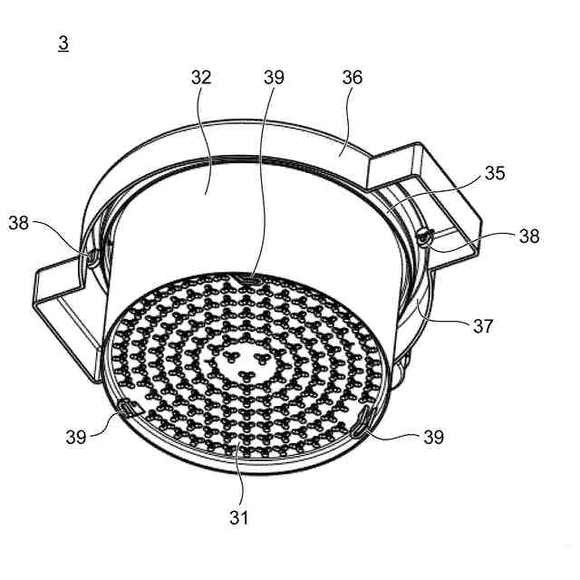
図1に示す容器を上から見た斜視図である。
図3の容器の底部の平面拡大図である。
図2におけるZ1領域の拡大図であり、保持部材が保持位置にある状態を示す図である。
図2におけるZ1領域の拡大図であり、保持部材が解放位置にある状態を示す図である。
図3の容器を下から見た斜視図である。
図1に示す導水部材を上から見た斜視図である。
図1に示す導水部材を下から見た斜視図である。
本発明の第1実施形態に係る炊飯器の模式断面図であり、水が容器の内部に進入している状態を示す図である。
図1の炊飯器を保持部材の軸部を通る面で切断した断面のうち、図2におけるZ1領域を示す拡大断面図であって、保持部材が保持位置にある状態を示す図である。
図1の炊飯器を保持部材の軸部を通る面で切断した断面のうち、図2におけるZ1領域を示す拡大断面図であって、保持部材が解放位置にある状態を示す図である。
本発明の第2実施形態に係る炊飯器における容器を下から見た斜視図である。
図2に対応する模式断面図であり、導水部材の変形例を示す図である。
【発明を実施するための形態】
【0009】
<本発明の基礎となった知見>
本発明者らは、被調理物を浸水状態と非浸水状態との間で変更する加熱調理器において、その構造をより単純な構造とし、加熱調理器を軽量化するために鋭意検討した結果、以下の知見を得た。
【0010】
従来の加熱調理器を用いて被調理物を調理する場合、まず、鍋に収容された水が、加熱部によって鍋を介して加熱される。水が沸騰した後、昇降手段が容器を下降させることにより、容器に収容された被調理物は沸騰した水に浸される。すなわち、被調理物は浸水状態にされる。被調理物を一定時間煮た後、鍋内の水が完全に無くなる前に、昇降手段は容器を上昇させる。容器の上昇により、容器に収容された被調理物は、鍋内の水から揚げられ、水から発生する蒸気によって蒸される。すなわち、被調理物は非浸水状態にされる。このように、従来の加熱調理器では、昇降手段によって容器を鍋内で昇降することにより、被調理物の浸水状態と非浸水状態とを変更している。
(【0011】以降は省略されています)
この特許をJ-PlatPat(特許庁公式サイト)で参照する
関連特許
個人
箸
15日前
個人
椅子
2か月前
個人
家具
3か月前
個人
掃除機
8か月前
個人
自助箸
6か月前
個人
体洗い具
9か月前
個人
ハンガー
6か月前
個人
多用途紐
12日前
個人
ソファー
1か月前
個人
耳拭き棒
10か月前
個人
掃除用具
3か月前
個人
枕
8か月前
個人
掃除道具
8か月前
個人
枕
4か月前
個人
屋外用箒
6か月前
個人
エコ掃除機
11か月前
個人
物品
2か月前
個人
省煙消臭器
8か月前
個人
組立式棚板
6か月前
個人
掃除シート
8か月前
個人
開閉トング
5か月前
個人
片手代替具
10か月前
個人
経典表示装置
4か月前
個人
紙コップ 蓋
1か月前
個人
バターナイフ
15日前
個人
転倒防止装置
4か月前
個人
シャワー装置
5か月前
個人
中身のない枕
6か月前
個人
受け皿
5か月前
個人
洗面台
10か月前
個人
ゴミ袋保持枠
6か月前
個人
靴ベラ
1か月前
個人
コーナーシール
9か月前
個人
組立家具
9か月前
個人
矯正用枕
3か月前
個人
コーヒー抽出器
3か月前
続きを見る
他の特許を見る