TOP
|
特許
|
意匠
|
商標
特許ウォッチ
Twitter
他の特許を見る
10個以上の画像は省略されています。
公開番号
2025159654
公報種別
公開特許公報(A)
公開日
2025-10-21
出願番号
2024062390
出願日
2024-04-08
発明の名称
蓄電デバイス
出願人
プライムプラネットエナジー&ソリューションズ株式会社
代理人
個人
,
個人
,
個人
主分類
H01M
50/30 20210101AFI20251014BHJP(基本的電気素子)
要約
【課題】透過膜のシール性を向上させた蓄電デバイス。
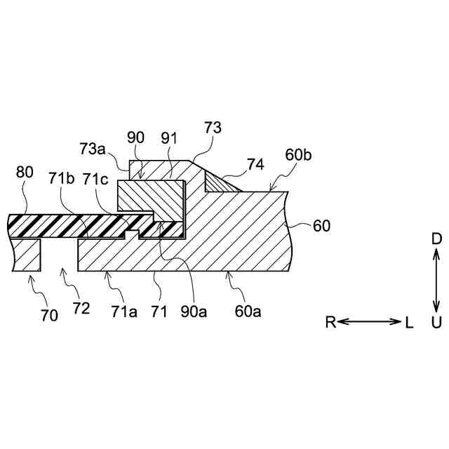
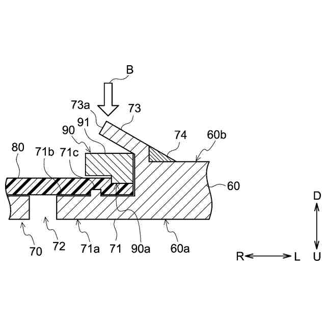
【解決手段】蓄電デバイスは、電極体と、電解質と、該電極体および電解質を収容する外装体とを備える。前記外装体の1面には開口部70が設けられており、該開口部70に配置された液体を通過させず、気体を透過させる透過膜80が備えられている。また、前記開口部70は、開口部70の内壁面から開口中心方向に張り出している張り出し部71と、該張り出し部71に対向するように前記開口部70の外周に設けられた複数のカシメ爪73と、前記透過膜80を保持する保持枠90と、を有している。前記透過膜80は、前記複数のカシメ爪73と前記張り出し部71との間に前記保持枠90がかしめられた状態で保持されることにより前記開口部70に配置されている。
【選択図】図5
特許請求の範囲
【請求項1】
電極体と、電解質と、該電極体および電解質を収容する外装体と、を備える蓄電デバイスであって、
前記外装体の1面には開口部および該開口部に配置された液体を通過させず、気体を透過させる透過膜を有しており、
開口部の内壁面から開口中心方向に張り出している張り出し部と、
該張り出し部に対向するように前記開口部の外周に設けられた複数のカシメ爪と、
前記透過膜を保持する保持枠と、を有しており、
ここで、前記透過膜は、前記複数のカシメ爪と前記張り出し部との間に前記保持枠がかしめられた状態で保持されることにより前記開口部に配置されている、蓄電デバイス。
続きを表示(約 470 文字)
【請求項2】
前記張り出し部は、前記カシメ爪に対向する面に凸部を有しており、
ここで、前記透過膜は、前記複数のカシメ爪と前記張り出し部との間に前記保持枠がかしめられることで、前記凸部が食い込むように配置されている、請求項1に記載の蓄電デバイス。
【請求項3】
前記保持枠の外縁周部には、前記張り出し部に対向して凸部が設けられており、
該保持枠の凸部は、前記張り出し部の凸部よりも前記開口部中心から外周に位置する、請求項2に記載の蓄電デバイス。
【請求項4】
前記外装体は、箱型形状であり、
前記カシメ爪は、前記外装体の短側壁側よりも、長側壁側に多く設けられている、請求項1の蓄電デバイス。
【請求項5】
前記保持枠は、該保持枠の外縁周部の一部と一部とを接続する梁部を有する、請求項1に記載の蓄電デバイス。
【請求項6】
前記開口部は、蓄電デバイスを設置した際に、外装体の上面に設けられている、請求項1から5のいずれか1項に記載の蓄電デバイス。
発明の詳細な説明
【技術分野】
【0001】
本開示は、蓄電デバイスに関する。
続きを表示(約 1,900 文字)
【背景技術】
【0002】
リチウムイオン二次電池、ニッケル水素電池その他の二次電池あるいはキャパシタ等の蓄電デバイスは、充放電により電解液が分解し、CO
2
等の気体が発生する。発生した気体によって、蓄電デバイスの外装体(電極体や電解質等を収容しているケース)は膨張することで、外装体が変形する可能性がある。このような場合には、透過膜を備えることによって、発生したガスを外装体の外に排出し、蓄電デバイスの内圧を減少させることが望ましい。
【0003】
例えば、特開2016-46021号公報では、外装体の一部に水素ガスを選択的に放出可能な膜が設けられた非水系二次電池が開示されている。上記の膜は、金属製のリングに取り付けられている。また、膜が取り付けられた金属製のリング(膜アッセンブリ)は、外装体の貫通孔に嵌められ、外装体と接合されている。これにより、外装体内部で発生した水素ガスを適宜放出することができる。
【0004】
また、ガスを放出可能な膜が、防爆弁(安全弁)と一体化した例もある。例えば、特開2013-168293号公報では、防爆弁に通気孔としての機能を持たせたバッテリパックが開示されている。該バッテリパックは、液体を通過させずに気体を選択的に通過させるとともに、内圧の上昇に伴い破断若しくは変形する通気膜を備えている。また、該通気膜の外側に重ねて配置され、かつ所定の圧力差による撓み変形によって脱落するように周縁部で係止保持された板状のプロテクタと、外部に向かって開口し、前記通気膜を介して少量の空気が通流可能な通気孔とを備えている。これにより、パックケース内へ雨水や異物が侵入するリスクを少なくすることができる。また、内圧が急上昇した際に、プロテクタが変形することで防爆弁として作用させることができる。
【先行技術文献】
【特許文献】
【0005】
特開2016-46021号公報
特開2013-168293号公報
【発明の概要】
【発明が解決しようとする課題】
【0006】
しかしながら、特開2016-46021号公報では、膜を金属製リングに取り付けて膜アッセンブリを作製する工程と、当該膜アッセンブリを外装体に接合する工程との2工程を有する。また、膜アッセンブリを外装体に接合する際に、入熱等によって膜が変形してしまう虞がある。特開2013-168293号公報では、通気膜は、防爆弁ケースとプロテクタに挟持されている。また、該プロテクタは、プロテクタ周縁の係止突起により、防爆弁ケースに保持されている。このような構成では、通気膜の十分なシール性が得られないため、電解液がリークしてしまう虞がある。また、シール性を高めるために、プロテクタに荷重を加えようとすると、通気膜が破断してしまう虞がある。
【0007】
そこで、本開示は、蓄電デバイスの透過膜のシール性を向上させ、電解液のリークを抑制した蓄電デバイスを提供することを目的とする。
【課題を解決するための手段】
【0008】
ここで開示される蓄電デバイスは、電極体と、電解質と、該電極体及び電解質とを収容する外装体と、を備える。前記蓄電デバイスは、前記外装体の1面には、開口部及び該開口部に配置された液体を通過させず、気体を透過させる透過膜を有する。また、前記蓄電デバイスは、前記開口部の内壁面から開口中心方向に張り出している張り出し部と、該張り出し部に対向するように前記開口部の外周に設けられた複数のカシメ爪と、前記透過膜を保持する保持枠とを有する。ここで、前記透過膜は、前記複数のカシメ爪と前記張り出し部との間に前記保持枠がかしめられた状態で保持されることにより前記開口部に配置されている。
【0009】
かかる蓄電デバイスによると、保持枠が張り出し部とカシメ爪によりかしめられることによって、透過膜が開口部に固定される。保持枠をかしめることで、透過膜が押し付けられる。これにより、開口部のシール性を向上させることができる。また、熱をかけることなく透過膜を組み付けることができるため、透過膜が変形することを防ぐことができる。
【0010】
ここで開示される蓄電デバイスの一態様は、前記張り出し部が、前記カシメ爪に対向する面に凸部を有している。ここで、前記透過膜は、前記複数のカシメ爪と前記張り出し部との間に前記保持枠がかしめられることで、前記凸部が食い込むように配置されている。これによって、透過膜のシール性をより高くすることができる。
(【0011】以降は省略されています)
この特許をJ-PlatPat(特許庁公式サイト)で参照する
関連特許
APB株式会社
蓄電セル
8日前
東ソー株式会社
絶縁電線
10日前
個人
フレキシブル電気化学素子
22日前
日本発條株式会社
積層体
1か月前
ローム株式会社
半導体装置
1か月前
日新イオン機器株式会社
イオン源
18日前
個人
防雪防塵カバー
1か月前
株式会社東芝
端子台
2日前
ローム株式会社
半導体装置
1か月前
ローム株式会社
半導体装置
1か月前
株式会社ユーシン
操作装置
22日前
ローム株式会社
半導体装置
9日前
ローム株式会社
半導体装置
24日前
ローム株式会社
半導体装置
29日前
マクセル株式会社
電源装置
2日前
株式会社GSユアサ
蓄電装置
1か月前
太陽誘電株式会社
コイル部品
22日前
株式会社GSユアサ
蓄電設備
22日前
株式会社GSユアサ
蓄電装置
3日前
株式会社GSユアサ
蓄電装置
3日前
株式会社GSユアサ
蓄電設備
22日前
個人
半導体パッケージ用ガラス基板
1か月前
オムロン株式会社
電磁継電器
23日前
株式会社ホロン
冷陰極電子源
16日前
株式会社GSユアサ
蓄電装置
29日前
株式会社ホロン
冷陰極電子源
29日前
太陽誘電株式会社
全固体電池
29日前
TDK株式会社
電子部品
29日前
北道電設株式会社
配電具カバー
8日前
ローム株式会社
電子装置
1か月前
サクサ株式会社
電池の固定構造
22日前
日東電工株式会社
積層体
23日前
日本特殊陶業株式会社
保持装置
29日前
日本特殊陶業株式会社
保持装置
29日前
トヨタ自動車株式会社
蓄電装置
22日前
ノリタケ株式会社
熱伝導シート
22日前
続きを見る
他の特許を見る