TOP
|
特許
|
意匠
|
商標
特許ウォッチ
Twitter
他の特許を見る
10個以上の画像は省略されています。
公開番号
2025159424
公報種別
公開特許公報(A)
公開日
2025-10-21
出願番号
2024061953
出願日
2024-04-08
発明の名称
送風装置
出願人
東芝ホームテクノ株式会社
代理人
弁理士法人牛木国際特許事務所
主分類
F04D
25/16 20060101AFI20251014BHJP(液体用容積形機械;液体または圧縮性流体用ポンプ)
要約
【課題】送風装置の大きさを抑制しつつ、静圧(風圧)を高めた送風装置を提供することを目的とする。
【解決手段】本発明の送風装置1は、第1の送風ファン2と、第2の送風ファン3と、モータユニット4と、第1の送風ファン2と第2の送風ファン3とモータユニット4を収容するケーシング5と、を備え、第1の送風ファン2と第2の送風ファン3が連結され、モータユニット4がケーシング5に保持され、モータユニット4により、第1の送風ファン2と第2の送風ファン3が一体となって回転可能である。
【選択図】図5
特許請求の範囲
【請求項1】
第1の送風ファンと、
第2の送風ファンと、
モータユニットと、
前記第1の送風ファンと前記第2の送風ファンと前記モータユニットを収容するケーシングと、を備え、
前記第1の送風ファンと前記第2の送風ファンが連結され、
前記モータユニットが前記ケーシングに保持され、
前記モータユニットにより、前記第1の送風ファンと前記第2の送風ファンが一体となって回転可能であることを特徴とする送風装置。
続きを表示(約 540 文字)
【請求項2】
前記第1の送風ファンの直径と前記第2の送風ファンの直径が同一であることを特徴とする請求項1に記載の送風装置。
【請求項3】
前記第1の送風ファンの回転軸と前記第2の送風ファンの回転軸が同軸上に位置することを特徴とする請求項1に記載の送風装置。
【請求項4】
前記ケーシングが上段、中段、下段の3段構造を有し、
前記ケーシングには空気を取り込む吸気口と前記空気を排出する排気口が形成され、
前記吸気口から取り込まれた前記空気は、前記上段の内部空間、前記中段の内部空間、前記下段の内部空間を流動し、前記排気口から排出されることを特徴とする請求項1に記載の送風装置。
【請求項5】
前記上段の内部空間と前記中段の内部空間を仕切る仕切部には、前記空気が通過する経路孔が形成されており、
前記経路孔は、前記第1の送風ファンの直径よりも外側に位置し、
前記空気が前記経路孔を通過して前記中段の内部空間に流入することを特徴とする請求項4に記載の送風装置。
【請求項6】
前記経路孔の開口面積は、前記排気口の開口面積以上であることを特徴とする請求項5に記載の送風装置。
発明の詳細な説明
【技術分野】
【0001】
本発明は、複数の送風ファンを1つの筐体に収容した送風装置に関する。
続きを表示(約 1,600 文字)
【背景技術】
【0002】
従来、送風量を高めるため、ファンを複数設けた横長ファンモータが知られている(特許文献1参照)。特許文献1に記載の横長ファンモータ(1)は、ファン(3)を収容したファン収容体(4)を連結板(32)で連結し、ケーシング(5)を形成している。そして、各ファン収容体(4)の孔(13)から空気を取り込み排気孔12から排気している。
【0003】
特許文献1に記載された横長ファンモータ(1)は、ファン(3)を複数設けることでファンモータ全体としての送風量を高めることができるが、静圧(風圧)を高める構造を有していなかった。
【先行技術文献】
【特許文献】
【0004】
特開2005-240603号公報
【発明の概要】
【発明が解決しようとする課題】
【0005】
そのため、フィルタ等を備えた機器に搭載される場合には、フィルタを通過して吸気や排気する際に抵抗が大きくなるため、ファン(3)の回転数を上げるか、ファン(3)の数を増やすか、ファン(3)のサイズを大きくする必要がある。ファン(3)の回転数を上げる場合には、消費電力の上昇や騒音増大の問題があった。また、ファン(3)の数を増やしたり、大きくした場合には、横長ファンモータ(1)全体の大きさが大きくなってしまうという問題があった。
【0006】
そこで、本発明は、以上の課題を解決し、送風装置の大きさを抑制しつつ、静圧(風圧)を高めた送風装置を提供することを目的とする。
【課題を解決するための手段】
【0007】
本発明の送風装置は、第1の送風ファンと、第2の送風ファンと、モータユニットと、前記第1の送風ファンと前記第2の送風ファンと前記モータユニットを収容するケーシングと、を備え、前記第1の送風ファンと前記第2の送風ファンが連結され、前記モータユニットが前記ケーシングに保持され、前記モータユニットにより、前記第1の送風ファンと前記第2の送風ファンが一体となって回転可能であることを特徴とする。
【発明の効果】
【0008】
本願発明によれば、送風装置の大きさを抑制しつつ、静圧(風圧)を高めることができる。
【図面の簡単な説明】
【0009】
本発明の一実施形態の送風装置の斜視図である。
図1のA断面における、(A)平面図と、(B)背面側斜視図と、(C)正面側斜視図である。
図1のB断面における、(A)平面図と、(B)背面側斜視図と、(C)正面側斜視図である。
図1のC断面における、(A)平面図と、(B)正面側斜視図である。
図1のD-D断面における、(A)斜視図と、(B)正面図である。
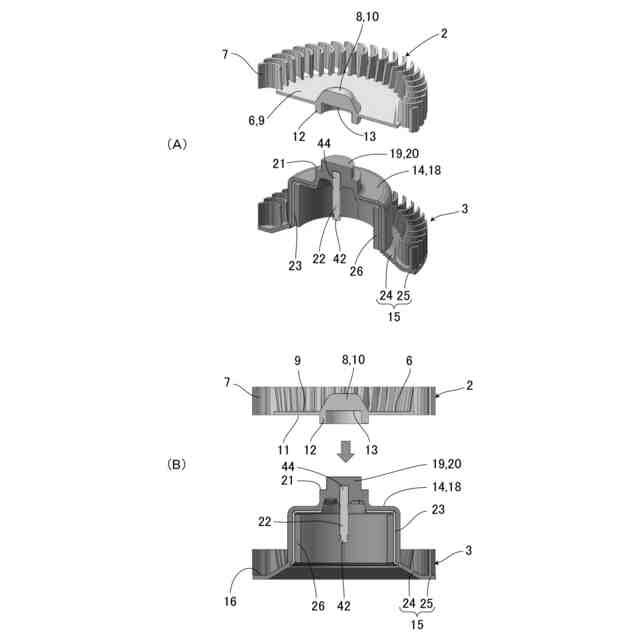
図1のD-D断面における、第1の遠心ファンと第2の遠心ファンの固着前の、(A)斜視図と、(B)正面図である。
図1のD-D断面における、第1の遠心ファンと第2の遠心ファンの固着後の、(A)斜視図と、(B)正面図である。
図1のE-E断面図である。
本発明の一実施形態の空気の流れを示す正面側透視斜視図である。
本発明の一実施形態の空気の流れを示す透視正面図である。
本発明の一実施形態の空気の流れを示す背面側透視斜視図である。
従来の送風装置と本発明の一実施形態の送風装置のP-Q特性を示す説明図である。
【発明を実施するための形態】
【0010】
以下、本発明における好ましい送風装置の実施形態について、添付図面を参照して説明する。以下に説明される構成の全てが、本発明の必須要件であるとは限らない。
(【0011】以降は省略されています)
この特許をJ-PlatPat(特許庁公式サイト)で参照する
関連特許
個人
海流製造装置。
1か月前
株式会社スギノマシン
圧縮機
19日前
株式会社ツインバード
送風装置
1か月前
ダイニチ工業株式会社
空調装置
4か月前
株式会社ツインバード
送風装置
1か月前
カヤバ株式会社
電動ポンプ
2か月前
日機装株式会社
遠心ポンプ
11日前
株式会社不二越
蓄圧装置
2か月前
ビッグボーン株式会社
送風装置
2か月前
株式会社ニクニ
液封式ポンプ装置
4か月前
株式会社ノーリツ
ロータリ圧縮機
1か月前
株式会社酉島製作所
ポンプ
3か月前
サンデン株式会社
スクロール圧縮機
25日前
株式会社不二越
ベーンポンプ
3か月前
樫山工業株式会社
真空ポンプ
20日前
株式会社坂製作所
スクロール圧縮機
3か月前
株式会社ノーリツ
ロータリー圧縮機
3か月前
サンデン株式会社
スクロール圧縮機
25日前
小倉クラッチ株式会社
ルーツブロア
3か月前
サンデン株式会社
スクロール圧縮機
25日前
株式会社豊田自動織機
流体機械
1か月前
株式会社コスメック
ピストン型ポンプ
4か月前
株式会社島津製作所
真空ポンプ
1か月前
エドワーズ株式会社
真空ポンプ
1か月前
株式会社島津製作所
真空ポンプ
2か月前
株式会社アイシン
ポンプケース
1か月前
株式会社チロル
送風機、送風機付衣服
2か月前
株式会社豊田自動織機
電動圧縮機
2か月前
株式会社豊田自動織機
電動圧縮機
2か月前
已久工業股ふん有限公司
空気圧縮機構造
2か月前
株式会社豊田自動織機
電動圧縮機
2か月前
株式会社豊田自動織機
電動圧縮機
2か月前
株式会社豊田自動織機
電動圧縮機
2か月前
株式会社豊田自動織機
電動圧縮機
1か月前
株式会社豊田自動織機
電動圧縮機
1か月前
株式会社豊田自動織機
電動圧縮機
1か月前
続きを見る
他の特許を見る