TOP
|
特許
|
意匠
|
商標
特許ウォッチ
Twitter
他の特許を見る
公開番号
2025158561
公報種別
公開特許公報(A)
公開日
2025-10-17
出願番号
2024061222
出願日
2024-04-05
発明の名称
正・逆両回転用オイルシール
出願人
株式会社荒井製作所
代理人
個人
主分類
C09K
3/10 20060101AFI20251009BHJP(染料;ペイント;つや出し剤;天然樹脂;接着剤;他に分類されない組成物;他に分類されない材料の応用)
要約
【課題】正・逆いずれの回転においても良好にオイルを密封し続けることが可能な正・逆両回転用オイルシールを提供する。
【解決手段】本発明の正・逆両回転用オイルシールは、正・逆両方向に回転する回転軸5に弾性体部2のシールリップ2aが摺接してなる正・逆両回転用オイルシール1において、弾性体部2の材料として、三元系フッ素ゴム100重量部に対して過酸化物を0.5重量部~6重量部、好ましくは0.8重量部~3重量部配合したゴム組成物を用いる。
【選択図】図1
特許請求の範囲
【請求項1】
正・逆両方向に回転する回転軸に弾性体部のシールリップが摺接してなる正・逆両回転用オイルシールにおいて、
前記弾性体部の材料として、
三元系フッ素ゴム100重量部に対して過酸化物を0.5~6重量部配合したゴム組成物を用いたことを特徴とする正・逆両回転用オイルシール。
発明の詳細な説明
【技術分野】
【0001】
本発明はオイルシールに関し、特に回転軸の正・逆両方向の回転に対応した正・逆両回転用オイルシールに係るものである。
続きを表示(約 1,100 文字)
【背景技術】
【0002】
一般にガソリンエンジンを搭載した自動車においては、エンジンの回転をギアによって正方向から逆方向に切り替えて車をバックさせるようにしているので、エンジンに使用されるオイルシールは、正方向の一方向にのみ対応する一般的なオイルシールが用いられている。
【0003】
従来、かかるガソリンエンジン用オイルシールの材料として、例えば特許文献1では、オルガノポリシロキサン100重量部に対して0.5~30重量部の酸化マグネシウムを配合してなるシリコーンゴム組成物が提案されている
【先行技術文献】
【特許文献】
【0004】
特許第2899208号公報
【発明の概要】
【発明が解決しようとする課題】
【0005】
近年、自動車においては電動化の流れが加速しており、この場合モーターで駆動する電気自動車ではバック用のギアがなくモーターの回転方向を正方向から逆方向に切り換えて車をバックさせるようにしているので、正・逆両方向の回転に対応した正・逆両回転用オイルシールが必要となる。
【0006】
このような正・逆両回転用オイルシールの材料として、特許文献1のゴム組成物を用いた場合、正方向回転と逆方向回転が繰り返されるにつれてオイル(例えば減速ギアボックス内の炭化水素油)の劣化により、主鎖のオルガノポリシロキサンの解重合によってゴムに劣化が生じ、オイル漏れを起こす不具合があった。
【課題を解決するための手段】
【0007】
かかる不具合を回避するために本発明らは、鋭意研究の結果、三元系フッ素ゴムに適量の過酸化物を配合してなるゴム組成物を正・逆両回転用オイルシールの材料に用いることにより、オイルの劣化に伴うゴムの劣化に起因するオイル漏れを回避できることを見出し、本発明を完成させるに至ったものである。
【0008】
すなわち本発明は、正・逆両方向に回転する回転軸に弾性体部のシールリップが摺接してなる正・逆両回転用オイルシールにおいて、弾性体部の材料として、三元系フッ素ゴム100重量部に対して過酸化物を0.5~6重量部配合したゴム組成物を用いたことを特徴とする。
【発明の効果】
【0009】
本発明によれば、正・逆いずれの回転作動においても良好にオイルを密封し続けることを可能とする正・逆両回転用オイルシールを提供することができる。
【図面の簡単な説明】
【0010】
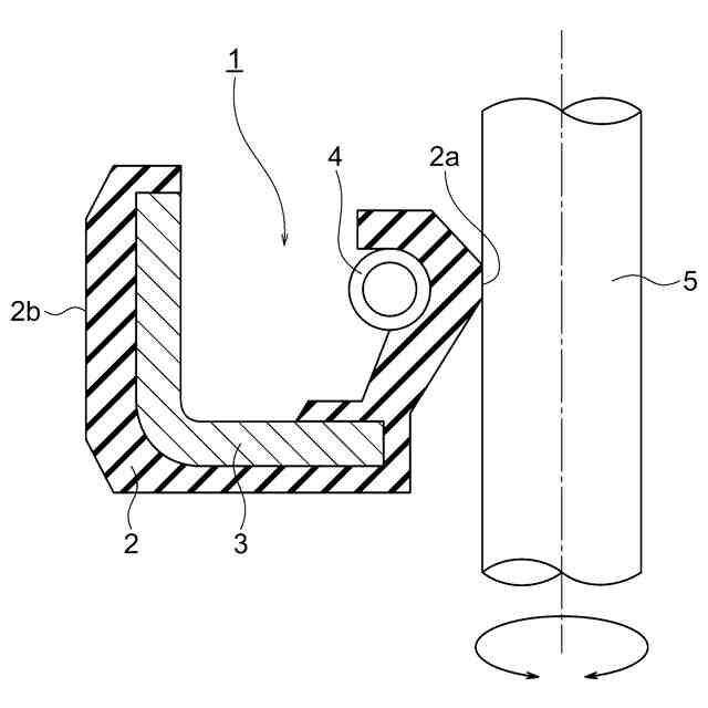
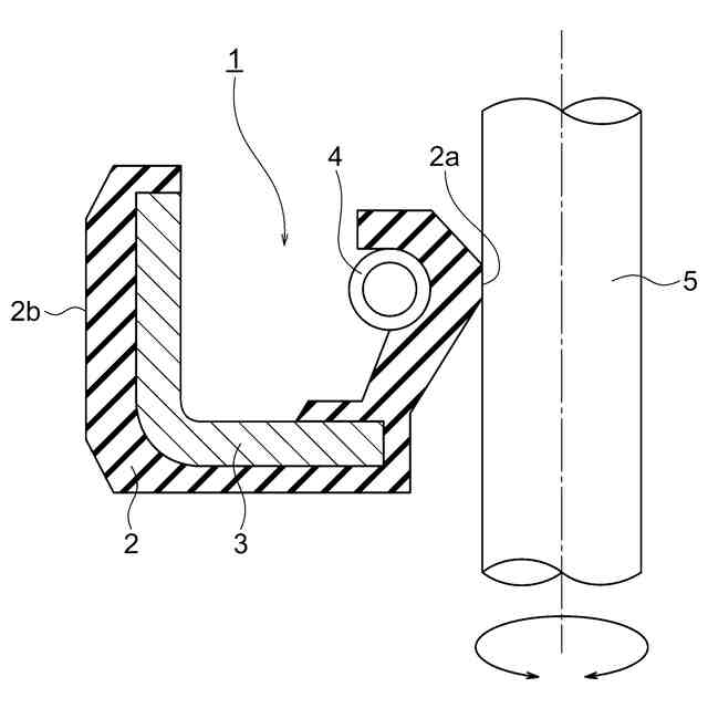
本発明に係る正・逆両回転用オイルシールの片側縦断面図である。
【発明を実施するための形態】
(【0011】以降は省略されています)
この特許をJ-PlatPat(特許庁公式サイト)で参照する
関連特許
日本化薬株式会社
インク
26日前
ベック株式会社
水性被覆材
14日前
ベック株式会社
被膜形成方法
2か月前
ベック株式会社
被膜形成方法
15日前
日本製紙株式会社
圧着紙
12日前
日本化薬株式会社
前処理組成物
12日前
株式会社日本触媒
インクセット
1か月前
日本化薬株式会社
インク組成物
26日前
メック株式会社
表面処理剤
7日前
東ソー株式会社
印刷インキ組成物
5日前
関西ペイント株式会社
塗料組成物
2か月前
株式会社KRI
潜熱蓄熱材組成物
12日前
シヤチハタ株式会社
油性インキ組成物
2か月前
東ソー株式会社
土木用注入薬液組成物
27日前
日澱化學株式会社
ホットメルト接着剤
14日前
アイカ工業株式会社
ホットメルト組成物
15日前
大日精化工業株式会社
顔料分散液
1か月前
アイカ工業株式会社
光硬化型圧着組成物
2か月前
AGC株式会社
液状組成物
2か月前
東ソー株式会社
土質安定化注入薬液組成物
1か月前
東ソー株式会社
土質安定化注入薬液組成物
1か月前
マクセル株式会社
粘着テープ
2か月前
デンカ株式会社
蛍光体
14日前
日本化薬株式会社
インク組成物及び捺染方法
12日前
リンテック株式会社
粘着シート
13日前
大日本印刷株式会社
積層シート
12日前
artience株式会社
水性フレキソインキ
13日前
ダイキン工業株式会社
撥剤
12日前
住友理工株式会社
シール部材
13日前
東洋アルミニウム株式会社
複合顔料
26日前
ダイキン工業株式会社
組成物
2か月前
三菱ケミカル株式会社
粘着剤組成物
15日前
ダイキン工業株式会社
組成物
2か月前
東洋アルミニウム株式会社
複合顔料
5日前
ダイキン工業株式会社
耐油剤
2か月前
日東電工株式会社
粘着シート
12日前
続きを見る
他の特許を見る