TOP
|
特許
|
意匠
|
商標
特許ウォッチ
Twitter
他の特許を見る
10個以上の画像は省略されています。
公開番号
2025157798
公報種別
公開特許公報(A)
公開日
2025-10-16
出願番号
2024060038
出願日
2024-04-03
発明の名称
アロマランプ
出願人
小林製薬株式会社
代理人
弁理士法人三枝国際特許事務所
主分類
F21V
33/00 20060101AFI20251008BHJP(照明)
要約
【課題】芳香材の入れ替えなどの作業を容易に行えるアロマランプの提供を目的とする。
【解決手段】アロマランプ100は、香りを拡散させる芳香部101と、光を拡散させる発光部102と、アロマランプ100を持ち運びする際にユーザの手で握られるハンドル9とを備え、芳香部101はアロマランプ100の上部に位置し、発光部102はアロマランプ100の下部に位置し、芳香部101は、芳香材が収納される収納部としての容器1と、容器1を下方から加熱する加熱器4とを備え、容器1は外部に露出している。
【選択図】図1
特許請求の範囲
【請求項1】
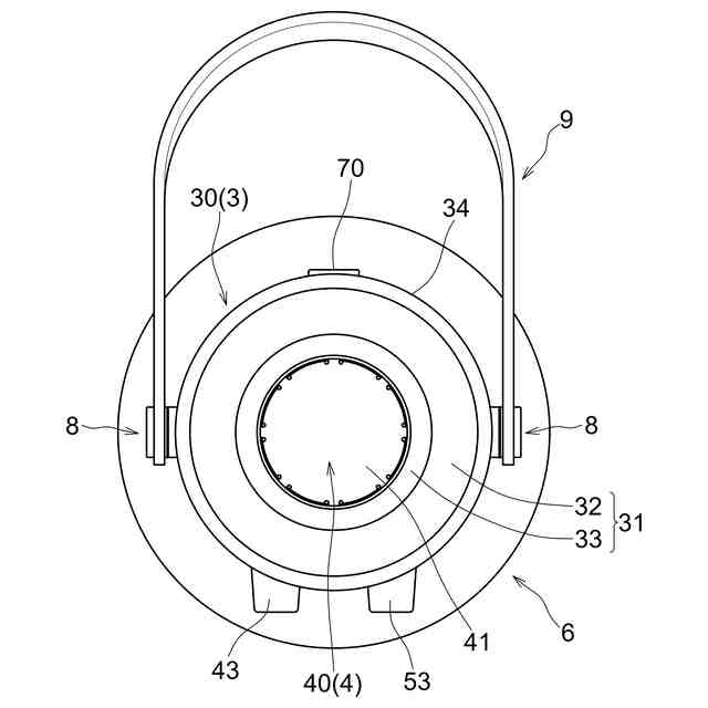
香りを拡散させる芳香部と、光を拡散させる発光部と、を備えたアロマランプであって、
該アロマランプを持ち運びする際にユーザの手で握られるハンドルをさらに備え、
前記芳香部は該アロマランプの上部に位置し、前記発光部は該アロマランプの下部に位置し、
前記芳香部は、芳香材が収納される収納部と、前記収納部を下方から加熱する加熱器と、を備え、
前記収納部の芳香材の投入口は外部に露出している、アロマランプ。
続きを表示(約 550 文字)
【請求項2】
前記発光部は、光源部と、前記光源部を包含するランプシェードと、を備え、
前記芳香部は、前記収納部が設置される設置部を備え、
前記設置部は、前記ランプシェードの上部に装着され、
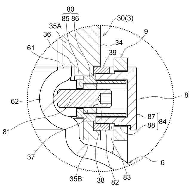
前記ハンドルは、少なくとも水平方向に倒れた状態及び鉛直方向に起立した状態の間を移行できるように前記設置部に対して回転自在であり、前記ハンドルを回転させて鉛直方向に起立させた際に前記ハンドルは前記収納部の上方を超えて跨る、請求項1に記載のアロマランプ。
【請求項3】
少なくとも二つの留め具が前記設置部を貫通してそれぞれの前記留め具の先端が前記ランプシェードの上部に突き当たることで、前記設置部が前記ランプシェードの上部に固定され、
前記ハンドルは、前記留め具の先端と反対側の基端部及び前記設置部の間において前記留め具に回転自在に取り付けられる、請求項2に記載のアロマランプ。
【請求項4】
前記ランプシェードの上部には、該上部の外面が凹んだ窪みが形成され、前記留め具の先端は前記窪みに突き当たる、請求項3に記載のアロマランプ。
【請求項5】
前記収納部は前記設置部に着脱自在に設置される容器である、請求項3に記載のアロマランプ。
発明の詳細な説明
【技術分野】
【0001】
本開示は、アロマランプに関する。
続きを表示(約 1,200 文字)
【背景技術】
【0002】
アロマランプは、芳香材を加熱して香りを外部空間に拡散させるとともに、光源から発せられる光をランプシェードを通して外部空間に拡散させることで、香りと灯りをユーザが楽しめる装置である。例えば特許文献1のアロマランプは、透光性材料により形成されたランプシェードの内部に光源を収容するとともに、芳香材及び加熱器を収容している。ランプシェードには、光源から発せられる光と、芳香材から発せられる香りを放散させる複数の開口が設けられている。
【先行技術文献】
【特許文献】
【0003】
特表2014-504518号公報
【発明の概要】
【発明が解決しようとする課題】
【0004】
しかし、特許文献1のアロマランプのように、芳香材がランプシェード内に収容されていると、芳香材をセットする際及び使用済みの芳香材を取り除く際にランプシェードを取り外す必要がある。そのため、芳香材を入れ替えなどする作業に手間がかかる。
【0005】
本開示は、上記課題を解決できるアロマランプの提供を目的とする。
【課題を解決するための手段】
【0006】
本開示のアロマランプは、上記課題を解決するため、以下の項1に記載のアロマランプを主題として包含する。
【0007】
項1.香りを拡散させる芳香部と、光を拡散させる発光部と、を備えたアロマランプであって、
該アロマランプを持ち運びする際にユーザの手で握られるハンドルをさらに備え、
前記芳香部は該アロマランプの上部に位置し、前記発光部は該アロマランプの下部に位置し、
前記芳香部は、芳香材が収納される収納部と、前記収納部を下方から加熱する加熱器と、を備え、
前記収納部の芳香材の投入口は外部に露出している、アロマランプ。
【0008】
また、本開示のアロマランプは、上記項1に記載のアロマランプの好ましい態様として、以下の項2に記載のアロマランプを包含する。
【0009】
項2.前記発光部は、光源部と、前記光源部を包含するランプシェードと、を備え、
前記芳香部は、前記収納部が設置される設置部を備え、
前記設置部は、前記ランプシェードの上部に装着され、
前記ハンドルは、少なくとも水平方向に倒れた状態及び鉛直方向に起立した状態の間を移行できるように前記設置部に対して回転自在であり、前記ハンドルを回転させて鉛直方向に起立させた際に前記ハンドルは前記収納部の上方を超えて跨る、項1に記載のアロマランプ。
【0010】
また、本開示のアロマランプは、上記項2に記載のアロマランプの好ましい態様として、以下の項3に記載のアロマランプを包含する。
(【0011】以降は省略されています)
この特許をJ-PlatPat(特許庁公式サイト)で参照する
関連特許
小林製薬株式会社
芳香器
1か月前
小林製薬株式会社
耳装着具
13日前
小林製薬株式会社
耳装着具
13日前
小林製薬株式会社
耳装着具
13日前
小林製薬株式会社
耳装着具
13日前
小林製薬株式会社
経口組成物
21日前
小林製薬株式会社
アロマランプ
1か月前
小林製薬株式会社
洗浄剤組成物
20日前
小林製薬株式会社
洗浄剤組成物
1か月前
小林製薬株式会社
アロマランプ
1か月前
小林製薬株式会社
耳装着具及びその製造方法
13日前
小林製薬株式会社
取付広告具
11日前
小林製薬株式会社
月経前肌荒れ改善剤
1か月前
小林製薬株式会社
腹圧性尿失禁改善剤
1か月前
小林製薬株式会社
硬質表面用の除菌皮膜形成剤
11日前
小林製薬株式会社
ナットウキナーゼを含む経口組成物
1か月前
小林製薬株式会社
細菌性膣症の抑制剤、細菌性膣症関連細菌のオートインデューサー-2阻害剤、細菌性膣症関連細菌のバイオフィルム形成の抑制剤、細菌性膣症関連細菌に対する抗菌薬抗菌力の増強剤、及び当該抗菌力の増強方法
1か月前
個人
室外機器
5か月前
個人
照明装置
11日前
個人
照明システム
4か月前
個人
気泡を用いた遊具。
7か月前
個人
消火器設置表示装置
22日前
個人
車載機器の通気構造
2か月前
株式会社遠藤照明
照明器具
6か月前
株式会社遠藤照明
照明装置
2か月前
株式会社小糸製作所
車両用灯具
1か月前
デンカ株式会社
照明装置
5か月前
個人
LEDライト
4か月前
能美防災株式会社
表示灯
2か月前
株式会社小糸製作所
車両用灯具
1か月前
デンカ株式会社
道路用照明
5か月前
フルトラム株式会社
光学機器
1か月前
株式会社小糸製作所
投光装置
2か月前
株式会社小糸製作所
投光装置
2か月前
株式会社小糸製作所
誘導装置
1か月前
アクア株式会社
冷蔵庫
3か月前
続きを見る
他の特許を見る