TOP
|
特許
|
意匠
|
商標
特許ウォッチ
Twitter
他の特許を見る
10個以上の画像は省略されています。
公開番号
2025157799
公報種別
公開特許公報(A)
公開日
2025-10-16
出願番号
2024060039
出願日
2024-04-03
発明の名称
アロマランプ
出願人
小林製薬株式会社
代理人
弁理士法人三枝国際特許事務所
主分類
F21V
33/00 20060101AFI20251008BHJP(照明)
要約
【課題】ランプシェードの全体をきれいに光らせることができ、光による視覚的な演出の効果をユーザに十分に付与できるアロマランプの提供を目的とする。
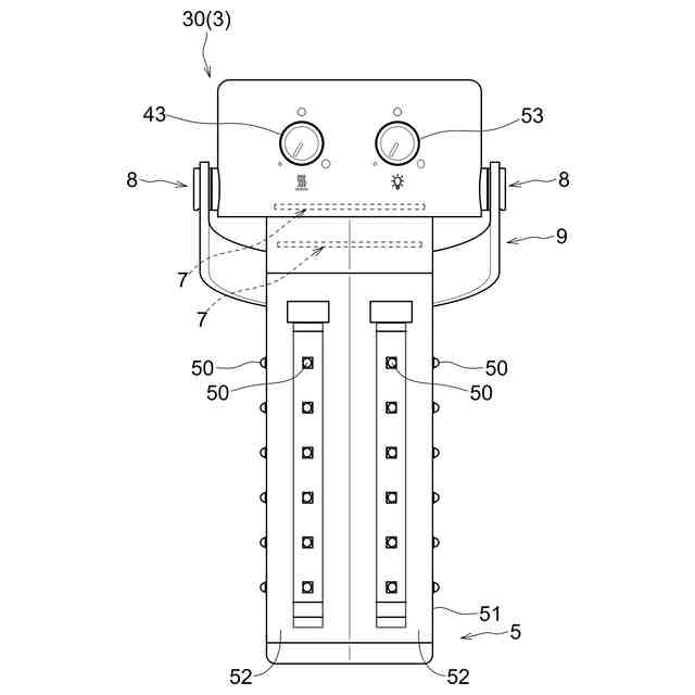
【解決手段】アロマランプ100は、香りを拡散させる芳香部101と、光を拡散させる発光部102とを備え、発光部102は、光源部5と、光源部5を包含するランプシェード6とを備え、光源部5は、筒状のケーシング51と、ケーシング51に取り付けられる複数の発光体50とを備え、発光体50がケーシング51の上下方向に間隔をあけて複数並べられるとともに、ケーシング51の上下方向に複数並べられた発光体50の列がケーシング51の周方向に間隔をあけて複数並べられる。
【選択図】図2
特許請求の範囲
【請求項1】
香りを拡散させる芳香部と、光を拡散させる発光部と、を備えたアロマランプであって、
前記発光部は、光源部と、前記光源部を包含するランプシェードと、を備え、
前記光源部は、筒状のケーシングと、前記ケーシングに取り付けられる複数の発光体と、を備え、
前記発光体が前記ケーシングの上下方向に間隔をあけて複数並べられるとともに、前記ケーシングの上下方向に複数並べられた発光体の列が前記ケーシングの周方向に間隔をあけて複数並べられる、アロマランプ。
続きを表示(約 960 文字)
【請求項2】
前記発光体の列は、ある一つの色の光を発する二つの第一発光体が前記ケーシングの上下方向に隣り合った第一発光体の組を少なくとも一つ含み、
前記第一発光体は、輝度が極大値から極小値に次第に低下した後に再び極大値まで次第に増加する周期を繰り返す波形で点灯するとともに、前記第一発光体の組において一方の前記第一発光体と他方の前記第一発光体とで点灯のタイミングがずれるように点灯動作が制御される、請求項1に記載のアロマランプ。
【請求項3】
前記発光体の列は、前記ケーシングの周方向の左右両側に隣り合う前記発光体の列との間で、前記ケーシングの上下方向における前記第一発光体の組の位置がずれている、請求項2に記載のアロマランプ。
【請求項4】
前記複数の発光体は、前記第一発光体と、他の一つの色の光を発する第二発光体と、を含み、
前記第二発光体に対して、前記ケーシングの上方向及び下方向に隣り合う前記発光体、並びに、前記ケーシングの周方向の左右両側に隣り合う前記発光体は、前記第一発光体である、請求項3に記載のアロマランプ。
【請求項5】
前記複数の発光体の発光量を設定するための発光スイッチと、前記複数の発光体の点灯動作を制御する制御部と、をさらに備え、
前記制御部は、前記発光スイッチの操作に伴い消灯状態の前記第一発光体の輝度が次第に増大しながら前記第一発光体が点灯し、前記発光スイッチのさらなる操作に伴い消灯状態の前記第二発光体が点灯するように、前記複数の発光体の点灯動作を制御する、請求項4に記載のアロマランプ。
【請求項6】
前記制御部は、前記第一発光体が点灯したまま前記第二発光体が点灯し、前記発光スイッチのさらなる操作に伴い前記第一発光体が徐々に消灯し、かつ、前記第二発光体の輝度が次第に増大しながら前記第二発光体が点灯するように、前記複数の発光体の点灯動作を制御する、請求項5に記載のアロマランプ。
【請求項7】
前記第一発光体は橙色の光を発する、請求項2から6のいずれか一項に記載のアロマランプ。
【請求項8】
前記第二発光体は白色の光を発する、請求項7に記載のアロマランプ。
発明の詳細な説明
【技術分野】
【0001】
本開示は、アロマランプに関する。
続きを表示(約 1,100 文字)
【背景技術】
【0002】
従来より、ろうそくの炎によってアロマオイルなどの液状の芳香材を加熱するアロマポットが市販されている。アロマポットは、透光性を有する筐体の内部にろうそくが収容され、ろうそくの上方に芳香材が入れられた容器が配置された構造のものである。ろうそくに火をつけると、ろうそくの炎によって芳香材が加熱される。これにより、芳香材が気化することで香りが拡散する。また、ろうそくの炎による火の揺らぎによって、ユーザにリラックス効果、リフレッシュ効果などを与えられる。
【0003】
アロマポットはろうそくに火をつけて使用するため、ユーザがマッチ又はライターなどを用意する必要がある。また、ユーザは、火の取扱いに十分に注意しながらアロマポットを使用する必要がある。
【0004】
そこで、ろうそくに代わる熱源として一つの大型の電球を筐体内に収容したアロマランプが市販されている。アロマランプは、電球を点灯したときに発する熱によって芳香材を加熱する構造のものである(特許文献1参照)。
【先行技術文献】
【特許文献】
【0005】
特開平11-283439号公報
【発明の概要】
【発明が解決しようとする課題】
【0006】
しかし、従来のアロマランプのように、一つの大型の電球を筐体内に収容して点灯させても、筐体の全体を通して光が透過せず、全体をムラなく綺麗に光らせることができない。そのため、光による視覚的な演出の効果をユーザに十分に与えられないという課題がある。
【0007】
本開示は、上記課題を解決できるアロマランプの提供を目的とする。
【課題を解決するための手段】
【0008】
本開示のアロマランプは、上記課題を解決するため、以下の項1に記載のアロマランプを主題として包含する。
【0009】
項1.香りを拡散させる芳香部と、光を拡散させる発光部と、を備えたアロマランプであって、
前記発光部は、光源部と、前記光源部を包含するランプシェードと、を備え、
前記光源部は、筒状のケーシングと、前記ケーシングに取り付けられる複数の発光体と、を備え、
前記発光体が前記ケーシングの上下方向に間隔をあけて複数並べられるとともに、前記ケーシングの上下方向に複数並べられた発光体の列が前記ケーシングの周方向に間隔をあけて複数並べられる、アロマランプ。
【0010】
また、本開示のアロマランプは、上記項1に記載のアロマランプの好ましい態様として、以下の項2に記載のアロマランプを包含する。
(【0011】以降は省略されています)
この特許をJ-PlatPat(特許庁公式サイト)で参照する
関連特許
小林製薬株式会社
芳香器
1か月前
小林製薬株式会社
耳装着具
14日前
小林製薬株式会社
耳装着具
14日前
小林製薬株式会社
耳装着具
14日前
小林製薬株式会社
耳装着具
14日前
小林製薬株式会社
経口組成物
22日前
小林製薬株式会社
アロマランプ
1か月前
小林製薬株式会社
眼科用組成物
1か月前
小林製薬株式会社
洗浄剤組成物
21日前
小林製薬株式会社
洗浄剤組成物
1か月前
小林製薬株式会社
アロマランプ
1か月前
小林製薬株式会社
耳装着具及びその製造方法
14日前
小林製薬株式会社
発泡錠剤用の口腔内装着器具洗浄剤
1か月前
小林製薬株式会社
発泡錠剤用の口腔内装着器具洗浄剤
1か月前
小林製薬株式会社
取付広告具
12日前
小林製薬株式会社
月経前肌荒れ改善剤
1か月前
小林製薬株式会社
腹圧性尿失禁改善剤
1か月前
小林製薬株式会社
硬質表面用の除菌皮膜形成剤
12日前
小林製薬株式会社
ナットウキナーゼを含む経口組成物
1か月前
小林製薬株式会社
ナットウキナーゼを含む経口組成物
1か月前
小林製薬株式会社
尿路機能改善用組成物及び膀胱血流改善用組成物
1か月前
小林製薬株式会社
尿意ストレス予防または緩和用組成物及び睡眠改善用組成物
1か月前
小林製薬株式会社
細菌性膣症の抑制剤、細菌性膣症関連細菌のオートインデューサー-2阻害剤、細菌性膣症関連細菌のバイオフィルム形成の抑制剤、細菌性膣症関連細菌に対する抗菌薬抗菌力の増強剤、及び当該抗菌力の増強方法
1か月前
個人
室外機器
5か月前
個人
照明装置
12日前
個人
照明システム
4か月前
個人
気泡を用いた遊具。
7か月前
個人
車載機器の通気構造
2か月前
個人
消火器設置表示装置
23日前
株式会社遠藤照明
照明装置
2か月前
株式会社遠藤照明
照明器具
6か月前
デンカ株式会社
照明装置
5か月前
能美防災株式会社
表示灯
2か月前
個人
LEDライト
4か月前
株式会社小糸製作所
車両用灯具
1か月前
株式会社小糸製作所
車両用灯具
1か月前
続きを見る
他の特許を見る