TOP
|
特許
|
意匠
|
商標
特許ウォッチ
Twitter
他の特許を見る
公開番号
2025168589
公報種別
公開特許公報(A)
公開日
2025-11-07
出願番号
2025149264,2021205579
出願日
2025-09-09,2021-12-17
発明の名称
取付広告具
出願人
小林製薬株式会社
代理人
個人
,
個人
,
個人
主分類
G09F
3/02 20060101AFI20251030BHJP(教育;暗号方法;表示;広告;シール)
要約
【課題】被接着体の形状により適応する取付広告具を提供する
【解決手段】収容部上面及び収容部側面を含む収容部を有する容器における、前記収容部側面の上部の少なくとも一部に接着可能な第1接着部と、前記第1接着部の一部から延在し、前記収容部上面に接着可能な第2接着部と、前記第1接着部の前記一部とは異なる部分から延在し、前記容器に接着しているときに前記収容部側面から前記収容部の中心軸線方向に向けて突出する表示部と、を備える取付広告具を提供する。
【選択図】図1
特許請求の範囲
【請求項1】
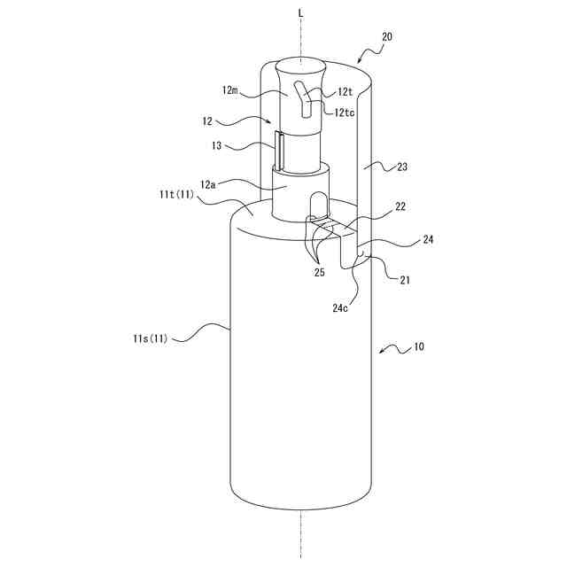
収容部上面及び収容部側面を含む収容部を有する容器における、前記収容部側面の上部の少なくとも一部に接着可能な第1接着部と、
前記第1接着部の一部から延在し、前記収容部上面に接着可能な第2接着部と、
前記第1接着部の前記一部とは異なる部分から延在し、前記容器に接着しているときに前記収容部側面から前記収容部の中心軸線方向に向けて突出する表示部と、
を備える
取付広告具。
続きを表示(約 700 文字)
【請求項2】
前記容器が、前記収容部上面に装着可能な装着部と、可動部と、を含むヘッド部を有し、
前記第2接着部が、前記ヘッド部の前記装着部のみに、更に接着可能である、請求項1に記載の取付広告具。
【請求項3】
前記容器の前記ヘッド部の前記装着部は円筒形状である、請求項2に記載の取付広告具。
【請求項4】
前記第2接着部に、前記第2接着部の少なくとも一部を横切る1つ以上のミシン目が形成される、請求項1~3のいずれか一項に記載の取付広告具。
【請求項5】
前記ミシン目が複数形成され、前記ミシン目のうち、前記第1接着部からもっとも離れたミシン目の端部に、前記ミシン目の他の部分よりも長い切り目が形成される、請求項4に記載に記載の取付広告具。
【請求項6】
前記第1接着部の前記一部が、前記第1接着部の端部である、請求項1~5のいずれか一項に記載の取付広告具。
【請求項7】
前記第2接着部が細長形状である、請求項1~6のいずれか一項に記載の取付広告具。
【請求項8】
容器に接着可能な取付広告具であり、
前記容器に接着可能な第1接着部と、
前記第1接着部の一部から、平面視で前記第1接着部の一方側の外側へ延在し、前記容器に接着可能な第2接着部と、
前記第1接着部の前記一部とは異なる部分から、平面視で前記第1接着部の前記一方側の外側へ延在する表示部と、
を備える、取付広告具。
【請求項9】
前記表示部は矩形状である、請求項8に記載の取付広告具。
発明の詳細な説明
【技術分野】
【0001】
本発明は取付広告具に関する。
続きを表示(約 870 文字)
【背景技術】
【0002】
特許文献1に記載されるような、POP広告(購買時点広告)機能を有し、被接着体に接着される広告取付具が知られている。
【先行技術文献】
【特許文献】
【0003】
実用新案登録第3127012号公報
【発明の概要】
【発明が解決しようとする課題】
【0004】
ここで、被接着体の形状に対して、より適応した取付広告具が求められている。
【0005】
本発明は、被接着体の形状により適応する取付広告具を提供することを目的とする。
【課題を解決するための手段】
【0006】
本発明の第1の態様としての取付広告具は、収容部上面及び収容部側面を含む収容部を有する容器における、前記収容部側面の上部の少なくとも一部に接着可能な第1接着部と、前記第1接着部の一部から延在し、前記収容部上面に接着可能な第2接着部と、前記第1接着部の前記一部とは異なる部分から延在し、前記容器に接着しているときに前記収容部側面から前記収容部の中心軸線方向に向けて突出する表示部と、を備える。
【0007】
本発明の1つの実施形態として、前記容器が、前記収容部上面に装着可能な装着部と、可動部と、を含むヘッド部を有し、前記第2接着部が、前記ヘッド部の前記装着部のみに、更に接着可能である。
【0008】
本発明の1つの実施形態として、前記容器の前記ヘッド部の前記装着部は円筒形状である。
【0009】
本発明の1つの実施形態として、前記第2接着部に、前記第2接着部の少なくとも一部を横切る1つ以上のミシン目が形成される。
【0010】
本発明の1つの実施形態として、前記ミシン目が複数形成され、前記ミシン目のうち、前記第1接着部からもっとも離れたミシン目の端部に、前記ミシン目の他の部分よりも長い切り目が形成される。
(【0011】以降は省略されています)
この特許をJ-PlatPat(特許庁公式サイト)で参照する
関連特許
小林製薬株式会社
取付広告具
23日前
個人
教育のAI化
23日前
個人
英語教材
1か月前
日本精機株式会社
表示装置
2か月前
日本精機株式会社
表示装置
26日前
個人
計算用教具
2か月前
中国電力株式会社
標示旗
2か月前
日本精機株式会社
車両用表示装置
1か月前
個人
インフィニティミラー
24日前
個人
微細構造を模した理科学習教材
1か月前
日本精機株式会社
車両用センサ装置
2か月前
日榮新化株式会社
対象物質感知シート
23日前
シャープ株式会社
表示装置
2か月前
ニチレイマグネット株式会社
サイン器具
1か月前
株式会社ウメラボ
学習支援システム
1か月前
株式会社ウメラボ
学習支援システム
1か月前
朝日インテック株式会社
ラベルシート
1か月前
日本精機株式会社
表示装置及びその製造方法
26日前
ニチレイマグネット株式会社
磁着式電飾装置
2か月前
朝日インテック株式会社
生体モデル装置
26日前
リンテック株式会社
表示体
1か月前
株式会社イリオスNOTO
シート保管具
1か月前
シャープ株式会社
表示装置
1か月前
株式会社リコー
画像投射システム
2か月前
学校法人関西医科大学
腹腔鏡手術訓練装置
2か月前
国立大学法人秋田大学
運転シミュレータ
1か月前
ローム株式会社
半導体装置およびシステム
10日前
リンテック株式会社
粘着ラベル
1か月前
キヤノン株式会社
発光装置
2か月前
ヘラマンタイトン株式会社
シート状部材保持具
11日前
TOPPANホールディングス株式会社
ラベル
2か月前
キヤノン株式会社
表示装置
2日前
ローム株式会社
暗号化装置
1か月前
キヤノン株式会社
表示装置
2日前
公立大学法人札幌市立大学
化学構造模型
1か月前
株式会社JVCケンウッド
液晶表示装置および制御方法
1か月前
続きを見る
他の特許を見る