TOP
|
特許
|
意匠
|
商標
特許ウォッチ
Twitter
他の特許を見る
10個以上の画像は省略されています。
公開番号
2025157429
公報種別
公開特許公報(A)
公開日
2025-10-15
出願番号
2025120722,2024516247
出願日
2025-07-17,2023-04-17
発明の名称
制御端末、ネットワークノード、通信方法、チップセット、プログラム、及び移動通信システム
出願人
京セラ株式会社
代理人
弁理士法人キュリーズ
主分類
H04W
16/26 20090101AFI20251007BHJP(電気通信技術)
要約
【課題】高周波数帯による信号伝送において、干渉の発生を抑制しつつ基地曲のカバレッジを拡張する中継装置を制御する装置及び方法を提供する。
【解決手段】移動通信システムにおいてgNB(基地局)とUE(ユーザ装置)との間で無線信号の中継を行うNCR装置(中継装置)を制御するNCR-UE(制御端末)は、UEに対してNCR装置がビームを向けるために用いる設定情報をgNBから受信し、当該設定情報に基づいて、UEに対してビームを向けるようNCR装置を制御する。
【選択図】図14
特許請求の範囲
【請求項1】
移動通信システムにおいてネットワークノードとユーザ装置との間で無線信号の中継を行う中継装置を制御する制御端末であって、
前記ユーザ装置に対して前記中継装置がビームを向けるために用いる設定情報を前記ネットワークノードから受信する受信部と、
前記設定情報に基づいて、前記ユーザ装置に対して前記ビームを向けるよう前記中継装置を制御する制御部と、を有し、
前記設定情報は、ビームフォーミングに関する複数の制御モードのそれぞれに対応する識別子と、前記識別子に対応する制御モードが適用される期間を示す情報とを含む
制御端末。
続きを表示(約 1,400 文字)
【請求項2】
ネットワークノードとユーザ装置との間で無線信号の中継を行う中継装置を制御する制御端末を有する移動通信システムで用いる前記ネットワークノードであって、
前記ユーザ装置に対して前記中継装置がビームを向けるために用いる設定情報を前記制御端末に送信する送信部を備え、
前記設定情報は、ビームフォーミングに関する複数の制御モードのそれぞれに対応する識別子と、前記識別子に対応する制御モードが適用される期間を示す情報とを含む、
ネットワークノード。
【請求項3】
移動通信システムにおいてネットワークノードとユーザ装置との間で無線信号の中継を行う中継装置を制御する制御端末で実行する通信方法であって、
前記ユーザ装置に対して前記中継装置がビームを向けるために用いる設定情報を前記ネットワークノードから受信することと、
前記設定情報に基づいて、前記ユーザ装置に対して前記ビームを向けるよう前記中継装置を制御することと、を有し、
前記設定情報は、ビームフォーミングに関する複数の制御モードのそれぞれに対応する識別子と、前記識別子に対応する制御モードが適用される期間を示す情報とを含む
通信方法。
【請求項4】
移動通信システムにおいてネットワークノードとユーザ装置との間で無線信号の中継を行う中継装置を制御する制御端末のためのチップセットであって、
前記ユーザ装置に対して前記中継装置がビームを向けるために用いる設定情報を前記ネットワークノードから受信する処理と、
前記設定情報に基づいて、前記ユーザ装置に対して前記ビームを向けるよう前記中継装置を制御する処理と、を実行し、
前記設定情報は、ビームフォーミングに関する複数の制御モードのそれぞれに対応する識別子と、前記識別子に対応する制御モードが適用される期間を示す情報とを含む
チップセット。
【請求項5】
移動通信システムにおいてネットワークノードとユーザ装置との間で無線信号の中継を行う中継装置を制御する制御端末に、
前記ユーザ装置に対して前記中継装置がビームを向けるために用いる設定情報を前記ネットワークノードから受信する処理と、
前記設定情報に基づいて、前記ユーザ装置に対して前記ビームを向けるよう前記中継装置を制御する処理と、を実行させ、
前記設定情報は、ビームフォーミングに関する複数の制御モードのそれぞれに対応する識別子と、前記識別子に対応する制御モードが適用される期間を示す情報とを含む
プログラム。
【請求項6】
ネットワークノードとユーザ装置との間で無線信号の中継を行う中継装置を制御する制御端末を備える移動通信システムであって、
前記制御端末は、
前記ユーザ装置に対して前記中継装置がビームを向けるために用いる設定情報を前記ネットワークノードから受信し、
前記設定情報に基づいて、前記ユーザ装置に対して前記ビームを向けるよう前記中継装置を制御し、
前記設定情報は、ビームフォーミングに関する複数の制御モードのそれぞれに対応する識別子と、前記識別子に対応する制御モードが適用される期間を示す情報とを含む
移動通信システム。
発明の詳細な説明
【技術分野】
【0001】
本開示は、移動通信システムで用いる制御端末、ネットワークノード、通信方法、チップセット、プログラム、及び移動通信システムに関する。
続きを表示(約 2,200 文字)
【背景技術】
【0002】
近年、第5世代(5G)の移動通信システムが注目されている。5Gシステムの無線アクセス技術であるNR(New Radio)は、第4世代の無線アクセス技術であるLTE(Long Term Evolution)に比べて、高周波数帯による広帯域伝送が可能である。
【0003】
ミリ波帯又はテラヘルツ波帯といった高周波数帯の無線信号(電波)は、高い直進性を有するため、基地局のカバレッジの縮小が課題となる。このような課題を解決するために、基地局とユーザ装置との間で無線信号を中継する中継装置の一種であって、ネットワークから制御可能なリピータ装置が注目されている(例えば、非特許文献1参照)。このようなリピータ装置は、例えば、基地局から受信する無線信号を増幅するとともに指向性送信により送信することで、干渉の発生を抑制しつつ基地局のカバレッジを拡張できる。
【先行技術文献】
【非特許文献】
【0004】
3GPP寄書:RP-213700、“New SI: Study on NR Network-controlled Repeaters”
【発明の概要】
【0005】
第1の態様に係る制御端末は、移動通信システムにおいて基地局とユーザ装置との間で無線信号の中継を行う中継装置を制御する装置である。前記制御端末は、前記ユーザ装置に対して前記中継装置がビームを向けるために用いる設定情報を前記基地局から受信する受信部と、前記設定情報に基づいて、前記ユーザ装置に対して前記ビームを向けるよう前記中継装置を制御する制御部と、を有する。
【0006】
第2の態様に係る基地局は、基地局とユーザ装置との間で無線信号の中継を行う中継装置を制御する制御端末を有する移動通信システムで用いる前記基地局である。前記基地局は、前記ユーザ装置に対して前記中継装置がビームを向けるために用いる設定情報を前記制御端末に送信する送信部を備える。
【0007】
第3の態様に係る通信方法は、移動通信システムにおいて基地局とユーザ装置との間で無線信号の中継を行う中継装置を制御する制御端末で実行する方法である。前記通信方法は、前記ユーザ装置に対して前記中継装置がビームを向けるために用いる設定情報を前記基地局から受信するステップと、前記設定情報に基づいて、前記ユーザ装置に対して前記ビームを向けるよう前記中継装置を制御するステップと、を有する。
【図面の簡単な説明】
【0008】
実施形態に係る移動通信システムの構成を示す図である。
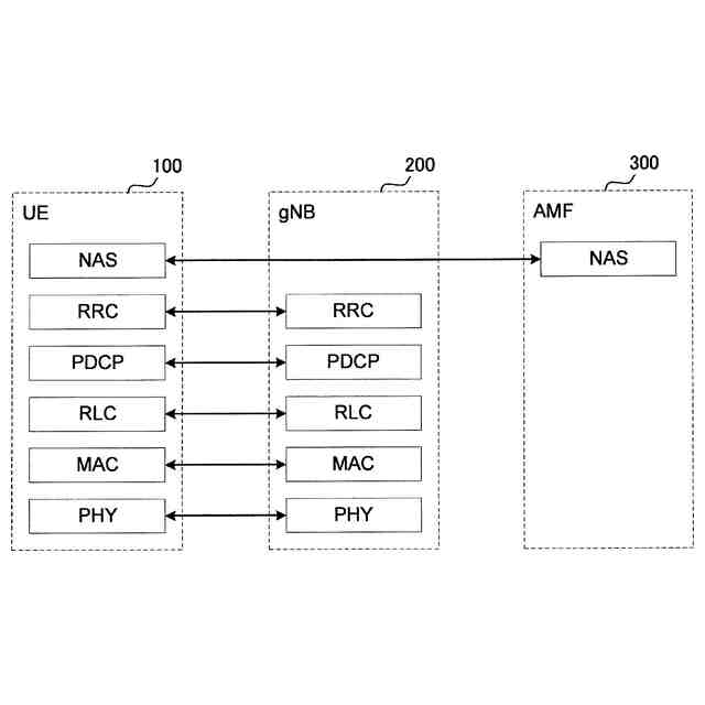
データを取り扱うユーザプレーンの無線インターフェイスのプロトコルスタックの構成を示す図である。
シグナリング(制御信号)を取り扱う制御プレーンの無線インターフェイスのプロトコルスタックの構成を示す図である。
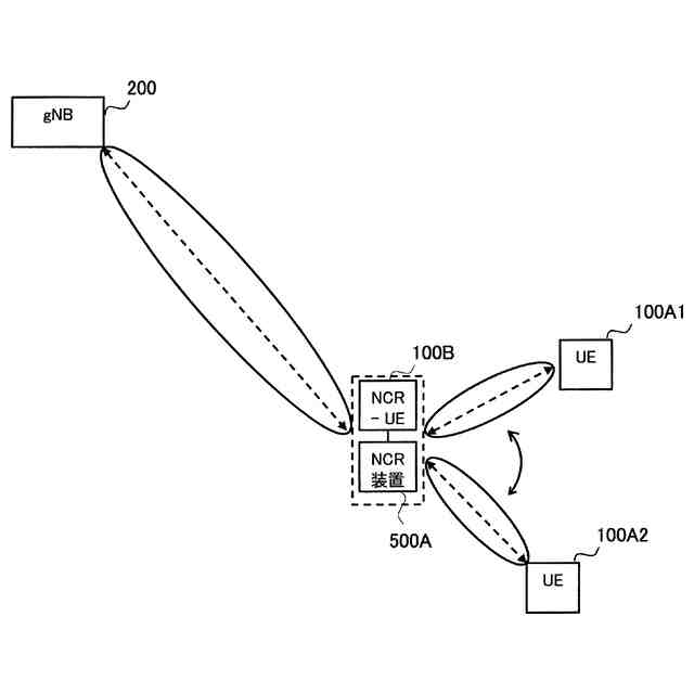
実施形態に係るNCR装置(中継装置)の適用シナリオを示す図である。
実施形態に係るNCR装置の適用シナリオを示す図である。
実施形態に係るNCR装置及びNCR-UE(制御端末)を有する移動通信システムにおけるプロトコルスタックの構成例を示す図である。
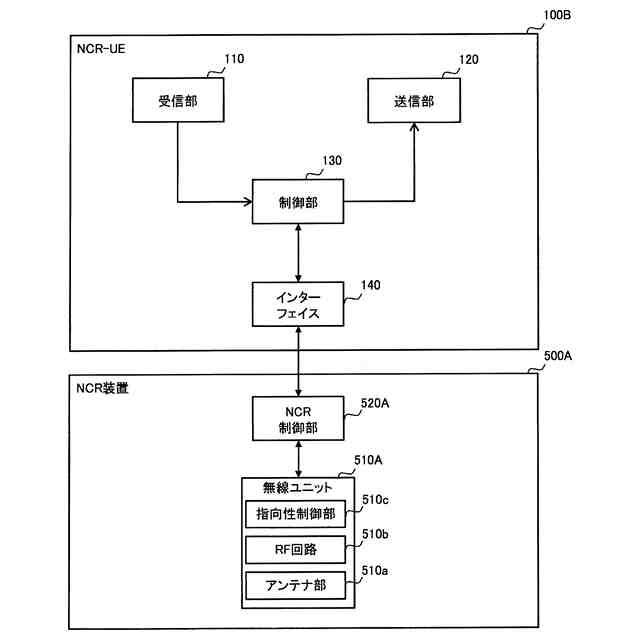
実施形態に係るNCR-UE及びNCR装置の構成例を示す図である。
実施形態に係るgNB(基地局)の構成例を示す図である。
実施形態に係るgNBからNCR-UEへの下りリンクシグナリングの一例を示す図である。
実施形態に係るNCR制御信号の一例を示す図である。
実施形態に係るNCR-UEからgNBへの上りリンクシグナリングの一例を示す図である。
実施形態に係るNCR能力情報の一例を示す図である。
実施形態に係る移動通信システムの動作の一例を示す図である。
実施形態に係るビームフォーミング制御について説明するための図である。
実施形態に係るビームフォーミング制御の第1動作パターンの動作フロー例を示す図である。
実施形態に係るビームフォーミング制御の第1動作パターンの動作フローの他の例を示す図である。
実施形態に係るビームフォーミング制御の第2動作パターンの動作フロー例を示す図である。
他の実施形態に係るRIS装置(中継装置)について説明するための図である。
他の実施形態に係るRIS装置について説明するための図である。
他の実施形態に係るRIS装置について説明するための図である。
他の実施形態に係るRIS装置について説明するための図である。
【発明を実施するための形態】
【0009】
リピータ装置等の中継装置をネットワークから制御する場合において、具体的にどのようにして中継装置を制御するかについての制御技術は未だ確立しておらず、中継装置を用いて効率的なカバレッジ拡張を行うことは現状では難しい。
【0010】
そこで、本開示は、基地局とユーザ装置との間で中継伝送を行う中継装置を適切に制御することを可能にすることを目的とする。
(【0011】以降は省略されています)
この特許をJ-PlatPat(特許庁公式サイト)で参照する
関連特許
京セラ株式会社
光学系
7日前
京セラ株式会社
配線基板
13日前
京セラ株式会社
蓄電装置
28日前
京セラ株式会社
配線基板
13日前
京セラ株式会社
粒子分離装置
28日前
京セラ株式会社
センサシステム
1か月前
京セラ株式会社
静圧気体軸受装置
27日前
京セラ株式会社
コネクタ及び取付方法
29日前
京セラ株式会社
配線基板及び電子装置
1か月前
京セラ株式会社
配線基板及び電子装置
1か月前
京セラ株式会社
予測装置及び予測方法
2日前
京セラ株式会社
走査装置及び制御装置
27日前
京セラ株式会社
走査装置及び制御装置
27日前
京セラ株式会社
積層セラミック電子部品
今日
京セラ株式会社
太陽電池付きカーポート
27日前
京セラ株式会社
流路デバイスの準備方法
29日前
京セラ株式会社
太陽電池付きカーポート
27日前
京セラ株式会社
発光装置および照明装置
1か月前
京セラ株式会社
取付部材及びヘッド取付方法
1か月前
京セラ株式会社
電磁波検出装置及び制御装置
13日前
京セラ株式会社
受電装置及び光給電システム
29日前
京セラ株式会社
光集積回路及び光トランシーバ
13日前
京セラ株式会社
フィルタデバイスおよび通信装置
1か月前
京セラ株式会社
光センサおよび光センサの製造方法
23日前
京セラ株式会社
揺動装置、電磁波照射装置、及び制御装置
27日前
京セラ株式会社
光通信装置、光通信システム及び光照射素子
1か月前
京セラ株式会社
ホルダ、切削工具、及び切削加工物の製造方法
28日前
京セラ株式会社
ノード、方法、プログラム及び分散台帳システム
29日前
京セラ株式会社
太陽光発電システム及び太陽電池付きカーポート
9日前
京セラ株式会社
電子機器、制御方法、プログラム、及びシステム
2日前
京セラ株式会社
電子機器、制御方法、プログラム、及びシステム
2日前
京セラ株式会社
情報処理装置、情報処理システム、及び情報処理方法
29日前
京セラ株式会社
情報処理装置、情報処理システム、及び情報処理方法
29日前
京セラ株式会社
プログラム、給電方法、給電装置及び光給電システム
28日前
京セラ株式会社
受発光センサ及び該受発光センサを備えた画像形成装置
27日前
京セラ株式会社
受発光センサ及び該受発光センサを備えた画像形成装置
27日前
続きを見る
他の特許を見る