TOP
|
特許
|
意匠
|
商標
特許ウォッチ
Twitter
他の特許を見る
10個以上の画像は省略されています。
公開番号
2025157271
公報種別
公開特許公報(A)
公開日
2025-10-15
出願番号
2025107993,2023560640
出願日
2025-06-26,2022-05-24
発明の名称
バスケット及びバルーン構造を含むエレクトロポレーション装置のシステム及び方法
出願人
セント・ジュード・メディカル,カーディオロジー・ディヴィジョン,インコーポレイテッド
代理人
弁理士法人 快友国際特許事務所
主分類
A61B
18/00 20060101AFI20251007BHJP(医学または獣医学;衛生学)
要約
【課題】エレクトロポレーションカテーテルのためのシステム及び方法を提供する。
【解決手段】エレクトロポレーションカテーテル1000は、シャフトと、シャフトの遠位部分の周りにバスケットを形成する複数のスプライン1004とを含み、各スプラインは、シャフトに結合される近位端とシャフトに結合される遠位端との間に延び、複数のスプラインの各スプラインは、少なくとも1つの通電可能な電極を備える。エレクトロポレーションカテーテルは、複数のスプラインによって形成されたバスケット内に配置されたバルーン1008をさらに含み、バルーンは、複数のスプラインの位置の固定を容易にするために選択的に膨張可能である。
【選択図】図10A
特許請求の範囲
【請求項1】
エレクトロポレーションカテーテルであって、
シャフトと、
前記シャフトの遠位部分の周囲にバスケットを形成する複数のスプラインであって、
前記複数のスプラインの各スプラインは、前記シャフトに結合される近位端と、前記シャフトに結合される遠位端と、の間に延び、
前記各スプラインは、少なくとも1つの通電可能な電極を備える、前記複数のスプラインと、
前記複数のスプラインによって形成された前記バスケット内に配置されたバルーンであって、前記複数のスプラインの位置の固定を容易にするために選択的に膨張可能である、前記バルーンと、
を備える、エレクトロポレーションカテーテル。
続きを表示(約 1,500 文字)
【請求項2】
前記各スプラインは、
弾性導電性材料を備える本体と、
前記本体の一部を覆う絶縁材料と、を備え、
前記本体の少なくとも1つの露出部分は、前記少なくとも1つの選択的に通電可能な電極に対応する、
請求項1に記載のエレクトロポレーションカテーテル。
【請求項3】
前記各スプラインは、前記少なくとも1つの通電可能な電極に対応する少なくとも1つの広がり部材を備え、
前記少なくとも1つの広がり部材は、
第1の端部と、
第2の端部と、
前記第1の端部から前記第2の端部まで延びる第1の枝部と、
前記第1の端部から前記第2の端部まで延びる第2の枝部であって、前記第1の枝部と前記第2の枝部は互いから間隔を空けている、前記第2の枝部と、
を備える、請求項1に記載のエレクトロポレーションカテーテル。
【請求項4】
前記各スプラインは、前記少なくとも1つの通電可能な電極に対応する少なくとも1つのテーパ部材を備え、
前記少なくとも1つのテーパ部材は、
第1の端部と、
第2の端部と、
前記第1の端部と前記第2の端部との間に配置された少なくとも1つのテーパ部と、
を備える、請求項1に記載のエレクトロポレーションカテーテル。
【請求項5】
前記少なくとも1つのテーパ部は、第1のテーパ部と第2のテーパ部とを備え、
前記少なくとも1つのテーパ部材は、前記第1のテーパ部と前記第2のテーパ部との間に延びる中間部分をさらに備え、前記中間部分は一定の幅を有する、請求項4に記載のエレクトロポレーションカテーテル。
【請求項6】
前記シャフトは、
外側シャフト要素と、
前記外側シャフト要素を通って延びる内側シャフト要素であって、
前記各スプラインの前記遠位端が前記内側シャフト要素の遠位端に動作可能に接続され、
前記各スプラインの前記近位端が前記外側シャフト要素の遠位端に接続され、
前記内側シャフト要素は、前記複数のスプラインによって形成される前記バスケットの有効直径を調整するために前記外側シャフト要素に対して摺動可能である、前記内側シャフト要素と、
を備える、請求項1に記載のエレクトロポレーションカテーテル。
【請求項7】
前記内側シャフト要素を前記シャフト要素に対して遠位方向に摺動させると、前記有効直径が減少し、
前記内側シャフト要素を前記シャフト要素に対して近位方向に摺動させると、前記有効直径が増加する、請求項6に記載のエレクトロポレーションカテーテル。
【請求項8】
前記内側シャフト要素は中央ルーメンを画定し、
前記中央ルーメンは、造影剤、マッピングカテーテル、ガイドワイヤ、及び、形状感知ファイバーのうちの少なくとも1つを受容するように構成されている、
請求項6に記載のエレクトロポレーションカテーテル。
【請求項9】
前記内側シャフト要素と前記外側シャフト要素との間にチャネルが画定され、
前記チャネルが前記バルーンの内部と流体連通しており、流体を用いて前記バルーンの選択的膨張を容易にする、請求項6に記載のエレクトロポレーションカテーテル。
【請求項10】
交互のスプラインが交互の極性を有する電極を有する、請求項1に記載のエレクトロポレーションカテーテル。
(【請求項11】以降は省略されています)
発明の詳細な説明
【技術分野】
【0001】
関連出願との相互参照
本出願は、2021年5月25日に出願された仮出願第63/192,723号の優先権を主張するものであり、その全体が参照により本明細書に組み込まれる。
続きを表示(約 2,300 文字)
【0002】
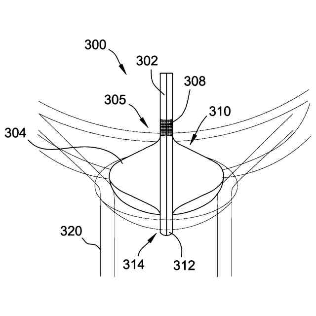
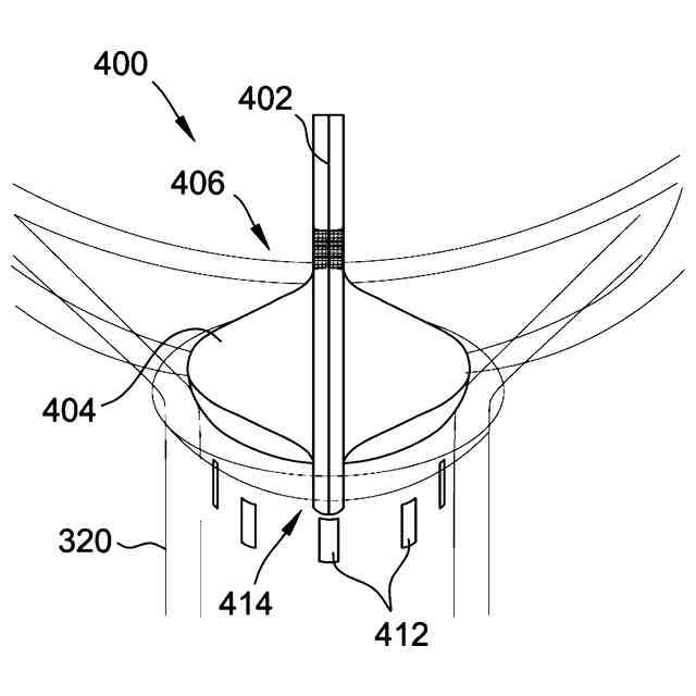
本開示は、一般に組織アブレーションシステムに関する。特に、本開示は、バスケット及び/又はバルーンを有するカテーテルアセンブリを含むエレクトロポレーションカテーテルに関する。
【背景技術】
【0003】
アブレーション治療が人体の解剖学的構造を苦しめている様々な状態を治療するために使用される可能性があることが一般に知られている。例えば、アブレーション治療は心房性不整脈の治療に用いられることがある。組織がアブレーションされるか、少なくともアブレーションジェネレータによって作り出され、アブレーションカテーテルによって送られるアブレーションエネルギーに曝されると、組織に損傷が形成される。心房性不整脈(異所性心房頻拍、心房細動、心房粗動などを含むが、これらに限定されない)のような病態を改善するために、アブレーションカテーテルに取り付けられた、あるいはアブレーションカテーテル内にある電極を使用して、心臓組織内に組織アポトーシスを引き起こす。
【0004】
不整脈(即ち、不規則な心臓のリズム)は、房室収縮の同期の喪失や血流のうっ滞など、様々な危険な状態を引き起こし、様々な病気や死に至ることさえある。心房性不整脈の主な原因は、心臓の左心房又は右心房内の迷走電気信号であると考えられている。アブレーションカテーテルは、アブレーションエネルギー(高周波エネルギー、冷凍アブレーション、レーザー、化学薬品、高密度焦点式超音波など)を心臓組織に加え、心臓組織に損傷を形成する。この損傷は望ましくない電気経路を破壊し、それによって不整脈につながる迷走電気信号を制限又は防止する。
【0005】
エレクトロポレーションは、細胞膜に孔形成を誘発する強い電界を印加する非熱的アブレーション技術である。電場は、例えばナノ秒から数ミリ秒持続し得る比較的短いパルスを印加することで誘発することができる。このようなパルスを繰り返してパルス列を形成してもよい。このような電場が生体内で組織に印加されると、組織内の細胞は膜透過電位を受け、細胞壁の孔が開く。エレクトロポレーションは可逆的(即ち、一時的に開いた孔が再び閉じる)であっても、不可逆的(即ち、孔が開いたまま)であってもよい。例えば、遺伝子治療の分野では、可逆的エレクトロポレーション(即ち、一時的に孔が開く)が、高分子量の治療用ベクターを細胞に導入するために使用される。他の治療用途では、適切に構成されたパルス列だけを用いて、例えば不可逆的エレクトロポレーションを引き起こすことによって、細胞破壊を引き起こすことができる。
【発明の概要】
【発明が解決しようとする課題】
【0006】
不可逆的エレクトロポレーション(IRE)やパルスフィールドアブレーション(PFA)を用いる二極エネルギーの供給に使用するカテーテルでは、カテーテル電極が血管壁に近いか接触していることを確実にすることが重要である。一般に、電極が血管壁に近いほど損傷サイズは大きくなる。したがって、血管壁の近くに電極を配置するか、血管壁に接触させるカテーテル構成が望ましい。
【課題を解決するための手段】
【0007】
一態様において、エレクトロポレーションカテーテルが提供される。エレクトロポレーションカテーテルは、シャフトと、シャフトの遠位部分の周りにバスケットを形成する複数のスプラインを備え、各スプラインは、シャフトに結合される近位端とシャフトに結合される遠位端との間に延び、複数のスプラインの各スプラインは、少なくとも1つの通電可能な電極を備える。エレクトロポレーションカテーテルはさらに、複数のスプラインによって形成されたバスケット内に配置されたバルーンを備え、バルーンは、複数のスプラインの位置の固定を容易にするために選択的に膨張可能である。
【0008】
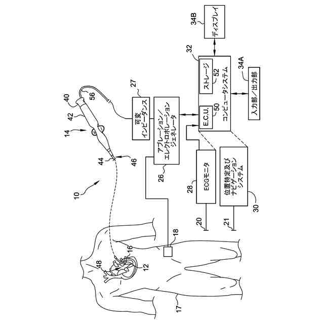
別の態様では、エレクトロポレーションシステムが提供される。このシステムは、ジェネレータと、ジェネレータに結合されたカテーテルを含む。カテーテルは、ハンドルと、ハンドルから遠位方向に延びるシャフトと、シャフトの遠位部分の周りにバスケットを形成する複数のスプラインを備え、各スプラインは、シャフトに結合される近位端とシャフトに結合される遠位端との間に延び、複数のスプラインの各スプラインは、少なくとも1つの通電可能な電極を備える。カテーテルはさらに、複数のスプラインによって形成されたバスケット内に配置されたバルーンを備え、バルーンは、複数のスプラインの位置の固定を容易にするために選択的に膨張可能である。
【0009】
さらに別の態様において、エレクトロポレーションカテーテルを組み立てる方法が提供される。この方法は、シャフトを提供するステップと、複数のスプラインをシャフトに結合して、シャフトの遠位部分の周りにバスケットを形成するステップであって、各スプラインは、シャフトに結合される近位端とシャフトに結合される遠位端との間に延び、複数のスプラインの各スプラインは、少なくとも1つの通電可能な電極を含む、ステップと、複数のスプラインによって形成されたバスケット内にバルーンを配置するステップであって、バルーンは、複数のスプラインの位置の固定を容易にするために選択的に膨張可能である、ステップと、を含む。
【0010】
本開示の前述及び他の態様、特徴、詳細、有用性及び利点は、以下の説明及び特許請求の範囲を読み、添付図面を参照することにより明らかになるであろう。
【図面の簡単な説明】
(【0011】以降は省略されています)
この特許をJ-PlatPat(特許庁公式サイト)で参照する
関連特許
個人
健康器具
8か月前
個人
短下肢装具
3か月前
個人
鼾防止用具
8か月前
個人
脈波測定方法
8か月前
個人
導電香
8か月前
個人
白内障治療法
7か月前
個人
嚥下鍛錬装置
3か月前
個人
排尿補助器具
11日前
個人
前腕誘導装置
3か月前
個人
マッサージ機
8か月前
個人
洗井間専家。
7か月前
個人
脈波測定方法
8か月前
個人
腰ベルト
1日前
個人
胸骨圧迫補助具
1か月前
個人
矯正椅子
4か月前
個人
ウォート指圧法
9日前
個人
アイマスク装置
1か月前
個人
ホバーアイロン
6か月前
個人
汚れ防止シート
26日前
個人
歯の修復用材料
4か月前
個人
バッグ式オムツ
4か月前
三生医薬株式会社
錠剤
7か月前
個人
湿布連続貼り機。
2か月前
個人
陣痛緩和具
3か月前
個人
哺乳瓶冷まし容器
3か月前
個人
シャンプー
6か月前
個人
車椅子持ち上げ器
7か月前
個人
口内洗浄具
8か月前
個人
歯の保護用シール
4か月前
株式会社大野
骨壷
3か月前
個人
治療用酸化防御装置
1か月前
株式会社八光
剥離吸引管
4か月前
個人
エア誘導コルセット
1か月前
個人
性行為補助具
2か月前
株式会社コーセー
化粧料
8日前
個人
服薬支援装置
7か月前
続きを見る
他の特許を見る