TOP
|
特許
|
意匠
|
商標
特許ウォッチ
Twitter
他の特許を見る
10個以上の画像は省略されています。
公開番号
2025156787
公報種別
公開特許公報(A)
公開日
2025-10-15
出願番号
2024059453
出願日
2024-04-02
発明の名称
衣服用ファン
出願人
ミドリ安全株式会社
代理人
弁護士法人クレオ国際法律特許事務所
主分類
F04D
29/00 20060101AFI20251007BHJP(液体用容積形機械;液体または圧縮性流体用ポンプ)
要約
【課題】ハウジングの軸方向寸法の増大を抑制しつつ、送風能力を向上させることができる衣服用ファンを提供すること。
【解決手段】吸込口11と、吸込口11に対向する吐出口21と、を有する中空のハウジング2と、ハウジング2の内部に配置されたファン本体3と、を備えた衣服用ファン1であって、ハウジング2は、一方の端部に吸込口11が形成された筒状の第1筒部12を有する第1ケース10と、一方の端部に吐出口21が形成されると共に第1筒部12が挿入される筒状の第2筒部22を有する第2ケース20と、を有し、ファン本体3は、電動モータ34によって回転させられて吸込口11から吐出口21に向けて送風する複数の羽根37を有し、吸込口11と吐出口21とが対向する方向を軸方向Xとするとき、吐出口21の開口縁21aの軸方向Xの位置は、羽根37の翼弦側下流端部38dを基準とした所定の範囲A内に設定されている。
【選択図】図6
特許請求の範囲
【請求項1】
吸込口と、前記吸込口に対向する吐出口と、を有する中空のハウジングと、前記ハウジングの内部に配置されたファン本体と、を備え、衣服に装着されて前記衣服内に空気を送風する衣服用ファンであって、
前記ハウジングは、一方の端部に前記吸込口が形成された筒状の第1筒部を有する第1ケースと、一方の端部に前記吐出口が形成されると共に前記第1筒部が挿入される筒状の第2筒部を有する第2ケースと、を有し、
前記ファン本体は、電動モータによって回転させられて前記吸込口から前記吐出口に向けて送風する複数の羽根を有し、
前記吸込口と前記吐出口とが対向する方向を軸方向とするとき、前記吐出口の開口縁の前記軸方向の位置は、前記羽根の翼弦側下流端部を基準とした所定の範囲内に設定されている
ことを特徴とする衣服用ファン。
続きを表示(約 1,300 文字)
【請求項2】
請求項1に記載された衣服用ファンにおいて、
前記吐出口の開口縁の前記軸方向の位置は、前記翼弦側下流端部の前記軸方向の位置に一致している
ことを特徴とする衣服用ファン。
【請求項3】
請求項1に記載された衣服用ファンにおいて、
前記所定の範囲は、前記ハウジングから吐出される風量の最大値からの低下率に基づいて規定されている
ことを特徴とする衣服用ファン。
【請求項4】
請求項1に記載された衣服用ファンにおいて、
前記所定の範囲は、前記翼弦側下流端部から前記吸込口側に2mm以下、且つ、前記翼弦側下流端部から前記吐出口側に2mm以下の範囲に規定されている
ことを特徴とする衣服用ファン。
【請求項5】
請求項1から請求項4のいずれか一項に記載された衣服用ファンにおいて、
前記電動モータには、前記電動モータを取り囲む円筒状の軸胴部と、前記軸胴部の一端を閉鎖すると共に前記吸込口に対向する軸端面と、を有するハブが取り付けられ、
前記複数の羽根は、前記軸胴部の外周面に一定の間隔をあけて設けられ、少なくとも一部が前記軸端面よりも前記吸込口側に突出している
ことを特徴とする衣服用ファン。
【請求項6】
請求項1から請求項4のいずれか一項に記載された衣服用ファンにおいて、
前記電動モータには、前記電動モータを取り囲む円筒状の軸胴部と、前記軸胴部の一端を閉鎖すると共に前記吸込口に対向する軸端面と、を有するハブが取り付けられ、
前記複数の羽根は、前記軸胴部の外周面に一定の間隔をあけて設けられ、
前記ハブ及び前記複数の羽根によって構成される羽根部材の直径に対する前記軸胴部の直径の割合が、40%未満に設定されている
ことを特徴とする衣服用ファン。
【請求項7】
請求項1から請求項4のいずれか一項に記載された衣服用ファンにおいて、
前記ハウジングの前記軸方向の長さに対する前記羽根の前記軸方向の長さの割合が、45%以上且つ60%以下に設定されている
ことを特徴とする衣服用ファン。
【請求項8】
請求項1から請求項4のいずれか一項に記載された衣服用ファンにおいて、
前記第2ケースは、前記電動モータを収納可能なモータ収納部と、前記電動モータに接続される通電用コネクタを収納可能なコネクタ収納部と、を有し、
前記コネクタ収納部は、前記軸方向に沿って見たとき、前記第2筒部の内側の領域に形成されている
ことを特徴とする衣服用ファン。
【請求項9】
請求項1から請求項4のいずれか一項に記載された衣服用ファンにおいて、
前記第1筒部は、外周面に第1ネジ部が形成され、
前記第2筒部は、内周面に前記第1ネジ部に結合する第2ネジ部が形成され、
前記第1ネジ部は、前記吸込口側の外径が前記衣服に形成された開口部の内径より小さく、前記吐出口側の外径が前記開口部の内径よりも大きい
ことを特徴とする衣服用ファン。
発明の詳細な説明
【技術分野】
【0001】
本発明は、衣服用ファンに関するものである。
続きを表示(約 2,100 文字)
【背景技術】
【0002】
従来、衣服に形成された開口部に吐出口が挿入された状態で装着され、衣服の内部に空気(外気)を送風する衣服用ファンが知られている(例えば、特許文献1及び特許文献2参照)。従来の衣服用ファンは、ファン本体が内部に配置された中空のハウジングを備えている。ハウジングは、吸込口が形成された筒状の第1ケースと、吸込口に対向する吐出口が形成されると共に第1ケースが挿入される筒状の第2ケースと、を有している。そして、衣服用ファンは、第1ケースと第2ケースの間に衣服を挟むことで衣服に装着される。
【先行技術文献】
【特許文献】
【0003】
特開2022-115685号公報
特開2022-27428号公報
【発明の概要】
【発明が解決しようとする課題】
【0004】
ところで、衣服用ファンでは、一般的にハウジングとファン本体との軸方向の距離が短いほど、ハウジング内の圧力が高まり、吸込口から空気が導入される際に圧力損失が生じて、結果的に吐出口から排出される風量が低下する。そのため、ハウジングの軸方向の長さを長くして、ハウジングとファン本体との軸方向の距離を大きく確保した方が、衣服用ファンの風量を増大し、送風能力を高めることが可能になる。
【0005】
しかしながら、衣服用ファンは衣服に装着されて使用される。このため、ハウジングは、軸方向の長さが長いほど衣服の内側や外側に大きく突出し、着用者の体に接触する機会が増えたり、着用者の作業の邪魔になったりする。そのため、衣服用ファンのハウジングは、軸方向の長さが短い方が好ましい。
【0006】
本発明は、上記問題に着目してなされたもので、ハウジングの軸方向寸法の増大を抑制しつつ、送風能力を向上させることができる衣服用ファンを提供することを目的とする。
【課題を解決するための手段】
【0007】
上記目的を達成するため、本発明の衣服用ファンは、吸込口と、前記吸込口に対向する吐出口と、を有する中空のハウジングと、前記ハウジングの内部に配置されたファン本体と、を備え、衣服に装着されて前記衣服内に空気を送風する衣服用ファンであって、前記ハウジングは、一方の端部に前記吸込口が形成された筒状の第1筒部を有する第1ケースと、一方の端部に前記吐出口が形成されると共に前記第1筒部が挿入される筒状の第2筒部を有する第2ケースと、を有し、前記ファン本体は、電動モータによって回転させられて前記吸込口から前記吐出口に向けて送風する複数の羽根を有し、前記吸込口と前記吐出口とが対向する方向を軸方向とするとき、前記吐出口の開口縁の前記軸方向の位置は、前記羽根の翼弦側下流端部を基準とした所定の範囲内に設定されている構成とした。
【発明の効果】
【0008】
これにより、本発明の衣服用ファンは、ハウジングの軸方向寸法の増大を抑制しつつ、送風能力を向上させることができる。
【図面の簡単な説明】
【0009】
実施例1の衣服用ファンが装着された衣服を示す図である。
実施例1の衣服用ファンを示す分解斜視図である。
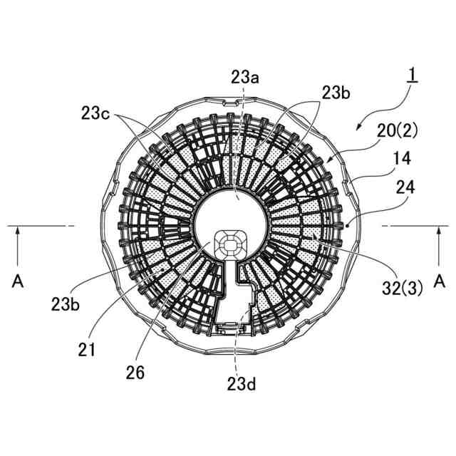
実施例1の衣服用ファンを吸込口側から見た平面図である。
実施例1の衣服用ファンを吐出口側から見た平面図である。
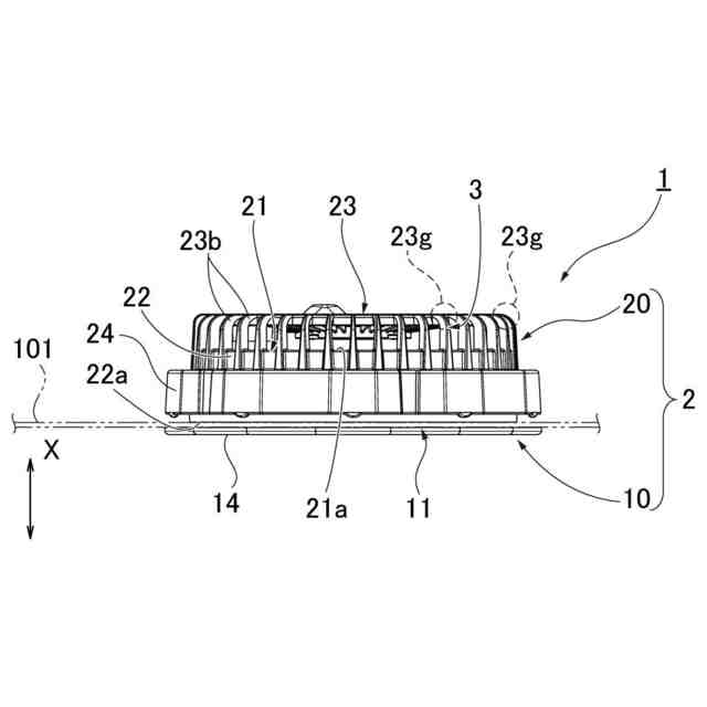
実施例1の衣服用ファンの側面図である。
図4におけるA-A断面図である。
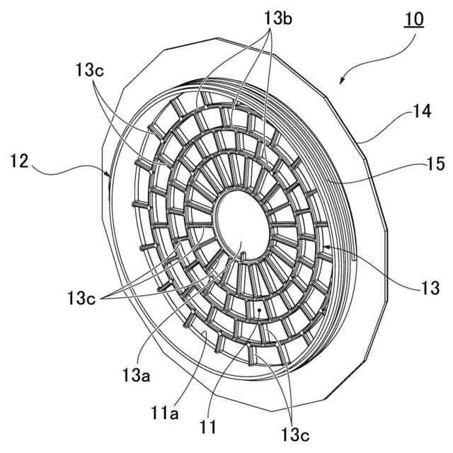
実施例1の第1ケースをハウジング内側から見た斜視図である。
実施例1の第2ケースをハウジング外側から見た斜視図である。
実施例1の羽根部材を示す斜視図である。
実施例1の羽根部材を吸込口側から見た平面図である。
実施例1の羽根部材の側面図である。
図3におけるB-B断面図である。
羽根周囲の圧力分布を示す表である。
第1試作の衣服用ファンの要部構成を示す断面図である。
第2試作の衣服用ファンの要部構成を示す断面図である。
第3試作の衣服用ファンの要部構成を示す断面図である。
翼弦側下流端部から吐出口の開口縁までの距離とシミュレーション風量との関係を示すグラフである。
翼弦側下流端部から吐出口の開口縁までの距離と実測風量との関係を示すグラフである。
実施例1の衣服用ファンと比較例の衣服用ファンにおける実測風量を示すグラフである。
実施例2の衣服用ファンを示す断面図である。
実施例2の第1ケースを示す側面図である。
図19におけるC-C断面図である。
実施例2の第2ケースを示す羽根部材を省略した断面図である。
実施例2の第2ケースを吸込口側から見た平面図である。
【発明を実施するための形態】
【0010】
本発明の衣服用ファンを実施するための形態を、図面に示す実施例1及び実施例2に基づいて説明する。
(【0011】以降は省略されています)
この特許をJ-PlatPat(特許庁公式サイト)で参照する
関連特許
個人
海流製造装置。
1か月前
株式会社スギノマシン
圧縮機
8日前
株式会社ツインバード
送風装置
28日前
株式会社ツインバード
送風装置
28日前
カヤバ株式会社
電動ポンプ
2か月前
日機装株式会社
遠心ポンプ
今日
株式会社不二越
蓄圧装置
2か月前
ビッグボーン株式会社
送風装置
1か月前
株式会社ノーリツ
ロータリ圧縮機
1か月前
サンデン株式会社
スクロール圧縮機
14日前
サンデン株式会社
スクロール圧縮機
14日前
サンデン株式会社
スクロール圧縮機
14日前
樫山工業株式会社
真空ポンプ
9日前
小倉クラッチ株式会社
ルーツブロア
2か月前
株式会社不二越
ベーンポンプ
2か月前
株式会社島津製作所
真空ポンプ
28日前
株式会社アイシン
ポンプケース
21日前
エドワーズ株式会社
真空ポンプ
22日前
株式会社島津製作所
真空ポンプ
1か月前
株式会社豊田自動織機
流体機械
1か月前
株式会社チロル
送風機、送風機付衣服
1か月前
株式会社豊田自動織機
電動圧縮機
1か月前
株式会社豊田自動織機
電動圧縮機
1か月前
株式会社豊田自動織機
電動圧縮機
1か月前
株式会社豊田自動織機
電動圧縮機
1か月前
株式会社豊田自動織機
電動圧縮機
1か月前
已久工業股ふん有限公司
空気圧縮機構造
2か月前
NTN株式会社
電動オイルポンプ
15日前
株式会社豊田自動織機
電動圧縮機
2か月前
株式会社豊田自動織機
電動圧縮機
2か月前
株式会社豊田自動織機
電動圧縮機
3か月前
株式会社豊田自動織機
電動圧縮機
2か月前
株式会社ナノバブル研究所
気液駆動装置
22日前
已久工業股ふん有限公司
エアコンプレッサ
1か月前
株式会社荏原製作所
給水装置
2か月前
株式会社西田技巧
シーリングファン
2か月前
続きを見る
他の特許を見る