TOP
|
特許
|
意匠
|
商標
特許ウォッチ
Twitter
他の特許を見る
10個以上の画像は省略されています。
公開番号
2025170885
公報種別
公開特許公報(A)
公開日
2025-11-20
出願番号
2024075720
出願日
2024-05-08
発明の名称
エアーバッグ
出願人
ミドリ安全株式会社
,
無限電光株式会社
代理人
個人
,
個人
,
個人
,
個人
主分類
A62B
35/00 20060101AFI20251113BHJP(人命救助;消防)
要約
【課題】ハーネスに設置されて使用されるエアーバッグであって、エアーバッグが設けられているハーネスの着用者が、落下することで振り子現象が発生しても、着用者を保護することができるエアーバッグを提供する。
【解決手段】人3が着用するハーネス5に設置されて使用され所定の大きさの力が加わったときに膨張するエアーバッグ1であって、ハーネス5の支持部9で支持されることでハーネス5に設置されるための被支持部7を有するエアーバッグ1である。
【選択図】図1
特許請求の範囲
【請求項1】
人が着用するハーネスに設置されて使用され、所定の大きさの力が加わったときに膨張するエアーバッグであって、
前記ハーネスの支持部で支持されることで、前記ハーネスに設置されるための被支持部を有するエアーバッグ。
続きを表示(約 4,000 文字)
【請求項2】
ガスが内部に入ることで膨らむ袋体と、
前記袋体が収容されるジャケットと、
前記ジャケットに設けられ、前記袋体に供給されるガスを内部に収容するガス収容体と、
前記ジャケットに設けられ、前記袋体のガス供給口と前記ガス収容体のガス吐出口とを互いにつなぐ流路と、前記流路を開閉する弁体とを備えて構成されている弁と、
前記ハーネスと前記弁とに係合し、前記ハーネスの所定の部位と前記弁とを互いに離す向きの所定の大きさ以上の力が、前記ハーネスと前記弁とに加わったときに、前記弁の弁体を動作させて前記弁の流路を開状態にする弁作動体と、
を有する請求項1に記載のエアーバッグ。
【請求項3】
前記ハーネスは、ハーネス本体とこのハーネス本体から延出しているランヤードとを備えて構成されており、
前記ランヤードは、ショックアブソーバと接続具とを備えて構成されており、
前記ショックアブソーバは、一方の端部が前記接続具に接続されており、他方の端部が前記ハーネス本体に接続されており、前記一方の端部と前記他方の端部とを互いに離す向きの、前記所定の大きさ以上の力が加わったときに、前記一方の端部と前記他方の端部との間の距離の値が大きくなる変形をして、前記一方の端部と前記他方の端部とを互いに離す向きの力を緩和するように構成されており、
前記弁作動体は、長手方向の引張力に対して大きな抵抗力を持つ細長い紐状の部材で構成されており、一方の端部が前記接続具に接続されており、他方の端部が前記弁に接続されており、
前記ショックアブソーバが前記一方の端部と前記他方の端部との間の距離の値が大きくなる変形をしたときに、前記紐状の部材の他方の端部が前記弁から離れることで前記弁の弁体が作動し前記弁の流路を開状態にするように構成されている請求項2に記載のエアーバッグ。
【請求項4】
前記ショックアブソーバは、所定の幅寸法と所定の厚さ寸法とを備え長手方向の引張力に対して大きな抵抗力を持つ細長い帯状の部材を、長手方向の中間部に位置している互いが離れた複数箇所で折り曲げた状態にしたことで、厚さ方向で互いが重なっている部位が形成されており、この重なっている部位の形状を維持するための形状維持部材が前記重なっている部位に設けられており、
前記ショックアブソーバの一方の端部と他方の端部とを互いに離す向きの、前記所定の大きさ以上の力が前記ショックアブソーバに加わることで、前記形状維持部材が壊れ、前記重なっている部位が細長い帯状部材の形状に変化するように構成されている請求項3に記載のエアーバッグ。
【請求項5】
前記ショックアブソーバが前記一方の端部と前記他方の端部とが互いに離れる変形をしたときに、前記ハーネスの接続具に対する前記弁の移動をし難くして前記紐状の部材の他方の端部を前記弁から離れやすくするために、前記ハーネス本体の係合部に係合する被係合部が前記ジャケットに設けられている請求項3または請求項4に記載のエアーバッグ。
【請求項6】
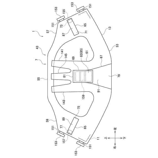
前記ハーネス本体は、
一対の肩ベルトと、
左側の端部が前記一対の肩ベルトのうちの左前側に位置している肩ベルトに接続されており右側の端部が前記一対の肩ベルトのうちの右前側に位置している肩ベルトに接続されている胸ベルトと、
左側の端部が前記一対の肩ベルトのうちの左後側に位置している肩ベルトに接続されており右側の端部が前記一対の肩ベルトのうちの右後側に位置している肩ベルトに接続されている背当て部と、
を備えて構成されており、
前記ジャケットは、
前側中央の箇所が欠損している下側部位と、
前側中央の箇所が欠損している上側部位と、
下端部が前記下側部位の前左側にある端部につながっており、上端部が前記上側部位の前左側にある端部につながっている前左側中間部位と、
下端部が前記下側部位の前右側にある端部につながっており、上端部が前記上側部位の前右側にある端部につながっている前右側中間部位と、
下端部が前記下側部位の後中央部につながっており、上端部が前記上側部位の後中央部につながる後側中間部位と、
一方の端部である基端部が、前記前左側中間部位の後面の第1の所定の部位に接合されており、他方の端部である先端部が、前記前左側中間部位の後面の第2の所定の部位に接合される左側延出片と、
一方の端部である基端部が、前記前右側中間部位の後面の第3の所定の部位に接合されており、他方の端部である先端部が、前記前右側中間部位の後面の第4の所定の部位に接合される右側延出片と、
一方の端部である基端部が、前記下側部位の前面の第5の所定の部位に接合されている中央下側延出片と、
一方の端部である基端部が、前記後側中間部位の前面の第6の所定の部位に接合されており、他方の端部である先端部が、前記中央下側延出片の他方の端部である先端部に接合される中央上側延出片と、
を有し、
前記ジャケットが前記ハーネス本体に設置された状態では、前記左側延出片の先端部が前記前左側中間部位の後面の第2の所定の部位に接合され、左前側に位置している前記肩ベルトの、前記胸ベルトの下側であって前記胸ベルトの近傍の部位が、前記左側延出片と前記前左側中間部位とで形成される環状の部位を通り抜け、
前記ジャケットが前記ハーネス本体に設置された状態では、前記右側延出片の先端部が前記前右側中間部位の後面の第4の所定の部位に接合され、右前側に位置している前記肩ベルトの、前記胸ベルトの下側であって前記胸ベルトの近傍の部位が、前記右側延出片と前記前右側中間部位とで形成される環状の部位を通り抜け、
前記ジャケットが前記ハーネス本体に設置された状態では、前記中央上側延出片の先端部が、前記中央下側延出片の先端部に接合され、前記背当て部が前記後側中間部位と前記中央上側延出片と前記中央下側延出片とで形成されている環状の部位を通り抜けるように構成されている請求項3または請求項4に記載のエアーバッグ。
【請求項7】
前記ハーネス本体は、
一対の肩ベルトと、
左側の端部が前記一対の肩ベルトのうちの左前側に位置している肩ベルトに接続されており右側の端部が前記一対の肩ベルトのうちの右前側に位置している肩ベルトに接続されている胸ベルトと、
左側の端部が前記一対の肩ベルトのうちの左後側に位置している肩ベルトに接続されており右側の端部が前記一対の肩ベルトのうちの右後側に位置している肩ベルトに接続されている背当て部と、
を備えて構成されており、
前記ジャケットは、
前側中央の箇所が欠損している下側部位と、
前側中央の箇所が欠損している上側部位と、
下端部が前記下側部位の前左側にある端部につながっており、上端部が前記上側部位の前左側にある端部につながっている前左側中間部位と、
下端部が前記下側部位の前右側にある端部につながっており、上端部が前記上側部位の前右側にある端部につながっている前右側中間部位と、
下端部が前記下側部位の後中央部につながっており、上端部が前記上側部位の後中央部につながっている後側中間部位と、
一方の端部である基端部が、前記前左側中間部位の後面の第1の所定の部位に接合されており、他方の端部である先端部が、前記前左側中間部位の後面の第2の所定の部位に接合される左側延出片と、
一方の端部である基端部が、前記前右側中間部位の後面の第3の所定の部位に接合されており、他方の端部である先端部が、前記前右側中間部位の後面の第4の所定の部位に接合される右側延出片と、
一方の端部である基端部が、前記下側部位の前面の第7の所定の部位に接合されており、他方の端部である先端部が、前記後側中間部位の前面の第8の所定の部位に接合されるか、
もしくは、
一方の端部である基端部が、前記後側中間部位の前面の第9の所定の部位に接合されており、他方の端部である先端部が、前記下側部位の前面の第10の所定の部位に接合される中央延出片と、
を有し、
前記ジャケットが前記ハーネス本体に設置された状態では、前記左側延出片の先端部が前記前左側中間部位の後面の第2の所定の部位に接合され、左前側に位置している前記肩ベルトの、前記胸ベルトの下側であって前記胸ベルトの近傍の部位が、前記左側延出片と前記前左側中間部位とで形成される環状の部位を通り抜け、
前記ジャケットが前記ハーネス本体に設置された状態では、前記右側延出片の先端部が前記前右側中間部位の後面の第4の所定の部位に接合され、右前側に位置している前記肩ベルトの、前記胸ベルトの下側であって前記胸ベルトの近傍の部位が、前記右側延出片と前記前右側中間部位とで形成される環状の部位を通り抜け、
前記ジャケットが前記ハーネス本体に設置された状態では、前記中央延出片の先端部が、前記後側中間部位の前面の第8の所定の部位に接合されるか、もしくは、前記中央延出片の先端部が、前記下側部位の前面の第10の所定の部位に接合され、前記背当て部が前記後側中間部位と前記中央延出片とで形成されている環状の部位を通り抜けるように構成されている請求項3または請求項4に記載のエアーバッグ。
発明の詳細な説明
【技術分野】
【0001】
本発明は、エアーバッグに係り、特に、ハーネスに設置されて使用されるものに関する。
続きを表示(約 2,000 文字)
【背景技術】
【0002】
従来、高所作業において、作業者の墜落を阻止する物としてフルハーネスや胴ベルトがある。これらは墜落を確実に阻止して、作業者を死亡を含む重大災害から守ることが出来る。なお、エアーバッグとして、乗り物に乗車している乗員が着用し、作動時に膨張用ガスを流入させて膨張するものが知られている(特許文献1参照)。
【先行技術文献】
【特許文献】
【0003】
特表2023-501338号公報
【発明の概要】
【発明が解決しようとする課題】
【0004】
ところで、フルハーネスや胴ベルトを着衣用した作業者は、たとえば、足場を踏み外しても落下しても、初期段階で落下することを停止することができる。しかしながら、初期段階で落下の停止がされても、振り子現象等により、フルハーネスや胴ベルトを着用した作業者が周辺の構造物に激突するおそれがある。
【0005】
本発明は、ハーネスに設置されて使用されるエアーバッグであって、エアーバッグが設けられているハーネスの着用者が、落下することで振り子現象が発生しても、着用者を保護することができるエアーバッグを提供することを目的とする。
【課題を解決するための手段】
【0006】
本発明の態様に係るエアーバッグは、人が着用するハーネスに設置されて使用され、所定の大きさの力が加わったときに膨張するエアーバッグであって、前記ハーネスの支持部で支持されることで、前記ハーネスに設置されるための被支持部を有するエアーバッグである。
【0007】
本発明の態様に係るエアーバッグは、ガスが内部に入ることで膨らむ袋体と、前記袋体が収容されるジャケットと、前記ジャケットに設けられ、前記袋体に供給されるガスを内部に収容するガス収容体と、前記ジャケットに設けられ、前記袋体のガス供給口と前記ガス収容体のガス吐出口とを互いにつなぐ流路と、前記流路を開閉する弁体とを備えて構成されている弁と、前記ハーネスと前記弁とに係合し、前記ハーネスの所定の部位と前記弁とを互いに離す向きの所定の大きさ以上の力が、前記ハーネスと前記弁とに加わったときに、前記弁の弁体を動作させて前記弁の流路を開状態にする弁作動体とを有するエアーバッグである。
【0008】
本発明の態様に係るエアーバッグでは、前記ハーネスが、ハーネス本体とこのハーネス本体から延出しているランヤードとを備えて構成されており、前記ランヤードが、ショックアブソーバと接続具とを備えて構成されており、前記ショックアブソーバは、一方の端部が前記接続具に接続されており、他方の端部が前記ハーネス本体に接続されており、前記一方の端部と前記他方の端部とを互いに離す向きの、前記所定の大きさ以上の力が加わったときに、前記一方の端部と前記他方の端部との間の距離の値が大きくなる変形をして、前記一方の端部と前記他方の端部とを互いに離す向きの力を緩和するように構成されており、前記弁作動体は、長手方向の引張力に対して大きな抵抗力を持つ細長い紐状の部材で構成されており、一方の端部が前記接続具に接続されており、他方の端部が前記弁に接続されており、前記ショックアブソーバが前記一方の端部と前記他方の端部との間の距離の値が大きくなる変形をしたときに、前記紐状の部材の他方の端部が前記弁から離れることで前記弁の弁体が作動し前記弁の流路を開状態にするように構成されている。
【0009】
本発明の態様に係るエアーバッグでは、前記ショックアブソーバが、所定の幅寸法と所定の厚さ寸法とを備え長手方向の引張力に対して大きな抵抗力を持つ細長い帯状の部材を、長手方向の中間部に位置している互いが離れた複数箇所で折り曲げた状態にしたことで、厚さ方向で互いが重なっている部位が形成されており、この重なっている部位の形状を維持するための形状維持部材が前記重なっている部位に設けられており、前記ショックアブソーバの一方の端部と他方の端部とを互いに離す向きの、前記所定の大きさ以上の力が前記ショックアブソーバに加わることで、前記形状維持部材が壊れ、前記重なっている部位が細長い帯状部材の形状に変化するように構成されている。
【0010】
本発明の態様に係るエアーバッグでは、前記ショックアブソーバが、前記一方の端部と前記他方の端部とが互いに離れる変形をしたときに、前記ハーネスの接続具に対する前記弁の移動をし難くして前記紐状の部材の他方の端部を前記弁から離れやすくするために、前記ハーネス本体の係合部に係合する被係合部が前記ジャケットに設けられている。
(【0011】以降は省略されています)
この特許をJ-PlatPat(特許庁公式サイト)で参照する
関連特許
個人
階段上り下り滑り板
9か月前
個人
高層ビルからの救助装置
2か月前
藤井電工株式会社
連結フック
7か月前
個人
ビル内部による救出装置
1か月前
個人
大地震の火災消火システム
3か月前
藤井電工株式会社
安全帯取付具
2か月前
株式会社高儀
胴当てベルト
3か月前
能美防災株式会社
消火装置
1か月前
個人
高層階の降下型避難装置
7か月前
帝国繊維株式会社
防災用車両
4か月前
株式会社キッツ
流水検知装置
5か月前
中国電力株式会社
長尺工具保持具
11か月前
ホーチキ株式会社
消火栓装置
7か月前
ホーチキ株式会社
消火栓装置
3か月前
ホーチキ株式会社
消火栓装置
5か月前
藤井電工株式会社
ストラップの保護カバー
9か月前
ホーチキ株式会社
消火栓装置
11か月前
ホーチキ株式会社
消火栓装置
1か月前
ホーチキ株式会社
消火栓装置
20日前
株式会社立売堀製作所
流水検知装置
4か月前
ホーチキ株式会社
消火栓装置
5か月前
ホーチキ株式会社
消火栓装置
11か月前
ホーチキ株式会社
消火栓装置
6か月前
帝国繊維株式会社
保形ホース点検装置
6か月前
能美防災株式会社
消火設備
1か月前
沖電気工業株式会社
筐体
2か月前
沖電気工業株式会社
筐体
8か月前
日本ドライケミカル株式会社
消火薬剤
5か月前
セコム株式会社
火災監視システム
1か月前
能美防災株式会社
混合消火剤
6か月前
能美防災株式会社
放水ヘッド用キャップ
6か月前
株式会社大林組
ドレンチャー設備
8か月前
株式会社初田製作所
消火栓ボックス
6か月前
ホーチキ株式会社
放水型消火システム
5か月前
トーハツ株式会社
消火用ポンプ
11か月前
能美防災株式会社
泡消火方法及び泡消火設備
2か月前
続きを見る
他の特許を見る