TOP
|
特許
|
意匠
|
商標
特許ウォッチ
Twitter
他の特許を見る
公開番号
2025156465
公報種別
公開特許公報(A)
公開日
2025-10-14
出願番号
2025128474,2023517640
出願日
2025-07-31,2022-05-02
発明の名称
リング状物体の製造方法、成膜装置、ハードディスクドライブ用スペーサ、及びハードディスクドライブ装置
出願人
HOYA株式会社
代理人
弁理士法人i-MIRAI
主分類
G11B
17/038 20060101AFI20251002BHJP(情報記憶)
要約
【課題】リング状物体の製造方法において、リング状物体の表面の膜厚ムラを抑制しつつ、成膜プロセスの生産性を向上させることが可能な技術を提供する。
【解決手段】
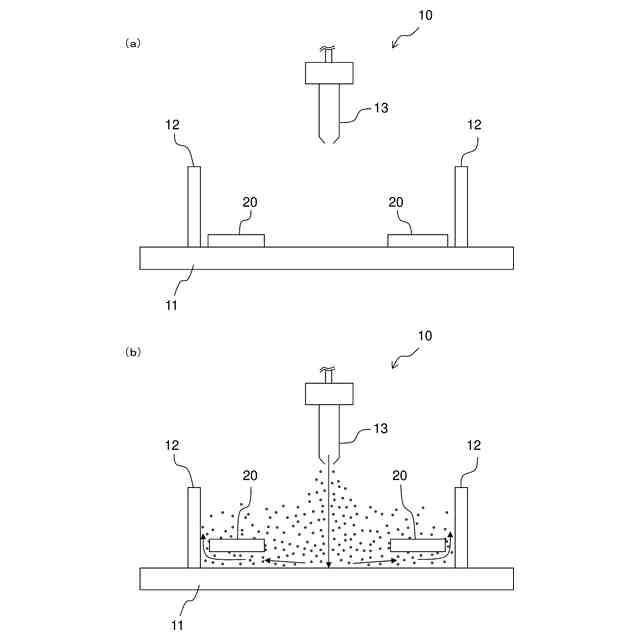
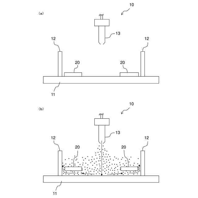
リング状物体(1)の製造方法は、リング状基材(20)をプレート(11)に載置することと、プレート(11)に載置されたリング状基材(20)の上方からリング状基材(20)の中央の穴に被覆原料を含む気体を噴き付けて、リング状基材(20)をプレート(11)から浮上させてリング状基材(20)の表面に膜(22)を形成することとを含む。
【選択図】図4
特許請求の範囲
【請求項1】
リング状物体の製造方法であって、
リング状基材をプレートに載置すること、
前記リング状基材を前記プレートの上方に離すこと、
前記プレートの上方に離した前記リング状基材の表面に膜を形成すること、を含み、
前記膜の形成は、前記リング状基材の上方から前記リング状基材の中央の穴の方向に向けて被覆原料を含む気体を噴き付けることによって行われる、リング状物体の製造方法。
続きを表示(約 820 文字)
【請求項2】
前記プレートが、加熱されたプレートである請求項1に記載のリング状物体の製造方法。
【請求項3】
前記噴き付けを複数回行うことにより前記膜を形成する、請求項2に記載のリング状物体の製造方法。
【請求項4】
前記被覆原料を含む気体の噴射圧力は、0.05~1.0MPaである請求項1に記載のリング状物体の製造方法。
【請求項5】
前記リング状基材の材料は、ガラス、セラミックス、金属、樹脂のいずれか一つを含む、請求項1に記載のリング状物体の製造方法。
【請求項6】
前記膜は導電性の膜である請求項1に記載のリング状物体の製造方法。
【請求項7】
前記膜は導電性の金属酸化物を含む膜である請求項6に記載のリング状物体の製造方法。
【請求項8】
リング状物体の製造方法であって、
リング状基材を載置台に載置して加熱する加熱処理と、
加熱された前記リング状基材を前記載置台の上方に離す処理と、
前記載置台の上方に離した前記リング状基材の表面に膜を形成する膜形成処理とを含み、
前記膜形成処理は、被覆原料を含む気体を前記リング状基材に噴き付けることによって行われる、リング状物体の製造方法。
【請求項9】
前記リング状物体はハードディスクドライブ用スペーサである請求項1~8のいずれか一項に記載のリング状物体の製造方法。
【請求項10】
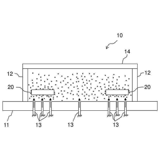
成膜装置であって、
リング状基材が載置されるプレートと、
前記リング状基材を位置決めする位置決め手段と、
前記プレートの上方に設けられ、前記位置決め手段によって位置決めされた前記リング状基材の中央の穴の方向に向けて被覆原料を含む気体を噴き付けるノズルとを備える成膜装置。
(【請求項11】以降は省略されています)
発明の詳細な説明
【技術分野】
【0001】
本発明は、リング状物体の全表面に対するスプレー成膜によるリング状物体の製造方法、成膜装置、リング状物体、及びハードディスクドライブ装置に関する。
続きを表示(約 1,900 文字)
【背景技術】
【0002】
近年のクラウドコンピューティングの隆盛に伴って、クラウド向けのデータセンターでは記憶容量の大容量化のために多くのハードディスクドライブ装置(以下、HDD装置ともいう)が用いられている。
【0003】
HDD装置には、磁気ディスク同士の間に、磁気ディスク同士を離間させて保持するためのリング形状のスペーサが設けられている。スペーサは、磁気ディスク同士が接触せず、高精度に所定の位置に離間して配置されるように機能する。スペーサの材料としては、従来、導電性があり、製造コストの低い金属材料が用いられてきた。ところで、磁気ディスク用の基板としてガラス基板を用いる場合など、スペーサと磁気ディスク用基板のそれぞれの材料の線膨張係数が異なる場合、スペーサと磁気ディスクとは互いに接触しているので、HDD装置内の温度の変化に伴って、スペーサと磁気ディスクとの間で熱膨張の差が生じる。この結果、磁気ディスクに撓みが生じ、磁気ヘッドの浮上性が悪化する場合がある。磁気ヘッドの浮上性が悪化することは、HDD装置における磁気ディスクの読み取り及び書き込みの点から好ましくない。この問題は、高記録密度化が進むほど影響が大きくなる。
【0004】
このため、近年、磁気ディスク用基板としてガラス基板を用いる場合に対応させる(線膨張係数を近づける)ため、あるいは従来より軽くて高剛性のスペーサとするため、ガラス製スペーサ(以下、ガラススペーサという)を用いることが検討されている。しかし、ガラスは絶縁体であるため、高速回転する磁気ディスク及びガラススペーサと、空気との摩擦等により、磁気ディスクあるいはスペーサ上に静電気が溜まり易い。磁気ディスクやスペーサが帯電すると、異物や微粒子を吸着し易くなるほか、溜まった静電気の磁気ヘッドへの放電により、磁気ヘッドの記録素子や再生素子が破壊されることがあるので好ましくない。
【0005】
これに対して、ガラススペーサの少なくとも磁気ディスクとの当接面及び内周面に、膜厚0.1~3μmの導電性セラミック膜を被覆したガラススペーサが知られている(特許文献1)。これにより、磁気ディスクに帯電した静電気を効率よく逃がすことができ、当接面をほとんど摩耗させることがないとされている。
【先行技術文献】
【特許文献】
【0006】
特開平9-44969号公報
【発明の概要】
【発明が解決しようとする課題】
【0007】
上記ガラススペーサを製造する際の成膜には、PVD(Physical Vapor Deposition)法、CVD(Chemical Vapor Deposition)法等が用いられる。しかし、これらの成膜方法を用いる場合、一般的には、スペーサを保持する部材(支持部材)がスペーサと接触する部分については成膜できないという問題がある。このため、保持部材による保持のためにスペーサの表面の一部が成膜されずに露出し、露出した部分からガラスの欠片が微粒子となって発塵する場合があった。また、露出部分を完全に無くすために、一度成膜したスペーサを成膜装置から取り出し、成膜された領域を保持部材で保持しつつ二度目の成膜を行うことも可能ではある。しかし、二度の成膜を行うため、保持部材と接触した場所と、それ以外の場所とで膜厚ムラが生じるという問題があった。さらに、成膜工程が煩雑となり、製造コストが増加するという問題があった。
【0008】
本発明は、上記のような課題を解決するためになされたものであり、リング状物体の製造方法において、リング状物体の表面の膜厚ムラを抑制しつつ、成膜プロセスの生産性を向上させることが可能な技術を提供することを目的とする。
【課題を解決するための手段】
【0009】
本発明の第1の態様に従えば、リング状物体の製造方法であって、
リング状基材をプレートに載置することと、
前記プレートに載置された前記リング状基材の上方から前記リング状基材の中央の穴に被覆原料を含む気体を噴き付けて、前記リング状基材を前記プレートから浮上させて前記リング状基材の表面に膜を形成することとを含む、リング状物体の製造方法が提供される。
【0010】
本発明の第1の態様に従うリング状物体の製造方法において、前記プレートが、加熱されたプレートであってもよい。
(【0011】以降は省略されています)
この特許をJ-PlatPat(特許庁公式サイト)で参照する
関連特許
RAMXEED株式会社
記憶装置
1か月前
ローム株式会社
RAM
2か月前
株式会社東芝
磁気ヘッド、及び、磁気記録装置
1か月前
ローム株式会社
半導体メモリ装置
1か月前
株式会社JVCケンウッド
車載装置
28日前
ルネサスエレクトロニクス株式会社
半導体装置
1か月前
ミネベアミツミ株式会社
ハードディスク駆動装置
2か月前
株式会社レゾナック・ハードディスク
磁気記録媒体の製造方法
8日前
富士通株式会社
書き込みアシスト回路及びSRAM
14日前
株式会社半導体エネルギー研究所
半導体装置
1か月前
株式会社半導体エネルギー研究所
半導体装置
1か月前
株式会社半導体エネルギー研究所
半導体装置
22日前
株式会社半導体エネルギー研究所
半導体装置
1か月前
株式会社半導体エネルギー研究所
半導体装置
14日前
株式会社半導体エネルギー研究所
半導体装置
16日前
株式会社半導体エネルギー研究所
半導体装置
1か月前
株式会社東芝
ディスク装置
1か月前
ルネサスエレクトロニクス株式会社
半導体装置および書き込み方法
1か月前
キヤノン株式会社
映像処理装置、映像処理方法、および、プログラム
1か月前
株式会社東芝
磁気ディスク装置
9日前
株式会社東芝
磁気ディスク装置
1か月前
華邦電子股ふん有限公司
半導体積層ウェハ
14日前
株式会社東芝
磁気ディスク装置におけるヘッド浮上量の調整方法
1か月前
ルネサスエレクトロニクス株式会社
半導体装置の製造方法および半導体装置
1か月前
株式会社フジミインコーポレーテッド
研磨用組成物、基板の製造方法および研磨方法
2か月前
株式会社フジミインコーポレーテッド
研磨用組成物、基板の製造方法および研磨方法
2か月前
山口精研工業株式会社
磁気ディスク基板の研磨方法
2か月前
富士フイルム株式会社
磁気テープ、磁気テープカートリッジおよび磁気テープ装置
22日前
株式会社東芝
ランプおよび磁気ディスク装置
1か月前
株式会社東芝
磁気ディスク装置およびその制御方法
1か月前
株式会社東芝
サスペンションアセンブリ及びディスク装置
1か月前
株式会社東芝
ディスク装置、及びディスク装置の制御方法
28日前
華邦電子股ふん有限公司
半導体記憶装置及びその制御方法
1か月前
株式会社東芝
ディスク装置及びヘッドジンバルアセンブリ
8日前
日本発條株式会社
ディスク装置用サスペンション
1日前
株式会社東芝
熱アシスト磁気記録再生装置、及びその調整方法
15日前
続きを見る
他の特許を見る