TOP
|
特許
|
意匠
|
商標
特許ウォッチ
Twitter
他の特許を見る
10個以上の画像は省略されています。
公開番号
2025162960
公報種別
公開特許公報(A)
公開日
2025-10-28
出願番号
2024184974
出願日
2024-10-21
発明の名称
半導体装置の製造方法および半導体装置
出願人
ルネサスエレクトロニクス株式会社
代理人
弁理士法人筒井国際特許事務所
主分類
G11C
29/00 20060101AFI20251021BHJP(情報記憶)
要約
【課題】ユーザによるMTJ-OTPメモリセルへの確実な書き込み動作を保証できる半導体装置の製造方法および半導体装置を提供する。
【解決手段】ライトドライバWTDは、昇圧電圧Vcpまたはレギュレータ電圧Vrgを用いて、OTPメモリセルMCoに2値データの一方を書き込む。OTP電圧選択レジスタREGohは、ライトドライバWTDに2個の電圧の一方を選択させる。トリミングレジスタREGtc,REGtrは、それぞれ、2個の電圧の大きさを定める電圧設定値SV1,SV2を保持する。OTP電圧トリミング工程は、2個の電圧設定値SV1,SV2の一方をトリミング対象として、複数のOTPメモリセルMCoに1個ずつの書き込みを行いながら、N個のOTPメモリセルMCoにて、同一の電圧設定値での書き込みが連続して成功するまで、電圧設定値を高電圧方向へ順次変更する工程である。
【選択図】図5
特許請求の範囲
【請求項1】
半導体ウエハに不揮発性メモリを形成するウエハプロセス工程と、
前記半導体ウエハをテストするウエハテスト工程と、
を有する半導体装置の製造方法であって、
前記不揮発性メモリには、
複数のワード線と、
前記複数のワード線に交差して配置される複数のビット線と、
前記複数のビット線に並んで配置される複数のソース線と、
前記複数のワード線と前記複数のビット線との交点に配置され、前記複数のワード線のいずれかによってオンオフが制御されるトランジスタスイッチおよび絶縁破壊の有無によって2値データを記憶するMTJ(Magnetoresistive Tunnel Junction)素子を有する複数のOTP(One Time Programmable)メモリセルと、
電源電圧を昇圧することで昇圧電圧を生成するチャージポンプ回路と、
前記電源電圧を降圧することでレギュレータ電圧を生成する電圧レギュレータ回路と、
前記複数のビット線のいずれかと前記複数のソース線のいずれかとの間に前記昇圧電圧または前記レギュレータ電圧を印加することで、前記複数のOTPメモリセルのいずれかに前記2値データの一方を書き込むライトドライバと、
前記ライトドライバに前記昇圧電圧または前記レギュレータ電圧のいずれか一方を選択させるOTP電圧選択レジスタと、
前記昇圧電圧の大きさを定める第1の電圧設定値を保持する第1のトリミングレジスタと、
前記レギュレータ電圧の大きさを定める第2の電圧設定値を保持する第2のトリミングレジスタと、
が形成され、
前記ウエハテスト工程は、OTP電圧トリミング工程を有し、
前記OTP電圧トリミング工程は、前記第1の電圧設定値または前記第2の電圧設定値の一方をトリミング対象の電圧設定値として、前記複数のOTPメモリセルに1個ずつの書き込みを行いながら、前記複数のOTPメモリセルに含まれる2個以上であるN個のOTPメモリセルにて、同一の前記電圧設定値での書き込みが連続して成功するまで、前記電圧設定値を高電圧方向へ順次変更する工程である、
半導体装置の製造方法。
続きを表示(約 2,400 文字)
【請求項2】
請求項1に記載の半導体装置の製造方法において、
前記OTP電圧トリミング工程は、
(A)前記電圧設定値を初期値に定め、前記複数のOTPメモリセルの中の1個を対象のOTPメモリセルに定めるステップと、
(B)前記電圧設定値を用いて、前記対象のOTPメモリセルに書き込みを行うステップと、
(C)前記対象のOTPメモリセルにおける書き込みの成否を判定するステップと、
(D1)前記(C)のステップにおける判定結果が失敗の場合には、連続成功数をクリアし、前記電圧設定値を高電圧方向へ変更し、前記対象のOTPメモリセルを変更して前記(B)のステップに戻るステップと、
(D2)前記(C)のステップにおける判定結果が成功の場合、前記連続成功数をカウントアップし、前記連続成功数が前記N個に達しない場合には、前記対象のOTPメモリセルを変更して前記(B)のステップに戻るステップと、
を有する、
半導体装置の製造方法。
【請求項3】
請求項2に記載の半導体装置の製造方法において、
さらに、(E)前記(D2)のステップにて前記連続成功数が前記N個に達した場合、現在の電圧設定値に高電圧方向のマージンを付加し、マージンが付加された電圧設定値を、前記第1の電圧設定値または前記第2の電圧設定値の一方のトリミング結果として確定させるステップを有する、
半導体装置の製造方法。
【請求項4】
請求項2に記載の半導体装置の製造方法において、
前記不揮発性メモリには、前記OTP電圧トリミング工程のシーケンスを制御するメモリBIST(Built In Self Test)回路が形成される、
半導体装置の製造方法。
【請求項5】
請求項1に記載の半導体装置の製造方法において、
前記不揮発性メモリには、
前記複数のOTPメモリセルの一部で構成され、ユーザが自由に使用可能な領域であるOTPユーザ領域と、
前記複数のOTPメモリセルの他の一部で構成され、前記OTP電圧トリミング工程で用いられる領域であるOTPテスト領域と、
P(Parallel)状態またはAP(Anti Parallel)状態で2値データを保持する通常メモリセルで構成され、ユーザが自由に使用可能な領域である通常用のメモリ領域と、
が形成される、
半導体装置の製造方法。
【請求項6】
請求項5に記載の半導体装置の製造方法において、
前記OTPテスト領域は、前記OTPユーザ領域と比較して、前記ライトドライバから離れた位置に形成される、
半導体装置の製造方法。
【請求項7】
請求項5に記載の半導体装置の製造方法において、
前記ウエハテスト工程は、さらに、前記OTP電圧トリミング工程の後に行われるスクリーニング工程を有し、
前記スクリーニング工程は、
(F)前記複数のOTPメモリセルが接続される全てのビット線に前記OTP電圧トリミング工程で定めた前記昇圧電圧または前記レギュレータ電圧が印加されるように、前記OTPテスト領域内のOTPメモリセルに書き込みを行うステップと、
(G)前記(F)のステップののち、前記全てのビット線に接続される複数のメモリセルであり、前記OTPユーザ領域または前記通常用のメモリ領域に含まれる前記複数のメモリセルを対象に、P書き込みまたはAP書き込みを行い、P読み出しまたはAP読み出しが行えることを検証するステップと、
を有する、
半導体装置の製造方法。
【請求項8】
請求項7に記載の半導体装置の製造方法において、
前記(F)のステップでは、前記OTP電圧トリミング工程で定めた前記昇圧電圧または前記レギュレータ電圧が前記(F)のステップよりも前に印加済みとなっているビット線は、書き込み対象から除外される、
半導体装置の製造方法。
【請求項9】
請求項1に記載の半導体装置の製造方法において、
前記OTP電圧トリミング工程は、
前記第1の電圧設定値を前記トリミング対象とする工程と、
前記第2の電圧設定値を前記トリミング対象とする工程と、
を有する、
半導体装置の製造方法。
【請求項10】
ワード線と、
前記ワード線に交差して配置される複数のビット線と、
前記ビット線に並んで配置される複数のソース線と、
前記ワード線と前記複数のビット線との交点に配置され、前記ワード線によってオンオフが制御されるトランジスタスイッチおよび絶縁破壊の有無によって2値データを記憶するMTJ(Magnetoresistive Tunnel Junction)素子を有する複数のOTP(One Time Programmable)メモリセルと、
電源電圧を昇圧することで昇圧電圧を生成するチャージポンプ回路と、
前記電源電圧を降圧することでレギュレータ電圧を生成する電圧レギュレータ回路と、
前記複数のビット線のいずれかと前記複数のソース線のいずれかとの間に前記昇圧電圧または前記レギュレータ電圧を印加することで、前記複数のOTPメモリセルのいずれかに前記2値データの一方を書き込むライトドライバと、
前記ライトドライバに前記昇圧電圧または前記レギュレータ電圧のいずれか一方を選択させるOTP電圧選択レジスタと、
を備える、
半導体装置。
(【請求項11】以降は省略されています)
発明の詳細な説明
【技術分野】
【0001】
本発明は、半導体装置の製造方法および半導体装置に関し、例えば、OTP(One Time Programmable)メモリの技術に関する。
続きを表示(約 3,300 文字)
【背景技術】
【0002】
非特許文献1には、アンチヒューズ-プログラミング-メカニズムを使用して、高密度と優れたデータストレージ寿命とを実現するロジックNVMセルが示される。非特許文献2には、WLCSP(Wafer Level Chip Scale Package)の前に、トリミングデータ等を、MTJ(Magnetoresistive Tunnel Junction)-OTPメモリセルに書き込むことについて記載されている。非特許文献3には、MTJ-OTPメモリセルのセル電流を論理判定する際の参照電流を、パラレル状態でのセル電流(I
P
)と絶縁破壊状態でのセル電流(I
BD
)との間に設定することが記載されている。
【先行技術文献】
【非特許文献】
【0003】
” Highly Reliable Anti-Fuse Technology in sub-16nm Technologies for Security Applications ”, 2016 IEEE International Conference on Integrated Circuit Design and Technology (ICICDT)
”Design Challenges and Solutions of Emerging Nonvolatile Memory for Embedded Applications”, 2021 IEEE International Electron Devices Meeting (IEDM)
”33.1 A 16nm 32Mb Embedded STT-MRAM with a 6ns Read-Access Time, a 1M-Cycle Write Endurance, 20-Year Retention at 150°C and MTJ-OTP Solutions for Magnetic Immunity”, 2023 IEEE International Solid-State Circuits Conference (ISSCC)
【発明の概要】
【発明が解決しようとする課題】
【0004】
近年、MCU(Micro Controller Unit)またはSoC(System on Chip)等の半導体装置では、OTPに、トリミングデータおよび救済データ等に加えて、例えば、セキュリティ情報やブート情報等を書き込みたい、といった要望が広がっている。この場合、例えば、数10kB-数100kBといったOTPの大容量化が求められる。大容量のOTPを小面積で実現する方式として、非特許文献1に示されるようなアンチヒューズ型のOTPに代わって、非特許文献2,3等に示されるようなMTJ-OTPメモリセルを利用することが有益となる。
【0005】
MTJ-OTPメモリセルは、STT-MRAM(Spin Torque Transfer Magnetic RAM)が有するメモリセルの一部を流用して、当該メモリセル内のMTJ素子を絶縁破壊することで実現される。MTJ素子を絶縁破壊する際には、通常の書き込みで用いる電圧よりも高い電圧が印加される。これにより、耐圧といった信頼性の課題が生じ得る。トリミングデータ等を書き込むためにMTJ-OTPメモリセルを用いる場合、OTPメモリセルへの書き込みは、STT-MRAMのテスト工程内で行われる。このため、OTPメモリセルへの書き込みに起因して不良が生じた場合であっても、当該不良をテスト工程内で検出でき、不良品のユーザへの流出を防止できる。
【0006】
一方、セキュリティ情報やブート情報等を書き込むためにMTJ-OTPメモリセルを用いる場合、OTPメモリセルへの書き込みは、ユーザによって行われる。このため、ユーザによるOTPメモリセルへの確実な書き込み動作を保証する必要がある。さらに、ユーザによるOTPメモリセルへの書き込み動作に起因して不良が生じないことを保証する必要がある。
【0007】
後述する実施の形態は、このようなことに鑑みてなされたものであり、その他の課題と新規な特徴は、本明細書の記述及び添付図面から明らかになるであろう。
【課題を解決するための手段】
【0008】
一実施の形態による半導体装置の製造方法は、半導体ウエハに不揮発性メモリを形成するウエハプロセス工程と、半導体ウエハをテストするウエハテスト工程と、を有する。ウエハテスト工程は、OTP電圧トリミング工程を有する。不揮発性メモリには、複数のワード線、複数のビット線、複数のソース線、および複数のOTPメモリセルに加えて、チャージポンプ回路、電圧レギュレータ回路、ライトドライバ、OTP電圧選択レジスタ、第1のトリミングレジスタおよび第2のトリミングレジスタが形成される。複数のOTPメモリセルは、絶縁破壊の有無によって2値データを記憶するMTJ素子を有する。チャージポンプ回路は、電源電圧を昇圧することで昇圧電圧を生成する。電圧レギュレータ回路は、電源電圧を降圧することでレギュレータ電圧を生成する。ライトドライバは、ビット線とソース線との間に昇圧電圧またはレギュレータ電圧を印加することで、OTPメモリセルに2値データの一方を書き込む。OTP電圧選択レジスタは、ライトドライバに昇圧電圧またはレギュレータ電圧のいずれか一方を選択させる。第1のトリミングレジスタ、および第2のトリミングレジスタは、それぞれ、昇圧電圧の大きさを定める第1の電圧設定値、およびレギュレータ電圧の大きさを定める第2の電圧設定値を保持する。OTP電圧トリミング工程は、第1の電圧設定値または第2の電圧設定値の一方をトリミング対象の電圧設定値として、複数のOTPメモリセルに1個ずつの書き込みを行いながら、N個のOTPメモリセルにて、同一の電圧設定値での書き込みが連続して成功するまで、電圧設定値を高電圧方向へ順次変更する工程である。
【発明の効果】
【0009】
前記一実施の形態によれば、ユーザによるMTJ-OTPメモリセルへの確実な書き込み動作を保証できる。
【図面の簡単な説明】
【0010】
図1は、一実施の形態による半導体装置の構成例を示す概略図である。
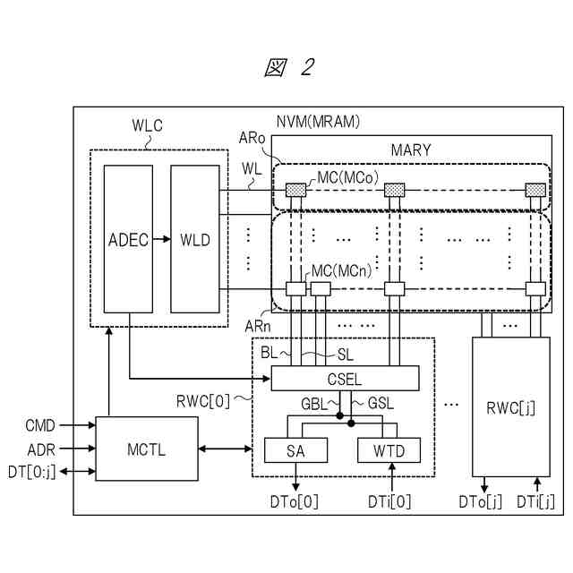
図2は、図1における不揮発性メモリの概略構成例を示す回路ブロック図である。
図3は、図2におけるメモリセルの構成例および動作例を示す模式図である。
図4は、一実施の形態による半導体装置の製造方法の一例を示すフロー図である。
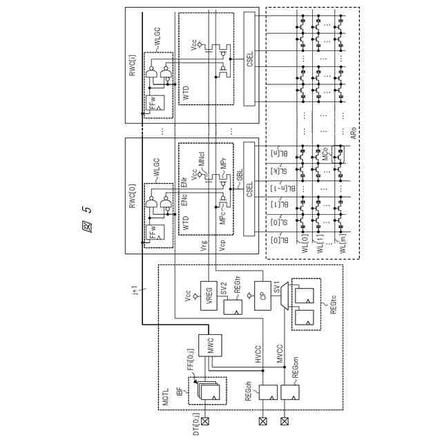
図5は、図2において、OTP用のメモリ領域への書き込み動作に着目した主要部の構成例を示す回路ブロック図である。
図6は、図4におけるOTP電圧トリミング工程の詳細な処理内容の一例を示すフロー図である。
図7は、図6に示されるフローに基づく具体的な動作例を示す模式図である。
図8は、図5における電圧レギュレータ回路の詳細な構成例を示す回路図である。
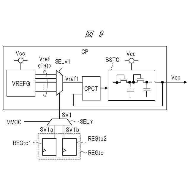
図9は、図5におけるチャージポンプ回路の概略的な構成例を示す回路図である。
図10Aは、図5におけるOTP用のメモリ領域のレイアウト構成例を示す模式図である。
図10Bは、図5におけるOTP用のメモリ領域のレイアウト構成例を示す模式図である。
図11は、図4におけるスクリーニング工程の詳細な処理内容の一例を示すフロー図である。
図12は、図11における一部の処理内容を説明するための補足図である。
図13は、図5を変形した構成例を示す回路ブロック図である。
【発明を実施するための形態】
(【0011】以降は省略されています)
この特許をJ-PlatPat(特許庁公式サイト)で参照する
関連特許
国立研究開発法人農業・食品産業技術総合研究機構
植物の根頭がんしゅ病防除剤及び植物の根頭がんしゅ病防除方法
1日前
他の特許を見る