TOP
|
特許
|
意匠
|
商標
特許ウォッチ
Twitter
他の特許を見る
公開番号
2025155515
公報種別
公開特許公報(A)
公開日
2025-10-14
出願番号
2024128714,2024059247
出願日
2024-08-05,2024-04-01
発明の名称
情報処理システム、情報処理方法及びプログラム
出願人
株式会社ビズリーチ
代理人
弁理士法人IPX
主分類
G06Q
10/00 20230101AFI20251006BHJP(計算;計数)
要約
【課題】求職者の顧客生涯価値を予測できる情報処理システム、情報処理方法及びプログラムを提供する。
【解決手段】情報処理システムにおいて、サーバ装置は、求職者の登録情報及び求職に関する行動履歴の少なくとも一方を含む属性情報を取得し、属性情報と、登録情報の登録からの経過時間から、経過時間を変数とし、経過時間の増加に伴い、初期値より大きい値に収束する確率計算関数により求人成約確率及び予測売上額を算出し、その積から顧客生涯価値を算出する。予測売上額は、求人成約で生じる売上の確率分布に基づき算出される。求人成約確率及び予測売上額の算出前に、属性情報をパラメータ出力モデルに入力し、確率計算関数の収束値と、確率計算関数に含まれる特定定数と、確率分布の母数とを出力させる。パラメータ出力モデルは、属性情報を入力し、収束値、特定定数及び母数を出力可能な学習モデルである。
【選択図】図1
特許請求の範囲
【請求項1】
情報処理システムであって、
少なくとも1つのプロセッサを備え、
前記プロセッサは、プログラムを読み出すことで次の各ステップを実行するように構成され、
取得ステップでは、求職者に関する属性情報を取得し、
ここで、前記属性情報は、前記求職者の登録情報及び前記求職者の求職に関連する行動履歴の少なくとも一方を含み、
算出ステップでは、前記属性情報と、前記登録情報の登録からの経過時間とに基づき、前記求職者の求人成約確率及び前記求職者の予測売上額を算出するとともに、前記求人成約確率と前記予測売上額との積を用いて前記求職者の顧客生涯価値を算出し、
ここで、前記求人成約確率は、前記経過時間を変数とし、前記経過時間の増加に伴い、初期値から前記初期値よりも大きい収束値に収束する確率計算関数によって算出され、
前記予測売上額は、求人成約に伴って生じる売上が従う確率分布に基づいて算出され、
前記算出ステップでは、前記求人成約確率及び前記予測売上額の算出前に、前記属性情報をパラメータ出力モデルに入力し、前記パラメータ出力モデルに、前記確率計算関数の前記収束値と、前記確率計算関数に含まれる少なくとも1つの特定定数と、前記確率分布の母数とを出力させ、
ここで、前記パラメータ出力モデルは、前記属性情報を入力とし、前記収束値、前記特定定数及び前記母数を出力することが可能なように学習された学習モデルである、情報処理システム。
続きを表示(約 1,100 文字)
【請求項2】
請求項1に記載の情報処理システムにおいて、
前記パラメータ出力モデルは、前記登録情報の登録時における前記属性情報と、前記登録情報に紐付けられた、求人成約の有無及び実際に発生した前記売上の額とを学習データとする機械学習によって構築される、情報処理システム。
【請求項3】
請求項2に記載の情報処理システムにおいて、
前記パラメータ出力モデルは、前記求人成約確率の予測値と、実際の求人成約確率との損失が小さくなるように学習され、
ここで、前記予測値は、前記属性情報を入力として前記パラメータ出力モデルが出力する前記収束値及び前記特定定数を用いた前記確率計算関数に、前記経過時間を入力して得られる値であり、
前記実際の求人成約確率は、前記予測値の取得時に前記パラメータ出力モデルに入力された前記属性情報と、前記確率計算関数に入力された前記経過時間とに紐付けられた値である、情報処理システム。
【請求項4】
請求項1に記載の情報処理システムにおいて、
前記確率計算関数は、単調増加関数である、情報処理システム。
【請求項5】
請求項4に記載の情報処理システムにおいて、
前記確率計算関数は、前記初期値がゼロである、情報処理システム。
【請求項6】
請求項4に記載の情報処理システムにおいて、
前記確率計算関数の導関数は、単調減少関数である、情報処理システム。
【請求項7】
請求項4に記載の情報処理システムにおいて、
前記確率計算関数は、下記式(1)のp(t)で表され、式(1)中、pは前記収束値、αは正の値の前記特定定数、tは前記経過時間である、情報処理システム。
p(t)=p[1-exp(-αt)] ・・・(1)
【請求項8】
請求項1に記載の情報処理システムにおいて、
前記確率分布は、連続確率分布である、情報処理システム。
【請求項9】
請求項8に記載の情報処理システムにおいて、
前記確率分布は、対数正規分布、ガンマ分布、切断正規分布、又はパレート分布である、情報処理システム。
【請求項10】
請求項9に記載の情報処理システムにおいて、
前記確率分布は、対数正規分布であり、
前記算出ステップでは、前記パラメータ出力モデルに、前記母数として前記確率分布の平均及び分散を出力させる、情報処理システム。
(【請求項11】以降は省略されています)
発明の詳細な説明
【技術分野】
【0001】
本発明は、情報処理システム、情報処理方法及びプログラムに関する。
続きを表示(約 1,900 文字)
【背景技術】
【0002】
特許文献1に開示されるように、顧客データを用いて、顧客の将来の収益性を示す顧客生涯価値を算出する技術が知られている。
【先行技術文献】
【特許文献】
【0003】
特開2003-22359号公報
【発明の概要】
【発明が解決しようとする課題】
【0004】
例えば、求職・求人サービスでは、顧客である求職者の登録から、求人成約に基づく売上の発生までに一定の期間が必要となる。このように、サービスや顧客の性質によっては、従来の技術で顧客生涯価値を算出することは難しい。
【0005】
本発明では上記事情に鑑み、求職者についての顧客生涯価値を予測できる情報処理システム等を提供することとした。
【課題を解決するための手段】
【0006】
本発明の一態様によれば、情報処理システムが提供される。この情報処理システムは、少なくとも1つのプロセッサを備える。プロセッサは、プログラムを読み出すことで次の各ステップを実行するように構成される。取得ステップでは、求職者に関する属性情報を取得する。ここで、属性情報は、求職者の登録情報及び求職者の求職に関連する行動履歴の少なくとも一方を含む。算出ステップでは、属性情報と、登録情報の登録からの経過時間とに基づき、求職者の求人成約確率及び求職者の予測売上額を算出するとともに、求人成約確率と予測売上額との積を用いて求職者の顧客生涯価値を算出する。ここで、求人成約確率は、経過時間を変数とし、経過時間の増加に伴い、初期値から初期値よりも大きい収束値に収束する確率計算関数によって算出される。予測売上額は、求人成約に伴って生じる売上が従う確率分布に基づいて算出される。算出ステップでは、求人成約確率及び予測売上額の算出前に、属性情報をパラメータ出力モデルに入力し、パラメータ出力モデルに、確率計算関数の収束値と、確率計算関数に含まれる少なくとも1つの特定定数と、確率分布の母数とを出力させる。ここで、パラメータ出力モデルは、属性情報を入力とし、収束値、特定定数及び母数を出力することが可能なように学習された学習モデルである。
【0007】
このような態様によれば、求職者の属性情報に基づいてパラメータが設定され、かつ、登録情報の登録からの経過時間を変数とする確率計算関数から算出される求人成約確率と、求職者の属性情報に基づいてパラメータが設定される確率分布から算出される予測売上額とを用いることで、任意の経過時間における求職者の顧客生涯価値を算出することができる。また、登録からの経過時間によらず、求職者の登録情報をパラメータ出力モデルの学習に用いられる学習データとして使用することができるため、多数の登録情報を学習に利用できるとともに、登録直後の登録情報も学習データとして使用できる。そのため、顧客生涯価値の算出精度が高められる。
【図面の簡単な説明】
【0008】
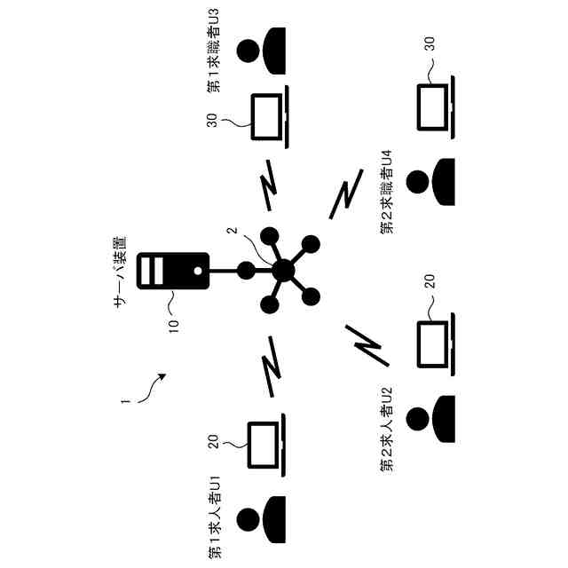
情報処理システム1を表す構成図である。
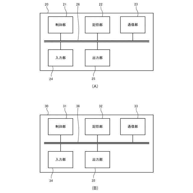
サーバ装置10のハードウェア構成を示すブロック図である。
求人者端末20及び求職者端末30のハードウェア構成を示すブロック図である。
サーバ装置10(制御部11)、求人者端末20(制御部21)及び求職者端末30(制御部31)によって実現される機能を示すブロック図である。
式(1)及び式(2)で表される確率計算関数p(t)のグラフの一例を示す図である。
式(3)及び式(4)で表される確率計算関数p(t)のグラフの一例を示す図である。
パラメータ出力モデルが含むニューラルネットワークの一例を示す図である。
情報処理システム1によって実行される情報処理(顧客生涯価値の算出処理)の流れを示すアクティビティ図である。
【発明を実施するための形態】
【0009】
以下、図面を用いて本発明の実施形態について説明する。以下に示す実施形態中で示した各種特徴事項は、互いに組み合わせ可能である。
【0010】
ところで、一実施形態に登場するソフトウェアを実現するためのプログラムは、コンピュータが読み取り可能な非一時的な記録媒体(Non-Transitory Computer-Readable Medium)として提供されてもよいし、外部のサーバからダウンロード可能に提供されてもよいし、外部のコンピュータで当該プログラムを起動させてクライアント端末でその機能を実現(いわゆるクラウドコンピューティング)するように提供されてもよい。
(【0011】以降は省略されています)
この特許をJ-PlatPat(特許庁公式サイト)で参照する
関連特許
個人
RFタグシート
2日前
個人
自動調理装置
1日前
株式会社三富
取引管理システム
1日前
クリューグル株式会社
情報処理システム
2日前
トヨタ自動車株式会社
演算処理システム
5日前
アスエネ株式会社
温室効果ガス排出量管理方法
2日前
ケイ・アンド・アイ有限会社
電子マネーシステム
5日前
個人
情報処理システム、情報処理方法、及びプログラム
1日前
個人
動く漫画システム
1日前
株式会社RILARC
顧客生涯価値分析の支援装置
1日前
株式会社すなおネット
動画編集システム
1日前
キヤノン株式会社
情報処理装置
1日前
個人
一括購入仮想ストック個別持ち帰り販売システム
5日前
株式会社四電工
図面認識方法および図面認識装置
1日前
株式会社NTTドコモ
情報処理装置
1日前
株式会社キーエンス
画像検査装置
5日前
株式会社セトラス
活動管理システム、活動管理装置、活動管理方法
2日前
エスアーペー エスエー
テナント固有災害復旧
2日前
シー統科技股分有限公司
タッチ装置及びタッチ装置の制御方法
5日前
株式会社ゼロボード
情報処理システム、情報処理方法及びプログラム
2日前
株式会社ゼロボード
情報処理システム、情報処理方法及びプログラム
2日前
トヨタ自動車株式会社
情報処理装置
2日前
株式会社適正地盤構造設計
情報処理方法および情報処理システム
5日前
アスエネ株式会社
事業者のESG評価に関するデータの管理方法
2日前
TDK株式会社
物理レザバー素子及び物理レザバー
1日前
KDDI株式会社
定量化装置、定量化方法及び定量化プログラム
5日前
シャープ株式会社
情報処理装置及び設定方法
5日前
日本電気株式会社
情報処理装置、情報処理方法、及びプログラム
5日前
東芝テック株式会社
取引処理システム
5日前
シー統科技股分有限公司
投影型静電容量タッチパネルのボタン構造
5日前
日本電気株式会社
交渉装置、交渉方法及びプログラム
1日前
サグリ株式会社
情報処理装置、情報処理方法及びプログラム
5日前
中国電力株式会社
廃棄物管理システムおよび廃棄物管理プログラム
2日前
サクサ株式会社
通信装置及びプログラム
1日前
鹿島建設株式会社
作業サイクル分析システム
5日前
大日本印刷株式会社
旅行記作成システム
5日前
続きを見る
他の特許を見る