TOP
|
特許
|
意匠
|
商標
特許ウォッチ
Twitter
他の特許を見る
公開番号
2025165846
公報種別
公開特許公報(A)
公開日
2025-11-05
出願番号
2024088566,2024069418
出願日
2024-05-31,2024-04-23
発明の名称
検索支援システム、検索支援方法及びプログラム
出願人
株式会社ビズリーチ
代理人
弁理士法人IPX
主分類
G06F
16/9035 20190101AFI20251028BHJP(計算;計数)
要約
【課題】検索に要する手間や時間といったコストを低減できる検索支援システム、検索支援方法及びプログラムを提供する。
【解決手段】検索支援システムにおいて、サーバ装置10のプロセッサによる情報処理方法は、少なくとも1つの検索キーワードを含む検索クエリの入力を受け付ける受付ステップと、受け付けた検索クエリに対応する検索用情報を検索用推奨求職者データベースから取得する取得ステップと、受け付けた検索クエリと検索用情報とを検索条件として、求職者を検索する検索ステップと、を含む。前記検索用情報は、求職者検索に使用される、少なくとも1つのキーワードを含む検索クエリと紐づけられて検索用推奨求職者データベースに登録された、検索用推奨求職者の属性を特定する情報であり、検索用推奨求職者は、検索クエリに基づく過去の検索結果に基づいて、求人成約に関連するアクションの発生期待値が高いと想定される求職者である。
【選択図】図1
特許請求の範囲
【請求項1】
検索支援システムであって、
少なくとも1つのプロセッサを備え、
前記プロセッサは、プログラムを読み出すことで次の各ステップを実行するように構成され、
受付ステップでは、少なくとも1つの検索キーワードを含む検索クエリの入力を受け付け、
取得ステップでは、前記受付ステップで受け付けた検索クエリに対応する検索用情報を検索用推奨求職者データベースから取得し、ここで、前記検索用情報は、求職者検索に使用される、少なくとも1つのキーワードを含む検索クエリと紐づけられて前記検索用推奨求職者データベースに登録された、検索用推奨求職者の属性を特定する情報であり、前記検索用推奨求職者は、検索クエリに基づく過去の検索結果に基づいて、求人成約に関連するアクションの発生期待値が高いと想定される求職者であり、
検索ステップでは、前記受付ステップで受け付けた検索クエリと前記検索用情報とを検索条件として、求職者を検索する、検索支援システム。
続きを表示(約 1,600 文字)
【請求項2】
請求項1に記載の検索支援システムにおいて、
前記検索ステップでは、前記受付ステップで受け付けた検索クエリと求職者データベースに登録された求職者の登録情報に含まれるキーワードとの照合と、前記検索用情報と前記登録情報との比較とに基づいて求職者を検索する、検索支援システム。
【請求項3】
請求項2に記載の検索支援システムにおいて、
前記検索用情報は、ベクトルデータであり、
前記検索ステップでは、前記受付ステップで受け付けた検索クエリに含まれる前記検索キーワードと同一の又は類似するキーワードが前記登録情報に含まれる求職者を検索対象として抽出するとともに、前記検索用情報と前記登録情報との類似度の高さを示す類似スコアに基づいて、検索対象として抽出された求職者の表示を調整し、ここで、前記類似スコアは、前記検索用情報と、前記登録情報をベクトル化したベクトルデータとの比較によって得られる、検索支援システム。
【請求項4】
請求項3に記載の検索支援システムにおいて、
前記検索ステップでは、前記類似スコアの大きさに基づいて、抽出された求職者の表示順を決定する、検索支援システム。
【請求項5】
請求項1に記載の検索支援システムにおいて、
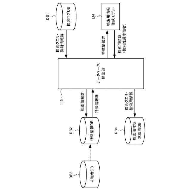
前記検索用推奨求職者データベースは、以下のステップによって構築され、
候補者選択ステップでは、求職者の検索において過去に使用された検索クエリである登録用クエリによって検索された複数の検索済求職者の中から、求人成約に関連するアクションの発生数が所定以上であるか、又は複数の前記検索済求職者における前記発生数の順位が所定以内である前記検索済求職者を候補者として選択し、
特徴情報取得ステップでは、前記候補者の属性を表す特徴情報を特徴情報データベースから取得し、
検索用情報作成ステップでは、前記特徴情報を検索用情報作成モデルに入力し、前記検索用情報作成モデルに前記検索用情報を出力させ、ここで、前記検索用情報作成モデルは、前記特徴情報を入力とし、前記検索用情報を出力することが可能なように学習された学習モデルであり、
登録ステップでは、前記登録用クエリと前記検索用情報とを紐づけて、前記検索用推奨求職者データベースに登録する、検索支援システム。
【請求項6】
請求項5に記載の検索支援システムにおいて、
前記検索用情報作成ステップでは、前記検索用情報作成モデルに前記検索用情報をテキストデータで出力させるとともに、前記テキストデータをベクトルデータ化し、
前記登録ステップでは、ベクトルデータ化された前記検索用情報を前記検索用推奨求職者データベースに登録する、検索支援システム。
【請求項7】
請求項5に記載の検索支援システムにおいて、
前記特徴情報データベースは、求職者の登録情報が登録された求職者データベースから抽出された属性情報が、当該求職者の識別情報に紐づけられて登録されたデータベースである、検索支援システム。
【請求項8】
請求項7に記載の検索支援システムにおいて、
前記属性情報は、前記登録情報をトピックモデルに入力し、前記トピックモデルに出力させたトピックを含む、検索支援システム。
【請求項9】
請求項7に記載の検索支援システムにおいて、
前記属性情報は、前記登録情報から抽出されたスキル又は資格を含む、検索支援システム。
【請求項10】
請求項9に記載の検索支援システムにおいて、
前記属性情報は、前記スキルの経験度を含み、
前記特徴情報取得ステップでは、前記経験度の大きさに基づいて前記特徴情報として取得する前記スキルを選択する、検索支援システム。
(【請求項11】以降は省略されています)
発明の詳細な説明
【技術分野】
【0001】
本発明は、検索支援システム、検索支援方法及びプログラムに関する。
続きを表示(約 1,600 文字)
【背景技術】
【0002】
特許文献1に開示されるように、求職者が登録した求職者情報に基づき、求人者が条件に合致する求職者を検索する技術が知られている。
【先行技術文献】
【特許文献】
【0003】
特開2002-269220号公報
【発明の概要】
【発明が解決しようとする課題】
【0004】
上述の従来技術では、求人者が要件を満たす求職者を見つけるまでに、検索条件を変えて検索を繰り返す場合があり、検索に要するコストが大きい。
【0005】
本発明では上記事情に鑑み、検索に要する手間や時間といったコストを低減できる検索支援システム等を提供することとした。
【課題を解決するための手段】
【0006】
本発明の一態様によれば、検索支援システムが提供される。この検索支援システムは、少なくとも1つのプロセッサを備える。プロセッサは、プログラムを読み出すことで次の各ステップを実行するように構成される。受付ステップでは、少なくとも1つの検索キーワードを含む検索クエリの入力を受け付ける。取得ステップでは、受付ステップで受け付けた検索クエリに対応する検索用情報を検索用推奨求職者データベースから取得する。検索用情報は、求職者検索に使用される、少なくとも1つのキーワードを含む検索クエリと紐づけられて検索用推奨求職者データベースに登録された、検索用推奨求職者の属性を特定する情報であり、検索用推奨求職者は、検索クエリに基づく過去の検索結果に基づいて、求人成約に関連するアクションの発生期待値が高いと想定される求職者である。検索ステップでは、受付ステップで受け付けた検索クエリと検索用情報とを検索条件として、求職者を検索する。
【0007】
このような態様によれば、求人者が求職者を検索するための検索クエリを入力した際に、求人成約に関連するアクションの発生が期待される検索用推奨求職者に関する情報(検索用情報)を用いて、求職者の絞り込みをアシストすることができる。そのため、求人者による検索に要するコストが低減される。
【図面の簡単な説明】
【0008】
検索支援システム1を表す構成図である。
サーバ装置10のハードウェア構成を示すブロック図である。
求人者端末20及び求職者端末30のハードウェア構成を示すブロック図である。
サーバ装置10(制御部11)、求人者端末20(制御部21)及び求職者端末30(制御部31)によって実現される機能を示すブロック図である。
検索用推奨求職者データベースの構築手順を示す模式図である。
データベース構築部115によって実行される、検索用推奨求職者データベースの構築処理の一例を示すフロー図である。
検索支援システム1によって実行される情報処理(求職者の検索処理)の流れの一例を示すアクティビティ図である。
【発明を実施するための形態】
【0009】
以下、図面を用いて本発明の実施形態について説明する。以下に示す実施形態中で示した各種特徴事項は、互いに組み合わせ可能である。
【0010】
ところで、一実施形態に登場するソフトウェアを実現するためのプログラムは、コンピュータが読み取り可能な非一時的な記録媒体(Non-Transitory Computer-Readable Medium)として提供されてもよいし、外部のサーバからダウンロード可能に提供されてもよいし、外部のコンピュータで当該プログラムを起動させてクライアント端末でその機能を実現(いわゆるクラウドコンピューティング)するように提供されてもよい。
(【0011】以降は省略されています)
この特許をJ-PlatPat(特許庁公式サイト)で参照する
関連特許
株式会社ビズリーチ
求職支援システム、求職支援方法及びプログラム
3日前
株式会社ビズリーチ
検索支援システム、検索支援方法及びプログラム
18日前
株式会社ビズリーチ
求職支援システム、求職支援方法及びプログラム
3日前
株式会社ビズリーチ
検索支援システム、検索支援方法及びプログラム
18日前
株式会社ビズリーチ
検索支援システム、検索支援方法及びプログラム
25日前
個人
詐欺保険
1か月前
個人
縁伊達ポイン
1か月前
個人
5掛けポイント
16日前
個人
RFタグシート
27日前
個人
職業自動販売機
9日前
個人
QRコードの彩色
1か月前
個人
地球保全システム
1か月前
個人
ペルソナ認証方式
24日前
個人
情報処理装置
19日前
個人
自動調理装置
26日前
個人
残土処理システム
1か月前
個人
農作物用途分配システム
1か月前
個人
表変換編集支援システム
2か月前
個人
インターネットの利用構造
23日前
個人
サービス情報提供システム
11日前
個人
知的財産出願支援システム
1か月前
個人
タッチパネル操作指代替具
1か月前
個人
携帯端末障害問合せシステム
1か月前
個人
パスワード管理支援システム
2か月前
個人
スケジュール調整プログラム
1か月前
個人
システム及びプログラム
2か月前
個人
海外支援型農作物活用システム
2か月前
個人
食品レシピ生成システム
1か月前
個人
AIキャラクター制御システム
2か月前
個人
エリアガイドナビAIシステム
24日前
株式会社キーエンス
受発注システム
1か月前
株式会社キーエンス
受発注システム
1か月前
株式会社キーエンス
受発注システム
1か月前
キヤノン株式会社
表示システム
1か月前
個人
SaaS型勤務調整支援システム
2か月前
個人
音声・通知・再配達UX制御構造
1か月前
続きを見る
他の特許を見る