TOP
|
特許
|
意匠
|
商標
特許ウォッチ
Twitter
他の特許を見る
公開番号
2025155162
公報種別
公開特許公報(A)
公開日
2025-10-14
出願番号
2024058754
出願日
2024-04-01
発明の名称
ウェットティッシュ収納容器及びウェットティッシュ収納体
出願人
日本製紙クレシア株式会社
,
株式会社フクヨー
代理人
個人
,
個人
主分類
B65D
83/08 20060101AFI20251006BHJP(運搬;包装;貯蔵;薄板状または線条材料の取扱い)
要約
【課題】蓋体の開閉性を向上させるとともに、コンパクト性と美称性とを両立する。
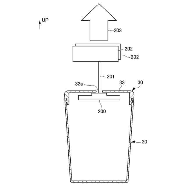
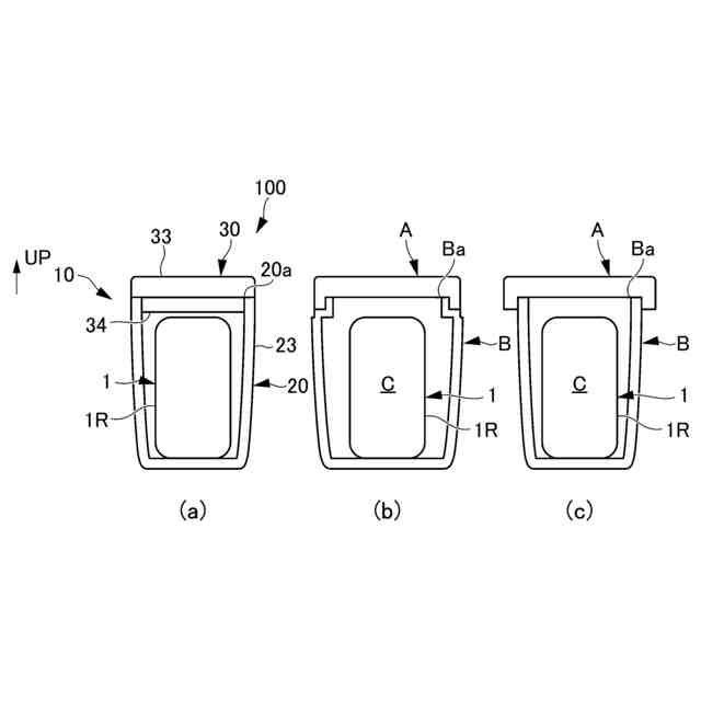
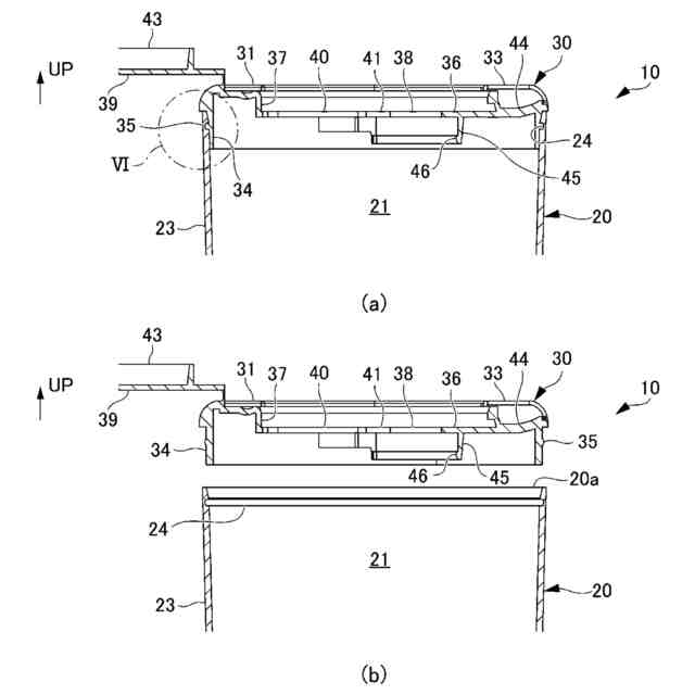
【解決手段】本開示に係るウェットティッシュ収納容器10は、矩形状の上端開口20aと、上端部の内周面に周方向に形成される容器側係止部24とを有し、内部にウェットティッシュのロール体を収納可能な収納空間21を区画し、断面矩形状に形成される容器本体20と、矩形状の天板33と、天板33に設けられる取出口と、天板33から下方へ延び上端開口20aから容器本体20に挿入されて容器本体20に嵌合する挿入部34と、挿入部34の外周面に周方向に形成される蓋側係止部35とを有し、容器本体20に対して着脱可能に取り付けられて上端開口20aを塞ぐ蓋体30と、を備え、容器側係止部24及び蓋側係止部35の一方の係止部は、断面凸状に形成され、他方の係止部は、断面凹状に形成され、蓋体30の挿入部34は、天板33の外周縁よりも内側に配置される。
【選択図】図5
特許請求の範囲
【請求項1】
矩形状の上端開口と、上端部の内周面に周方向に形成される容器側係止部とを有し、内部にウェットティッシュのロール体を収納可能な収納空間を区画し、断面矩形状に形成される容器本体と、
矩形状の天板と、前記天板に設けられて前記ウェットティッシュを取り出し可能な取出口と、前記天板から下方へ延び前記上端開口から前記容器本体に挿入されて前記容器本体に嵌合する挿入部と、前記挿入部の外周面に周方向に形成されて前記容器側係止部に係止される蓋側係止部とを有し、前記容器本体に対して着脱可能に取り付けられて前記上端開口を塞ぐ蓋体と、を備え、
前記容器側係止部及び前記蓋側係止部の一方の係止部は、断面凸状に形成され、他方の係止部は、断面凹状に形成され、
前記蓋体の前記挿入部は、前記天板の外周縁よりも内側に配置される
ことを特徴とするウェットティッシュ収納容器。
続きを表示(約 810 文字)
【請求項2】
前記容器本体は、前記容器側係止部よりも下方の内周面に設けられて内側に向かって突出した状態で周方向の全周域に亘って延びる補強厚肉部を有する
ことを特徴とする請求項1に記載のウェットティッシュ収納容器。
【請求項3】
前記容器本体の前記補強厚肉部は、前記蓋体の前記挿入部を下方から支持する支持上面と、前記支持上面の内端から下方の外側へ向かって傾斜する傾斜面とを有する
ことを特徴とする請求項2に記載のウェットティッシュ収納容器。
【請求項4】
前記蓋体は、前記天板にヒンジ軸を中心として傾動自在に支持されて前記取出口を開閉自在に覆う小蓋を有し、
前記小蓋の前記ヒンジ軸の軸方向は、前記天板の4つの辺のいずれかの辺と平行である
ことを特徴とする請求項1から請求項3のいずれか1項に記載のウェットティッシュ収納容器。
【請求項5】
前記容器本体の断面矩形状は、4つの辺を構成する4つの直線部と、4つの角部を構成する4つの湾曲線部とを有し、
前記容器本体の前記上端開口における全周域の長さに対する前記4つの直線部の総長さの割合は、30%以上85%以下である
ことを特徴とする請求項1から請求項3のいずれか1項に記載のウェットティッシュ収納容器。
【請求項6】
請求項1から請求項3のいずれか1項に記載のウェットティッシュ収納容器と、前記ウェットティッシュ収納容器に収納されたウェットティッシュのロール体と、を備えるウェットティッシュ収納体であって、
前記蓋体と前記容器本体との嵌合強度は、10N以上60N以下であり、
前記ウェットティッシュを前記蓋体の前記取出口から取り出すときの取り出し抵抗値は、1.5N以上6.0N以下である
ことを特徴とするウェットティッシュ収納体。
発明の詳細な説明
【技術分野】
【0001】
本開示は、ウェットティッシュ収納容器及びウェットティッシュ収納体に関する。
続きを表示(約 1,800 文字)
【背景技術】
【0002】
長手方向の所定の間隔にミシン目等の易切断部を設けたウェットティッシュのロール体を取り出し可能に収納するウェットティッシュ収納容器がある。ウェットティッシュ収納容器では、蓋体にウェットティッシュを引き出す引出口を設け、この引出口とウェットティッシュとの取り出し抵抗(摩擦抵抗)によって易切断部が切断され、ウェットティッシュを1枚ずつ取り出せるようになっている。
【0003】
例えば、特許文献1には、ウェットティッシュ収納容器が開示されている。このウェットティッシュ収納容器は、全体が略円筒形状であり、ウェットティッシュのロール体を収納する容器本体と、蓋体とを備える。ウェットティッシュのロール体は、シート体の長手方向に所定の間隔でミシン目が形成されている。容器本体は、底部を有し、上端部に開口部が設けられた略円筒状であって、容器本体の上端部の外周には、周方向に沿って雄ねじ部が形成されている。蓋体は、下端部が開口した円筒状であって、その下端部の内周面には、周方向に沿って、容器本体の雄ねじ部と螺合する雌ねじ部形成され、容器本体の開口部に着脱可能に嵌着するようになっている。
【先行技術文献】
【特許文献】
【0004】
特開2016-216116号公報
【発明の概要】
【発明が解決しようとする課題】
【0005】
特許文献1に記載のウェットティッシュ収納容器では、容器本体と蓋体とを、雄ねじ部と雌ねじ部とによって着脱可能にしているので、ウェットティッシュのロール体の補充時等の蓋体を開閉する際に、強く締まっていて開けるのに時間が掛かったり、強く締めすぎて蓋体が空回りしてしまったりするなどの問題がある。一方で、蓋体が容易に開き過ぎても問題がある。
【0006】
また、ウェットティッシュ収納容器の美粧性を確保するために、特許文献1に記載のウェットティッシュ収納容器のように、容器本体の側面と蓋体の側面とを同一平面上に配置すると、容器本体の雄ねじ部よりも下方の領域を蓋体の側面に合わせるように拡径する必要がある。このため、特許文献1に記載のウェットティッシュ収納容器では、中身のウェットティッシュのロール体に対して容器本体が大きくなり、ウェットティッシュ収納容器のコンパクト性が低下する。一方で、コンパクト性を確保するために、容器本体の雄ねじ部よりも下方の領域を雄ねじ部と同径にすると、容器本体の側面と蓋体の側面とを同一平面上に配置することができず、美粧性が低下する。
【0007】
そこで、本開示は、蓋体の開閉性を向上させるとともに、コンパクト性と美称性とを両立することが可能なウェットティッシュ収納容器及びウェットティッシュ収納体の提供を目的とする。
【課題を解決するための手段】
【0008】
上記課題を解決するため、本発明の第1の態様のウェットティッシュ収納容器は、矩形状の上端開口と、上端部の内周面に周方向に形成される容器側係止部とを有し、内部にウェットティッシュのロール体を収納可能な収納空間を区画し、断面矩形状に形成される容器本体と、矩形状の天板と、前記天板に設けられて前記ウェットティッシュを取り出し可能な取出口と、前記天板から下方へ延び前記上端開口から前記容器本体に挿入されて前記容器本体に嵌合する挿入部と、前記挿入部の外周面に周方向に形成されて前記容器側係止部に係止される蓋側係止部とを有し、前記容器本体に対して着脱可能に取り付けられて前記上端開口を塞ぐ蓋体と、を備え、前記容器側係止部及び前記蓋側係止部の一方の係止部は、断面凸状に形成され、他方の係止部は、断面凹状に形成され、前記蓋体の前記挿入部は、前記天板の外周縁よりも内側に配置される。
【0009】
本発明の第2の態様は、上記第1の態様のウェットティッシュ収納容器であって、前記容器本体は、前記容器側係止部よりも下方の内周面に設けられて内側に向かって突出した状態で周方向の全周域に亘って延びる補強厚肉部を有する。
【0010】
本発明の第3の態様は、上記第2の態様のウェットティッシュ収納容器であって、前記容器本体の前記補強厚肉部は、前記蓋体の前記挿入部を下方から支持する支持上面と、前記支持上面の内端から下方の外側へ向かって傾斜する傾斜面とを有する。
(【0011】以降は省略されています)
この特許をJ-PlatPat(特許庁公式サイト)で参照する
関連特許
日本製紙クレシア株式会社
吸収性物品
14日前
日本製紙クレシア株式会社
パンツ型紙おむつ
11日前
日本製紙クレシア株式会社
男性用吸収性物品
1か月前
日本製紙クレシア株式会社
ペット用吸収性物品
1か月前
日本製紙クレシア株式会社
ペーパータオル包装体
25日前
日本製紙クレシア株式会社
キッチンタオルロール
14日前
日本製紙クレシア株式会社
吸収体及び吸収性物品
4日前
日本製紙クレシア株式会社
キッチンタオルロール
1か月前
日本製紙クレシア株式会社
キッチンタオルロール包装体
1か月前
日本製紙クレシア株式会社
ウェットティッシュ収納容器
1か月前
日本製紙クレシア株式会社
ローションティシューペーパー包装体
1か月前
日本製紙クレシア株式会社
ウェットティッシュ収納容器及びウェットティッシュ収納体
1か月前
日本製紙クレシア株式会社
キッチンタオルロール
2か月前
日本製紙クレシア株式会社
ロール状ペーパータオル
21日前
日本製紙クレシア株式会社
ロール状ペーパータオル製品
19日前
日本製紙クレシア株式会社
ロール状ペーパータオル製品
19日前
日本製紙クレシア株式会社
ロール状ペーパータオル製品
4日前
個人
収容箱
4か月前
個人
束ね具
7日前
個人
コンベア
5か月前
個人
段ボール箱
7か月前
個人
ゴミ収集器
7か月前
個人
容器
10か月前
個人
段ボール箱
7か月前
個人
バンド
2か月前
個人
楽ちんハンド
5か月前
個人
宅配システム
7か月前
個人
角筒状構造体
6か月前
個人
テープ引出機
7日前
個人
土嚢運搬器具
9か月前
個人
コード類収納具
9か月前
個人
包装容器
2か月前
個人
閉塞装置
10か月前
個人
廃棄物収容容器
3か月前
個人
棒状体収容容器
11日前
個人
お薬の締結装置
6か月前
続きを見る
他の特許を見る