TOP
|
特許
|
意匠
|
商標
特許ウォッチ
Twitter
他の特許を見る
公開番号
2025154828
公報種別
公開特許公報(A)
公開日
2025-10-10
出願番号
2024058038
出願日
2024-03-29
発明の名称
原子炉建屋の構築方法および屋根構造体
出願人
日立GEベルノバニュークリアエナジー株式会社
代理人
弁理士法人磯野国際特許商標事務所
主分類
G21C
13/00 20060101AFI20251002BHJP(核物理;核工学)
要約
【課題】施工時間を短縮できる原子炉建屋の構築方法および屋根構造体を提供する。
【解決手段】原子炉の格納容器2を収容する外側の躯体3と、前記躯体3の内側上端部に設置されたクレーン50とを備えた原子炉建屋1の構築方法であって、躯体3の壁の上端部である躯体壁32aと、クレーン50と、当該クレーン50の支持構造とを、組立エリアで一体化したクレーン構造体7とする組立工程と、組立エリアで一体化したクレーン構造体7を、構築位置に搬送して据え付ける設置工程とを備えることを特徴とする。組立工程では、クレーン構造体7と、躯体3の屋根である躯体屋根(躯体屋根部33)とを、組立エリアで一体化し、設置工程では、クレーン構造体7と躯体屋根(躯体屋根部33)とが合わさった屋根構造体6を、構築位置に搬送して据え付ける。
【選択図】図1
特許請求の範囲
【請求項1】
原子炉の格納容器を収容する外側の躯体と、前記躯体の内側上端部に設置されたクレーンとを備えた原子炉建屋の構築方法であって、
前記躯体の壁の上端部である躯体壁と、前記クレーンと、当該クレーンの支持構造とを、組立エリアで一体化したクレーン構造体とする組立工程と、
前記組立エリアで一体化した前記クレーン構造体を、構築位置に搬送して据え付ける設置工程とを備える
ことを特徴とする原子炉建屋の構築方法。
続きを表示(約 630 文字)
【請求項2】
前記組立工程では、前記クレーン構造体と、前記躯体の屋根である躯体屋根とを、組立エリアで一体化し、
前記設置工程では、前記クレーン構造体と前記躯体屋根とが合わさった屋根構造体を、構築位置に搬送して据え付ける
ことを特徴とする請求項1に記載の原子炉建屋の構築方法。
【請求項3】
前記躯体は、鋼板コンクリート構造にて構築されており、
前記設置工程では、コンクリート打設前の前記躯体壁および前記躯体屋根を備えた前記屋根構造体を搬送して据え付けた後に、前記躯体壁および前記躯体屋根にコンクリート打設を行う
ことを特徴とする請求項2に記載の原子炉建屋の構築方法。
【請求項4】
前記構築位置への搬送は、揚重機器を用いて前記屋根構造体を吊り上げて行う
ことを特徴とする請求項2に記載の原子炉建屋の構築方法。
【請求項5】
前記原子炉が軽水炉である
ことを特徴とする請求項1乃至請求項4のいずれか一項に記載の原子炉建屋の構築方法。
【請求項6】
原子炉の格納容器を収容する外側の躯体と、前記躯体の内側上端部に設置されたクレーンとを備えた屋根構造体であって、
前記躯体の壁の上端部である躯体壁と、前記クレーンと、当該クレーンの支持構造と、前記躯体の屋根である躯体屋根とが、一体形成された
ことを特徴とする屋根構造体。
発明の詳細な説明
【技術分野】
【0001】
本発明は、原子炉建屋の構築方法および屋根構造体に関する。
続きを表示(約 1,800 文字)
【背景技術】
【0002】
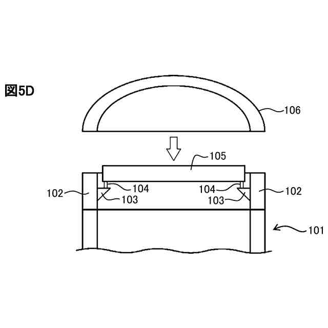
原子炉格納容器を収容する原子炉建屋としては、鋼製躯体や鉄筋コンクリート躯体や鋼板コンクリート躯体を採用したものが知られている(例えば、特許文献1~3参照)。原子炉建屋の室内の例えば頂部には、天井クレーン又はポーラークレーン(以下、「クレーン」と称す)が設けられている場合がある。クレーンを備えた屋根を施工するに際しては、図5に示すように、まず、原子炉建屋101の上端部に鋼製壁102を構築する(図5A参照)。そして、鋼製壁102の内側に設置した一対のブラケット103,103上に、クレーンを支持するレール104をそれぞれ敷設する(図5B参照)。その後、レール104,104にクレーン105を掛け渡し(図5C参照)、最後に屋根106を構築する(図5D参照)。
【先行技術文献】
【特許文献】
【0003】
特開2010-223970号公報
特開2003-57379号公報
特開平5-107381号公報
【発明の概要】
【発明が解決しようとする課題】
【0004】
従来の原子炉建屋の構築方法では、施工現場にて鋼製壁102,ブラケット103、レール104,クレーン105および屋根106の一連の工事を順序通り施工していくため、多くの手間と時間を要する問題があった。
【0005】
本発明は、前記した問題を解決し、施工時間を短縮できる原子炉建屋の構築方法および屋根構造体を提供することを課題とする。
【課題を解決するための手段】
【0006】
前記課題を解決するために、本発明は、原子炉の格納容器を収容する外側の躯体と、前記躯体の内側上端部に設置されたクレーンとを備えた原子炉建屋の構築方法であって、前記躯体の壁の上端部である躯体壁と、前記クレーンと、当該クレーンの支持構造とを、組立エリアで一体化したクレーン構造体とする組立工程と、前記組立エリアで一体化した前記クレーン構造体を、構築位置に搬送して据え付ける設置工程とを備えることを特徴とする。
【発明の効果】
【0007】
本発明に係る原子炉建屋の構築方法および屋根構造体によれば、施工時間を短縮することができる。
【図面の簡単な説明】
【0008】
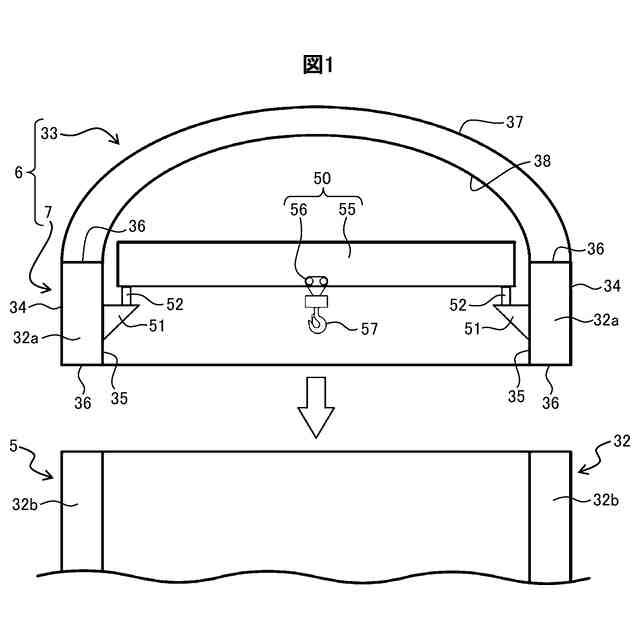
本発明の実施形態に係る原子炉建屋の構築方法にて構築された屋根構造体を示した模式断面図である。
本発明の実施形態に係る原子炉建屋の構築方法にて構築された原子炉建屋を示した模式断面図である。
本発明の実施形態に係る原子炉建屋の構築方法を示したフローチャートである。
本発明の実施形態に係る原子炉建屋の構築方法の設置工程を示した模式側面図である。
従来の原子炉建屋の構築方法の躯体の壁の上端部を構築する工程を示した模式断面図である。
従来の原子炉建屋の構築方法のクレーンの支持構造を設置する工程を示した模式断面図である。
従来の原子炉建屋の構築方法のクレーンを設置する工程を示した模式断面図である。
従来の原子炉建屋の構築方法の建屋の屋根を構築する工程を示した模式断面図である。
【発明を実施するための形態】
【0009】
以下、本発明の実施形態について、適宜図面を参照して詳細に説明する。図1は、原子炉建屋の構築方法にて構築された屋根構造体を示した模式断面図、図2は、原子炉建屋の構築方法にて構築された原子炉建屋を示した模式断面図、図3は、原子炉建屋の構築方法を示したフローチャート、図4は、原子炉建屋の構築方法の設置工程を示した模式側面図である。
【0010】
まず、原子炉建屋1の構成を説明する。図2に示すように、本実施形態の原子炉建屋1は、軽水炉型の原子力設備であり、原子炉格納容器2が中央部に配置され、原子炉格納容器2の外側には、躯体3が形成されている。本実施形態の原子炉格納容器2と躯体3は、鋼板コンクリート構造にて構築されており、外殻となる鋼板の内側にコンクリートを打設して形成されている。コンクリートは高流動コンクリートを用いる。鋼板の内側にはコンクリートを定着させるためのスタッドが取り付けられている。躯体3の内側上端部には、クレーン50が設置されている。
(【0011】以降は省略されています)
この特許をJ-PlatPat(特許庁公式サイト)で参照する
関連特許
個人
常温核融合装置
5か月前
個人
常温核融合装置
5か月前
個人
常温核融合装置
5か月前
個人
トリチウムの除去装置
6か月前
個人
元素変換用固体核融合工程
4か月前
個人
廃炉方法及び固化材
13日前
個人
安山岩を利用した放射線消去装置
4か月前
個人
安山岩を利用した放射線消去装置
3か月前
パテントフレア株式会社
核融合反応促進法
5か月前
個人
はんれい岩を利用した放射線消去装置
3か月前
個人
コンクリート船に乗せた、原子力発電
7か月前
パテントフレア株式会社
核融合反応促進法
5か月前
個人
金属製軽水炉使用済核燃料増殖原子炉
6か月前
個人
装置、加速器、減速器、核変換システム
5か月前
合同会社日本レプトン
電子発生ペースト
17日前
株式会社エー・アンド・デイ
X線検査装置
5か月前
株式会社エー・アンド・デイ
X線検査装置
5か月前
個人
ホウ素を用いるミューオン触媒核融合システム
6か月前
個人
核変換システム、加工装置、除去装置、切除装置
5か月前
栗田工業株式会社
放射性廃液の処理方法
13日前
PDRファーマ株式会社
遮蔽容器
5か月前
個人
過剰熱発生方法
7か月前
住友重機械工業株式会社
搬送システム
3か月前
国立大学法人大阪大学
原子力発電装置
4か月前
株式会社シェルタージャパン
放射線遮蔽構造
7か月前
浜松ホトニクス株式会社
電子線照射装置
5か月前
合同会社日本レプトン
電子発生器具及びその製造方法
17日前
個人
共振励起型固体核融合装置と元素変換用固体核融合工程
3か月前
浜松ホトニクス株式会社
電子線照射装置
5か月前
合同会社日本レプトン
電子発生器具及びその製造方法
17日前
株式会社アキュサイト
放射性物質の処理装置および方法
6か月前
日揮株式会社
放射性廃棄物の固化処理方法
6か月前
三菱重工業株式会社
加圧容器
1か月前
個人
過剰熱起電力発生方法
4か月前
株式会社大林組
埋め戻し材、埋め戻し材の製造方法
2か月前
個人
重希ガス冷却増殖原子炉及び未臨界増殖原子炉及び申請書類
7か月前
続きを見る
他の特許を見る