TOP
|
特許
|
意匠
|
商標
特許ウォッチ
Twitter
他の特許を見る
10個以上の画像は省略されています。
公開番号
2025154768
公報種別
公開特許公報(A)
公開日
2025-10-10
出願番号
2024057952
出願日
2024-03-29
発明の名称
保護膜形成用複合シート及び半導体装置の製造方法
出願人
リンテック株式会社
代理人
弁理士法人大谷特許事務所
主分類
H01L
21/60 20060101AFI20251002BHJP(基本的電気素子)
要約
【課題】接合対象部材間を接続するための接合材料からなる接合部を簡便に形成することができる保護膜形成用複合シート及び当該保護膜形成用複合シートを用いた半導体装置の製造方法を提供する。
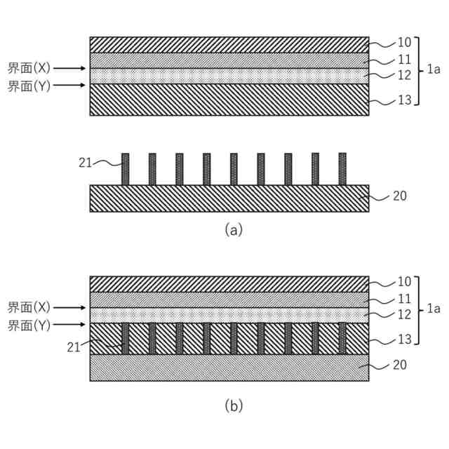
【解決手段】突状電極が形成されている突状電極付き部材の突状電極形成面に保護膜を形成するための保護膜形成用複合シートであって、基材、粘着剤層、焼結材層、及び保護膜形成層をこの順で含み、前記粘着剤層と前記焼結材層とが直接接触する界面(X)と、前記焼結材層と前記保護膜形成層とが直接接触する界面(Y)と、を有する、保護膜形成用複合シートとした。
【選択図】図1
特許請求の範囲
【請求項1】
突状電極が形成されている突状電極付き部材の突状電極形成面に保護膜を形成するための保護膜形成用複合シートであって、
基材、粘着剤層、金属焼成材層、及び保護膜形成層をこの順で含み、
前記粘着剤層と前記金属焼成材層とが直接接触する界面(X)と、
前記金属焼成材層と前記保護膜形成層とが直接接触する界面(Y)と、を有する、保護膜形成用複合シート。
続きを表示(約 510 文字)
【請求項2】
前記界面(Y)の粘着力が、前記界面(X)の粘着力よりも小さい、請求項1に記載の保護膜形成用複合シート。
【請求項3】
前記突起電極と前記金属焼成材層との間の粘着力が、前記界面(X)の粘着力よりも大きい、請求項2に記載の保護膜形成用複合シート。
【請求項4】
前記金属焼成材層の厚さが、100μm未満である、請求項1又は2に記載の保護膜形成用複合シート。
【請求項5】
前記基材と前記粘着剤層との間に、さらに緩衝層を有する、請求項1又は2に記載の保護膜形成用複合シート。
【請求項6】
請求項1又は2に記載の保護膜形成用複合シートの保護膜形成層を、突状電極が形成されている突状電極付き部材の突状電極形成面に貼付する工程と、
前記保護膜形成用複合シートを界面(Y)で分離して、前記突状電極付き部材と前記保護膜形成層との積層体を作製する工程と、を含む、半導体装置の製造方法。
【請求項7】
さらに、基板の電極と前記積層体の前記突状電極とをシンタリングして接続する工程を含む、請求項6に記載の半導体装置の製造方法。
発明の詳細な説明
【技術分野】
【0001】
本発明は、保護膜形成用複合シート及び半導体装置の製造方法に関する。
続きを表示(約 2,000 文字)
【背景技術】
【0002】
導電性を有する接合部(導電性接合部)によって、部材同士を接合する手法としては、金属粒子とバインダーを含有する接合材料を、接合対象の部材同士の間に介在させ、これら部材と接合材料を加圧しながら加熱し、接合材料を焼成することによって、導電性接合部を形成する手法が知られている。この手法によれば、接合材料の焼成によって、バインダーが分解し、金属粒子同士が密着して導電性接合部を形成し、部材同士を結合することによって、部材同士を接合できる。
【0003】
導電性接合部によって、部材同士を接合する手法としては、例えば、銀ナノ粒子と、炭酸銀又は酸化銀と、結晶体を含むカルボン酸類と、を含む接合材料を用いて、接合対象の部材同士でこの接合材料を挟持し、これを、接合材料がその接合温度以上となるように加熱しながら加圧することによって、部材同士を接合する手法が開示されている(特許文献1参照)。
【先行技術文献】
【特許文献】
【0004】
特開2009-279649号公報
【発明の概要】
【発明が解決しようとする課題】
【0005】
近年、電子部品の配線は高密度化が進みつつあり、それに伴い、端子電極の微細化、さらには端子電極間(ピッチ)の狭小化が進みつつある。したがって、接合材料を端子電極に精緻に供給・塗布し、部材同士を接合することが困難になりつつある。
【0006】
そこで、本発明者は、突状電極が形成されている突状電極付き部材の突状電極形成面に保護膜を形成するための保護膜形成用複合シートに着目し、接合対象部材間を接続するための接合材料からなる接合部を簡便に形成することを着想し、種々検討を重ねた。
【0007】
したがって、本発明の課題は、接合対象部材間を接続するための接合材料からなる接合部を簡便に形成することができる保護膜形成用複合シート及び当該保護膜形成用複合シートを用いた半導体装置の製造方法を提供することである。
【課題を解決するための手段】
【0008】
本発明によれば、下記[1]~[7]が提供される。
[1]
突状電極が形成されている突状電極付き部材の突状電極形成面に保護膜を形成するための保護膜形成用複合シートであって、
基材、粘着剤層、金属焼成材層、及び保護膜形成層をこの順で含み、
前記粘着剤層と前記金属焼成材層とが直接接触する界面(X)と、
前記金属焼成材層と前記保護膜形成層とが直接接触する界面(Y)と、を有する、保護膜形成用複合シート。
[2]
前記界面(Y)の粘着力が、前記界面(X)の粘着力よりも小さい、上記[1]に記載の保護膜形成用複合シート。
[3]
前記突起電極と前記金属焼成材層との間の粘着力が、前記界面(X)の粘着力よりも大きい、上記[2]に記載の保護膜形成用複合シート。
[4]
前記金属焼成材層の厚さが、100μm未満である、上記[1]~[3]のいずれか1つに記載の保護膜形成用複合シート。
[5]
前記基材と前記粘着剤層との間に、さらに緩衝層を有する、上記[1]~[4]のいずれか1つに記載の保護膜形成用複合シート。
[6]
上記[1]~[5]のいずれか1つに記載の保護膜形成用複合シートの保護膜形成層を、突状電極が形成されている突状電極付き部材の突状電極形成面に貼付する工程と、
前記保護膜形成用複合シートを界面(Y)で分離して、前記突状電極付き部材と前記保護膜形成層との積層体を作製する工程と、を含む、半導体装置の製造方法。
[7]
さらに、基板の電極と前記積層体の前記突状電極とをシンタリングして接続する工程を含む、上記[6]に記載の半導体装置の製造方法。
【発明の効果】
【0009】
本発明によれば、接合対象部材間を接続するための接合材料からなる接合部を簡便に形成することができる保護膜形成用複合シート及び当該保護膜形成用複合シートを用いた半導体装置の製造方法を提供することが可能となる。
【図面の簡単な説明】
【0010】
本実施形態の保護膜形成用複合シートの第1の態様を示す模式的断面図である。
本実施形態の保護膜形成用複合シートの第2の態様を示す模式的断面図である。
本実施形態の半導体装置の製造方法の一部を示す模式的断面図である。
本実施形態の半導体装置の製造方法の一部を示す模式的断面図である。
本実施形態の半導体装置の製造方法の一部を示す模式的断面図である。
本実施形態の半導体装置の製造方法の一部を示す模式的断面図である。
【発明を実施するための形態】
(【0011】以降は省略されています)
この特許をJ-PlatPat(特許庁公式サイト)で参照する
関連特許
日本発條株式会社
積層体
15日前
東レ株式会社
多孔質炭素シート
1か月前
個人
フレキシブル電気化学素子
4日前
ローム株式会社
半導体装置
13日前
株式会社ユーシン
操作装置
4日前
ローム株式会社
半導体装置
6日前
個人
防雪防塵カバー
15日前
ローム株式会社
半導体装置
13日前
ローム株式会社
半導体装置
13日前
ローム株式会社
半導体装置
11日前
キヤノン株式会社
電子機器
1か月前
株式会社ティラド
面接触型熱交換器
26日前
個人
半導体パッケージ用ガラス基板
14日前
株式会社ホロン
冷陰極電子源
11日前
株式会社GSユアサ
蓄電装置
11日前
ニチコン株式会社
コンデンサ
27日前
ニチコン株式会社
コンデンサ
27日前
株式会社GSユアサ
蓄電装置
15日前
株式会社GSユアサ
蓄電設備
4日前
株式会社GSユアサ
蓄電設備
4日前
オムロン株式会社
電磁継電器
5日前
太陽誘電株式会社
全固体電池
11日前
太陽誘電株式会社
コイル部品
4日前
日本特殊陶業株式会社
保持装置
13日前
トヨタ自動車株式会社
バッテリ
5日前
トヨタ自動車株式会社
蓄電装置
4日前
サクサ株式会社
電池の固定構造
4日前
日本特殊陶業株式会社
保持装置
15日前
TDK株式会社
電子部品
11日前
トヨタ自動車株式会社
二次電池
15日前
ローム株式会社
電子装置
15日前
日東電工株式会社
積層体
5日前
日本特殊陶業株式会社
保持装置
11日前
日本特殊陶業株式会社
保持装置
11日前
マクセル株式会社
配列用マスク
26日前
ノリタケ株式会社
熱伝導シート
4日前
続きを見る
他の特許を見る