TOP
|
特許
|
意匠
|
商標
特許ウォッチ
Twitter
他の特許を見る
公開番号
2025153564
公報種別
公開特許公報(A)
公開日
2025-10-10
出願番号
2024056102
出願日
2024-03-29
発明の名称
空調システム
出願人
株式会社ササクラ
代理人
弁理士法人アローレインターナショナル
主分類
F24F
5/00 20060101AFI20251002BHJP(加熱;レンジ;換気)
要約
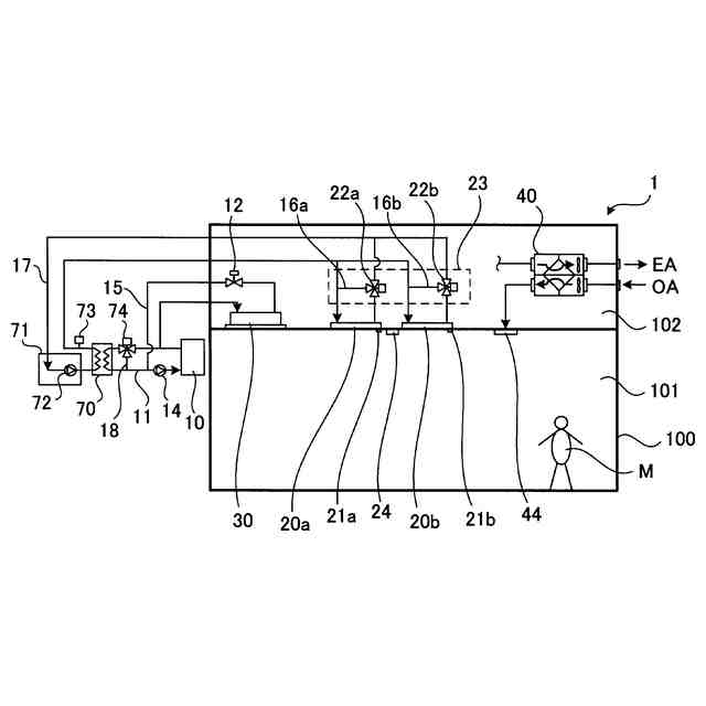
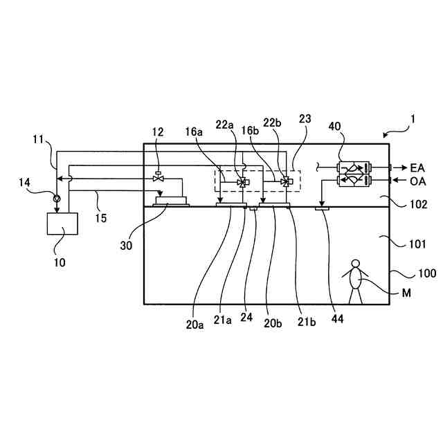
【課題】 空調空間に応じた適切な空調制御を容易且つ安価に実現することができる空調システムを提供する。
【解決手段】 液状の熱媒体を加熱または冷却して循環流路11を循環させる熱源機10と、循環流路11を流れる熱媒体を利用して空調空間101の放射空調を行う放射パネル20aと、循環流路11から分流した熱媒体により放射パネル20aによる空調区間101の顕熱処理を補う補助顕熱処理装置30と、空調空間101の潜熱処理を行う調湿器40と、放射パネル20aおよび補助顕熱処理装置30による顕熱処理を制御する制御装置とを備える空調システム1である。
【選択図】 図1
特許請求の範囲
【請求項1】
液状の熱媒体を加熱または冷却して循環流路を循環させる熱源機と、
前記循環流路を流れる熱媒体を利用して空調空間の放射空調を行う放射パネルと、
前記循環流路から分流した熱媒体により前記放射パネルによる前記空調区間の顕熱処理を補う補助顕熱処理装置と、
前記空調空間の潜熱処理を行う調湿器と、
前記放射パネルおよび補助顕熱処理装置による顕熱処理を制御する制御装置とを備える空調システム。
続きを表示(約 650 文字)
【請求項2】
前記制御装置は、前記熱源機の作動を制御する熱源制御部と、前記放射パネルによる顕熱処理を制御する第1顕熱処理制御部と、前記補助顕熱処理装置による顕熱処理を制御する第2顕熱処理制御部と、前記調湿器の潜熱処理を制御する潜熱処理制御部と、前記熱源制御部、第1顕熱処理制御部、第2顕熱処理制御部および潜熱処理制御部を集中制御する集中制御部とを備える請求項1に記載の空調システム。
【請求項3】
前記制御部は、前記放射パネルの表面温度および前記空調空間の露点温度の検出に基づき、前記循環流路により前記放射パネルに供給される熱媒体の供給流量を調整する流量調整部を制御する請求項1に記載の空調システム。
【請求項4】
前記流量調整部は、前記循環流路により前記放射パネルに供給される熱媒体の一部をバイパスさせて、前記放射パネルへの熱媒体の供給流量を調整する請求項3に記載の空調システム。
【請求項5】
前記循環流路を循環する熱媒体との間で熱交換が可能な熱媒体が通過する第2循環流路を更に備え、
前記第2循環流路を流れる熱媒体が前記放射パネルに供給される請求項1に記載の空調システム。
【請求項6】
前記補助顕熱処理装置は、ファンコイルユニットまたはチルトビームを備える請求項1に記載の空調システム。
【請求項7】
前記放射パネルおよび補助顕熱処理装置は、同室の前記空調区間を空調する請求項1に記載の空調システム。
発明の詳細な説明
【技術分野】
【0001】
本発明は、空調システムに関する。
続きを表示(約 1,400 文字)
【背景技術】
【0002】
建築物の室内空間の空調を行うシステムとして、例えば、特許文献1に開示された構成が知られている。この放射空調システムは、放射パネルおよび調湿換気装置を備えている。放射パネルは、パネル本体に供給される熱媒体の流量等を調整することにより、パネル本体の表面温度が所定温度に制御される。また、調湿換気装置は、調湿ユニットにおいて、導入した外気と冷水との熱交換を行うことにより、室内の温度および湿度が制御される。
【先行技術文献】
【特許文献】
【0003】
国際公開第2009/044855号
【発明の概要】
【発明が解決しようとする課題】
【0004】
上記従来の放射空調システムは、放射パネルに供給される熱媒体と、調湿換気装置に供給される冷水とが、互いに相違しており、冷房時においては、放射パネルに対して20℃の熱媒体が供給される一方、調湿換気装置には7℃の冷水が供給される。
【0005】
ところが、水冷媒の冷凍サイクルにより7℃の冷水を生成するのは困難である。このため、上記従来の放射空調システムにおいては2台の圧縮機を使用しているが、これによって放射空調システムの構成が煩雑になり易いという問題があった。
【0006】
そこで、本発明は、空調空間に応じた適切な空調制御を容易且つ安価に実現することができる空調システムの提供を目的とする。
【課題を解決するための手段】
【0007】
本発明の前記目的は、液状の熱媒体を加熱または冷却して循環流路を循環させる熱源機と、前記循環流路を流れる熱媒体を利用して空調空間の放射空調を行う放射パネルと、前記循環流路から分流した熱媒体により前記放射パネルによる前記空調区間の顕熱処理を補う補助顕熱処理装置と、前記空調空間の潜熱処理を行う調湿器と、前記放射パネルおよび補助顕熱処理装置による顕熱処理を制御する制御装置とを備える空調システムにより達成される。
【0008】
この空調システムにおいて、前記制御装置は、前記熱源機の作動を制御する熱源制御部と、前記放射パネルによる顕熱処理を制御する第1顕熱処理制御部と、前記補助顕熱処理装置による顕熱処理を制御する第2顕熱処理制御部と、前記調湿器の潜熱処理を制御する潜熱処理制御部と、前記熱源制御部、第1顕熱処理制御部、第2顕熱処理制御部および潜熱処理制御部を集中制御する集中制御部とを備えることが好ましい。
【0009】
前記制御部は、前記放射パネルの表面温度および前記空調空間の露点温度の検出に基づき、前記循環流路により前記放射パネルに供給される熱媒体の供給流量を調整する流量調整部を制御することができる。前記流量調整部は、前記循環流路により前記放射パネルに供給される熱媒体の一部をバイパスさせて、前記放射パネルへの熱媒体の供給流量を調整することができる。
【0010】
前記循環流路を循環する熱媒体との間で熱交換が可能な熱媒体が通過する第2循環流路を更に備えることが可能であり、前記第2循環流路を流れる熱媒体が前記放射パネルに供給されるように構成することができる。
(【0011】以降は省略されています)
この特許をJ-PlatPat(特許庁公式サイト)で参照する
関連特許
株式会社コロナ
空調装置
9日前
株式会社コロナ
空調装置
3か月前
株式会社コロナ
給湯装置
2か月前
株式会社コロナ
空調装置
1か月前
株式会社コロナ
空調装置
19日前
株式会社コロナ
加湿装置
29日前
株式会社コロナ
空調装置
2か月前
個人
太陽光パネル傾斜装置
4日前
株式会社コロナ
風呂給湯機
1か月前
株式会社コロナ
空気調和機
1か月前
個人
住宅換気空調システム
1か月前
株式会社コロナ
空気調和機
2か月前
株式会社コロナ
貯湯式給湯機
15日前
個人
シンプルクーラー
2日前
株式会社パロマ
給湯器
3か月前
株式会社コロナ
貯湯式給湯機
23日前
株式会社コロナ
直圧式給湯機
3か月前
株式会社コロナ
直圧式給湯機
1か月前
ホーコス株式会社
排気フード
2か月前
株式会社コロナ
暖房システム
19日前
株式会社コロナ
輻射式冷房装置
1か月前
ホーコス株式会社
換気扇取付枠
1か月前
三菱電機株式会社
換気扇
3日前
三菱電機株式会社
換気扇
3日前
三菱電機株式会社
換気扇
3日前
株式会社コロナ
貯湯式給湯装置
3か月前
株式会社パロマ
給湯暖房機
3か月前
株式会社パロマ
給湯暖房機
3か月前
株式会社パロマ
給湯暖房機
3か月前
株式会社パロマ
給湯暖房機
3か月前
株式会社パロマ
給湯暖房機
3か月前
株式会社ノーリツ
給湯装置
3か月前
株式会社パロマ
給湯暖房機
3か月前
株式会社パロマ
給湯暖房機
3か月前
株式会社ノーリツ
温水装置
1日前
株式会社ノーリツ
温水装置
3か月前
続きを見る
他の特許を見る