TOP
|
特許
|
意匠
|
商標
特許ウォッチ
Twitter
他の特許を見る
公開番号
2025153230
公報種別
公開特許公報(A)
公開日
2025-10-10
出願番号
2024055599
出願日
2024-03-29
発明の名称
スイッチ装置
出願人
東洋電装株式会社
代理人
個人
,
個人
主分類
H01H
13/02 20060101AFI20251002BHJP(基本的電気素子)
要約
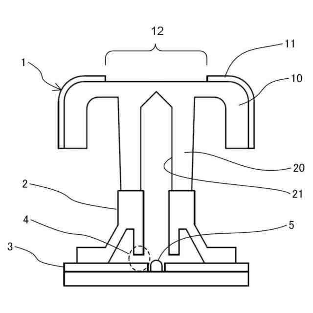
【課題】操作ノブに対して幅の狭い支持構造を採用する場合において、操作ノブにおける発光領域を均一に発光させることができるスイッチ装置を提供する。
【解決手段】本開示スイッチ装置は、光透過部材にて形成された部位に発光領域12が設定されており、押圧操作される操作部10と、光透過部材にて形成されると共に、押圧方向に沿って延びる内部空間が形成されており、押圧方向における一端側が操作部の発光領域12に連結して操作部10を支持する支持部20と、支持部20が押圧方向に沿って移動することによりオン/オフされる接点構造4と、支持部20の内部空間の他端側から一端側に向かって光を照光する発光素子5と、を備え、押圧方向に対する略垂直方向における支持部20の外形が、発光領域12よりも小さく形成されており、支持部20の内部空間を形成する内壁面に、内壁面から突出する複数の凸部21を備える。
【選択図】図1
特許請求の範囲
【請求項1】
光透過部材にて形成された部位に発光領域が設定されており、押圧操作される操作部と、
光透過部材にて形成されると共に、前記押圧操作の押圧方向に沿って延びる内部空間が形成されており、当該押圧方向における一端側が前記操作部の前記発光領域に連結して当該操作部を支持する支持部と、
前記支持部が前記押圧方向に沿って移動することによりオン/オフされる接点構造と、
前記支持部の内部空間の他端側から一端側に向かって光を照光する発光素子と、
を備え、
前記押圧方向に対する略垂直方向における前記支持部の外形が、前記発光領域よりも小さく形成されており、
前記支持部の内部空間を形成する内壁面に、当該内壁面から突出する複数の凸部を備えた、
スイッチ装置。
続きを表示(約 590 文字)
【請求項2】
請求項1に記載のスイッチ装置であって、
前記凸部は、前記押圧方向の沿って延びる筋状に形成されている、
スイッチ装置。
【請求項3】
請求項2に記載のスイッチ装置であって、
前記凸部の外表面は、曲面にて形成されている、
スイッチ装置。
【請求項4】
請求項2に記載のスイッチ装置であって、
前記押圧方向に沿って延びる筋状の複数の前記凸部が、前記支持部の内部空間を囲う内壁面の内周方向に沿って並列に配置されている、
スイッチ装置。
【請求項5】
請求項2に記載のスイッチ装置であって、
前記押圧方向に沿って延びる筋状の前記凸部が、前記押圧方向に沿った所定位置を挟んで、前記押圧方向における一端側と他端側とにそれぞれ分離して形成されている、
スイッチ装置。
【請求項6】
請求項2に記載のスイッチ装置であって、
筋状の前記凸部の前記押圧方向における他端側の端部が、前記押圧方向に対して所定の角度を有する傾斜面にて形成されている、
スイッチ装置。
【請求項7】
請求項1に記載のスイッチ装置であって、
前記操作部と前記支持部とは、一体成型された光透過部材にて形成されている、
スイッチ装置。
発明の詳細な説明
【技術分野】
【0001】
本開示は、スイッチ装置に関する。
続きを表示(約 1,800 文字)
【背景技術】
【0002】
車両内に搭載されるスイッチ装置として、特許文献1に記載のような操作ノブの表面に発光部が形成されたスイッチ装置がある。具体的に、特許文献1に記載のスイッチ装置は、操作ノブを支持するケース内に回路基板が配置されており、かかる回路基板に搭載された発光素子からの光が、操作ノブの裏面側から表面側に透過することで、発光部が形成される。そして、特許文献1のスイッチ装置では、所定の広さの発光部全体を均一に発光させるために、発光素子から発光部までの光路を形成するケースの内部空間の幅を広くの形成しており、さらに、光が入射する操作ノブの天面の肉厚を偏肉調整している。
【先行技術文献】
【特許文献】
【0003】
特開2018-194677号公報
【発明の概要】
【発明が解決しようとする課題】
【0004】
しかしながら、上述したような特許文献1に記載のスイッチ装置では、操作ノブを支持するケースの内部空間の幅を発光部の大きさよりも広く形成する必要があり、設計の自由度が低下する。つまり、内部空間や外形自体の幅が狭い支持構造を採用した場合には、発光素子から発光部までの光路が狭くなり、また、天面を偏肉調整構造とすることが困難であることから、発光領域全体を均一に発光させることが困難である。
【0005】
このため、本開示の目的は、操作ノブに対して幅の狭い支持構造を採用する場合において、操作ノブにおける発光領域を均一に発光させることが困難である、ことが解決することができるスイッチ装置を提供することにある。
【課題を解決するための手段】
【0006】
本開示の一形態であるスイッチ装置は、
光透過部材にて形成された部位に発光領域が設定されており、押圧操作される操作部と、
光透過部材にて形成されると共に、前記押圧操作の押圧方向に沿って延びる内部空間が形成されており、当該押圧方向における一端側が前記操作部の前記発光領域に連結して当該操作部を支持する支持部と、
前記支持部が前記押圧方向に沿って移動することによりオン/オフされる接点構造と、
前記支持部の内部空間の他端側から一端側に向かって光を照光する発光素子と、
を備え、
前記押圧方向に対する略垂直方向における前記支持部の外形が、前記発光領域よりも小さく形成されており、
前記支持部の内部空間を形成する内壁面に、当該内壁面から突出する複数の凸部を備えた、
という構成をとる。
【発明の効果】
【0007】
本開示は、以上のように構成されることにより、スイッチ装置において、操作ノブに対して幅の狭い支持構造を採用する場合においても、操作ノブにおける発光領域を均一に発光させることができる。
【図面の簡単な説明】
【0008】
本開示のスイッチ装置の概略断面図である。
図1に開示したスイッチ装置を構成する操作ノブの構成を示す断面図である。
図2に開示した操作ノブの一部の拡大断面図である。
図1に開示したスイッチ装置における発光の様子を示す図である。
【発明を実施するための形態】
【0009】
<実施形態1>
本開示の第1の実施形態を、図1乃至図4を参照して説明する。なお、図1は、スイッチ装置の概略断面図を示しており、ハッチングの図示は省略している。
【0010】
本実施形態におけるスイッチ装置は、車両に装備される押しボタン式のスイッチ装置であり、図1に示すように、押圧操作される操作ノブ1を備えている。なお、操作ノブ1の断面図を図2に示しており、図1及び図2において上方から下方に向かう方向が押圧方向となる。そして、操作ノブ1は、後述するように、上方側に位置する外表面の中央箇所に形成される操作面が下方側に押圧操作されることにより、下方つまり押圧方向に沿って移動されることとなる。なお、以下の説明では、図1における下方向を押圧方向と称し、押圧方向とは反対側を一端側、押圧方向側を他端側、と称することとする。
(【0011】以降は省略されています)
この特許をJ-PlatPat(特許庁公式サイト)で参照する
関連特許
東洋電装株式会社
スイッチ装置
6日前
東洋電装株式会社
ハンドルスイッチ装置
17日前
東洋電装株式会社
スイッチシステム、車両
15日前
東洋電装株式会社
電子部品用の筐体カバー
15日前
東洋電装株式会社
スイッチ装置および車両
1か月前
個人
フレキシブル電気化学素子
6日前
日本発條株式会社
積層体
17日前
個人
防雪防塵カバー
17日前
ローム株式会社
半導体装置
8日前
株式会社ユーシン
操作装置
6日前
ローム株式会社
半導体装置
15日前
ローム株式会社
半導体装置
13日前
ローム株式会社
半導体装置
15日前
ローム株式会社
半導体装置
15日前
日新イオン機器株式会社
イオン源
2日前
株式会社ティラド
面接触型熱交換器
28日前
株式会社GSユアサ
蓄電装置
13日前
株式会社GSユアサ
蓄電装置
17日前
株式会社ホロン
冷陰極電子源
今日
株式会社GSユアサ
蓄電設備
6日前
株式会社GSユアサ
蓄電設備
6日前
太陽誘電株式会社
コイル部品
6日前
個人
半導体パッケージ用ガラス基板
16日前
株式会社ホロン
冷陰極電子源
13日前
オムロン株式会社
電磁継電器
7日前
太陽誘電株式会社
全固体電池
13日前
日本特殊陶業株式会社
保持装置
15日前
ローム株式会社
電子装置
17日前
TDK株式会社
電子部品
13日前
トヨタ自動車株式会社
バッテリ
7日前
マクセル株式会社
配列用マスク
28日前
トヨタ自動車株式会社
蓄電装置
6日前
サクサ株式会社
電池の固定構造
6日前
ノリタケ株式会社
熱伝導シート
6日前
トヨタ自動車株式会社
二次電池
17日前
日本特殊陶業株式会社
保持装置
13日前
続きを見る
他の特許を見る