TOP
|
特許
|
意匠
|
商標
特許ウォッチ
Twitter
他の特許を見る
10個以上の画像は省略されています。
公開番号
2025142726
公報種別
公開特許公報(A)
公開日
2025-10-01
出願番号
2024042242
出願日
2024-03-18
発明の名称
スイッチシステム、車両
出願人
東洋電装株式会社
代理人
個人
,
個人
主分類
B62J
6/16 20200101AFI20250924BHJP(鉄道以外の路面車両)
要約
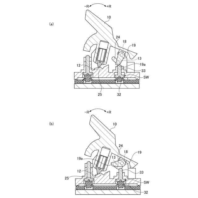
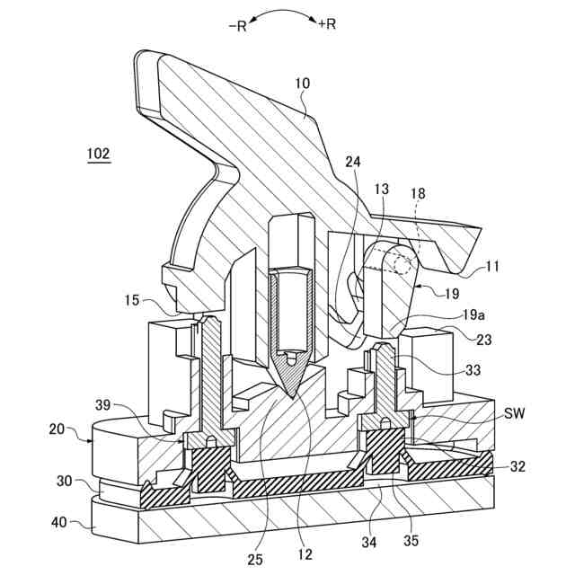
【課題】スイッチの適切な動作を長く維持する。
【解決手段】操作ノブ10に連動して往復移動するリンク部材19の駆動部19aが、操作の往行程においては、スイッチSWを押下しない第1位置、押下する第2位置、押下しない第3位置、へと順に移動する。制御部101は、ヘッドライト103を動作させていない場合に、スイッチSWがOFFからONに変化したことに応じてヘッドライト103の動作を開始させ、さらにスイッチSWがONからOFFに変化してもヘッドライト103の動作を継続させる。また、制御部101は、ヘッドライト103を動作させている場合に、スイッチSWがOFFからONに変化したことに応じてヘッドライト103の動作を停止させる。
【選択図】図6
特許請求の範囲
【請求項1】
押下されることで導通状態となり、押下解除されることで非導通状態となると共に初期位置に自立復帰するスイッチと、
往復操作される操作部と、
前記操作部と一体に構成されるかまたは前記操作部に連動して往復移動し、前記操作部の操作の往行程においては、前記スイッチを押下しない第1位置、前記スイッチを押下する第2位置、前記スイッチを押下しない第3位置、へと順に移動する駆動部と、
前記スイッチの状態に基づいて電装品の動作を制御する制御部と、を有し、
前記制御部は、前記電装品を動作させていない場合に、前記スイッチが非導通状態から導通状態に変化したことに応じて前記電装品の動作を開始させ、さらに前記スイッチが導通状態から非導通状態に変化しても前記電装品の動作を継続させ、
前記制御部は、前記電装品を動作させている場合に、前記スイッチが非導通状態から導通状態に変化したこと、または前記スイッチが非導通状態から導通状態に変化し、さらに非導通状態に変化したこと、に応じて前記電装品の動作を停止させる、スイッチシステム。
続きを表示(約 1,600 文字)
【請求項2】
前記駆動部は、前記操作部に対して相対的に移動可能に連結された移動部材に形成される、請求項1に記載のスイッチシステム。
【請求項3】
前記移動部材は、前記操作部に連動して往復移動する際、前記操作部を保持する保持部材に形成されたカム溝に案内されてその姿勢を変化させる、請求項2に記載のスイッチシステム。
【請求項4】
前記移動部材は、前記操作部に連動して往復移動する際、直線移動する、請求項2に記載のスイッチシステム。
【請求項5】
前記操作部は往復操作により回動する、請求項2に記載のスイッチシステム。
【請求項6】
前記駆動部は、前記操作部と一体に構成され、
前記操作部は往復操作により回動する、請求項1に記載のスイッチシステム。
【請求項7】
前記スイッチは、接点同士の接触により導通状態となるラバーコンタクトを含む、請求項1に記載のスイッチシステム。
【請求項8】
前記電装品は車両のヘッドライトである、請求項1に記載のスイッチシステム。
【請求項9】
押下されることで導通状態となり、押下解除されることで非導通状態となると共に初期位置に自立復帰するスイッチと、
往復操作される操作部と、
前記操作部と一体に構成されるかまたは前記操作部に連動して往復移動し、前記操作部の操作の往行程においては、前記スイッチを押下しない第1位置、前記スイッチを押下する第2位置、前記スイッチを押下しない第3位置、へと順に移動する駆動部と、
前記スイッチの状態に基づいて電装品の動作を制御する制御部と、を有し、
前記制御部は、前記電装品を動作させていない場合に、前記スイッチが非導通状態から導通状態に変化し、さらに非導通状態に変化したこと、に応じて前記電装品の動作を開始させ、
前記制御部は、前記電装品を動作させている場合に、前記スイッチが非導通状態から導通状態に変化したこと、または前記スイッチが非導通状態から導通状態に変化し、さらに非導通状態に変化したこと、に応じて前記電装品の動作を停止させる、スイッチシステム。
【請求項10】
押下されることで導通状態となり、押下解除されることで非導通状態となると共に初期位置に自立復帰する第1のスイッチおよび第2のスイッチと、
往復操作される操作部と、
前記操作部と一体に構成されるかまたは前記操作部に連動して往復移動し、前記第1のスイッチを駆動する第1駆動部と、
前記操作部と一体に構成されるかまたは前記操作部に連動して往復移動し、前記第2のスイッチを駆動する駆動部であって前記第1駆動部を兼ねるかまたは前記第1駆動部とは別に構成される第2駆動部と、
前記第1、第2のスイッチの状態に基づいて電装品の動作を制御する制御部と、を有し、
前記操作部の操作の往行程においては、前記第1駆動部および前記第2駆動部の移動によって、
前記第1、第2のスイッチが共に非導通、
前記第1のスイッチが導通で且つ前記第2のスイッチが非導通、
前記第1、第2のスイッチが共に導通、
前記第1のスイッチが非導通で且つ前記第2のスイッチが導通、
前記第1、第2のスイッチが共に非導通、
となる状態へと順に変化し、
前記制御部は、前記第1のスイッチが非導通で且つ前記第2のスイッチが導通の状態から、前記第1、第2のスイッチが共に非導通の状態へ変化したことに応じて前記電装品の動作を開始させ、
前記制御部は、前記第1のスイッチが導通で且つ前記第2のスイッチが非導通の状態から、前記第1、第2のスイッチが共に非導通の状態へ変化したことに応じて前記電装品の動作を停止させる、スイッチシステム。
(【請求項11】以降は省略されています)
発明の詳細な説明
【技術分野】
【0001】
本技術は、スイッチシステム、車両に関する。
続きを表示(約 1,300 文字)
【背景技術】
【0002】
従来、車両などに搭載される各種のスイッチ装置乃至スイッチシステムが知られている。特許文献1には、操作部が操作されると金属端子の接触により導通するディマースイッチが開示されている。
【0003】
また、近年、小さい電流値でスイッチ操作の検出を行うことが多くなったことに応じて、防水構造を設けることが容易なスイッチ装置が多く採用されている。
【0004】
例えば、特許文献2では、操作部が押下されると可動接点と固定接点とが接触することで導通するラバーコンタクトが採用される。接点同士が導通状態となっている間、電装品としてのパワーウィンドウ用のモータが動作する。
【先行技術文献】
【特許文献】
【0005】
特許第5824234号公報
実開平2-77829号公報
【発明の概要】
【発明が解決しようとする課題】
【0006】
特許文献2のようなスイッチ装置としては、押下が解除されると、接点同士が離れて非導通状態となり、且つ、自身が有する弾性によって初期位置に自立復帰するものが主流である。一方で、電装品の動作状態を継続させたい場合、通常、接点同士を導通状態にしておく必要がある。
【0007】
しかしながら、初期位置に自立復帰する構成のスイッチ装置は、押下状態が長時間に亘る場合、塑性変形し、押下解除されても速やかな復帰が困難になる場合がある。従って、電装品の動作状態が長く継続するような使用形態においては特に、スイッチ動作が不適切になるおそれがある。
【0008】
本技術は、スイッチの適切な動作を長く維持することを目的とする。
【課題を解決するための手段】
【0009】
上記目的を達成するために本技術のスイッチシステムは、押下されることで導通状態となり、押下解除されることで非導通状態となると共に初期位置に自立復帰するスイッチと、往復操作される操作部と、前記操作部と一体に構成されるかまたは前記操作部に連動して往復移動し、前記操作部の操作の往行程においては、前記スイッチを押下しない第1位置、前記スイッチを押下する第2位置、前記スイッチを押下しない第3位置、へと順に移動する駆動部と、前記スイッチの状態に基づいて電装品の動作を制御する制御部と、を有し、前記制御部は、前記電装品を動作させていない場合に、前記スイッチが非導通状態から導通状態に変化したことに応じて前記電装品の動作を開始させ、さらに前記スイッチが導通状態から非導通状態に変化しても前記電装品の動作を継続させ、前記制御部は、前記電装品を動作させている場合に、前記スイッチが非導通状態から導通状態に変化したこと、または前記スイッチが非導通状態から導通状態に変化し、さらに非導通状態に変化したこと、に応じて前記電装品の動作を停止させる。
【発明の効果】
【0010】
本技術によれば、スイッチの適切な動作を長く維持することができる。
【図面の簡単な説明】
(【0011】以降は省略されています)
この特許をJ-PlatPat(特許庁公式サイト)で参照する
関連特許
東洋電装株式会社
照明装置
1か月前
東洋電装株式会社
スイッチ装置
1か月前
東洋電装株式会社
モータ制御装置
1か月前
東洋電装株式会社
ハンドルスイッチ装置
5日前
東洋電装株式会社
スイッチシステム、車両
3日前
東洋電装株式会社
電子部品用の筐体カバー
3日前
東洋電装株式会社
スイッチ装置および車両
26日前
東洋電装株式会社
移動検出装置および鞍乗車両
26日前
東洋電装株式会社
清掃管理システム、清掃管理サーバー及び清掃管理プログラム
1か月前
個人
カート
2か月前
個人
走行装置
3か月前
個人
乗り物
4か月前
個人
電動走行車両
3か月前
個人
折り畳み自転車
10か月前
個人
発音装置
7か月前
個人
閂式ハンドル錠
3か月前
個人
駐輪設備
1か月前
個人
電動モビリティ
7か月前
個人
ボギー・フレーム
1か月前
個人
自転車用傘捕捉具
11か月前
個人
“zen-go.”
2か月前
個人
自由方向乗車自転車
7か月前
個人
体重掛けリフト台車
10か月前
個人
ルーフ付きトライク
2か月前
個人
ルーフ付きトライク
1か月前
個人
パワーアシスト自転車
1か月前
個人
アタッチメント
11か月前
個人
自転車用荷物台
10か月前
個人
キャンピングトライク
8か月前
個人
ステアリングの操向部材
8か月前
株式会社CPM
駐輪機
11か月前
株式会社豊田自動織機
産業車両
4か月前
個人
フロントフットブレーキ。
3か月前
株式会社三五
リアサブフレーム
10か月前
個人
ホイールハブ駆動構造
4か月前
個人
乗用自動車のディフューザー
9日前
続きを見る
他の特許を見る