TOP
|
特許
|
意匠
|
商標
特許ウォッチ
Twitter
他の特許を見る
10個以上の画像は省略されています。
公開番号
2025153179
公報種別
公開特許公報(A)
公開日
2025-10-10
出願番号
2024055516
出願日
2024-03-29
発明の名称
レベル電圧生成回路、表示ドライバ及び表示装置
出願人
ローム株式会社
代理人
弁理士法人レクスト国際特許事務所
主分類
G09G
3/20 20060101AFI20251002BHJP(教育;暗号方法;表示;広告;シール)
要約
【課題】回路面積を抑えて、高精度な複数のレベル電圧を生成することが可能なレベル電圧生成回路、表示ドライバ及び表示装置を提供することを目的とする。
【解決手段】複数のタップの各々から異なる電圧レベルを有する複数のレベル電圧を出力する抵抗ストリングと、ガンマ特性に沿った夫々異なる電圧値を有するm個の参照電圧を生成する参照電圧生成部と、m個の参照電圧を個別に増幅してm個のガンマ電圧を生成してm個のタップに出力する第1~第mのガンマバッファと、を含み、少なくとも1のガンマバッファは、自身が出力したガンマ電圧に生じているオフセットを2値の制御信号に応じて除去するオフセットキャンセル回路を含むオフセットキャンセルアンプと、m個のガンマ電圧及び電源電圧のうちから選択した、互いの電圧差が電源電圧より低い2つの電圧を2値とした制御信号を生成してオフセットキャンセル回路に出力する制御信号出力回路と、を有する。
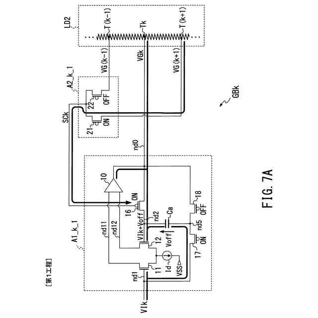
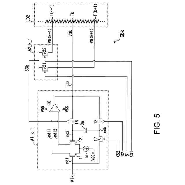
【選択図】図5
特許請求の範囲
【請求項1】
複数のタップの各々を介して互いに直列に接続されている複数の抵抗を含み、前記タップの各々から異なる電圧レベルを有する複数のレベル電圧を出力する抵抗ストリングと、
所望のガンマ特性に沿った夫々異なる電圧値を有するm(mは2以上の整数)個の参照電圧を生成する参照電圧生成部と、
前記m個の参照電圧を夫々個別に受け、2つの電源電圧の供給を受けて動作することで前記m個の参照電圧を個別に増幅して得られたm個の電圧をm個のガンマ電圧として生成し、前記複数のタップのうちのm個のタップに出力する第1~第mのガンマバッファと、を含み、
前記第1~第mのガンマバッファのうちの少なくとも1のガンマバッファは、
自身が出力した前記ガンマ電圧に生じているオフセット電圧を2値の制御信号に応じて除去するオフセットキャンセル回路を含むオフセットキャンセルアンプと、
自身を含む前記第1~第mのガンマバッファが出力した前記m個のガンマ電圧及び前記2つの電源電圧のうちから選択した、互いの電圧差が前記2つの電源電圧差より低い2つの電圧を受け、前記2つの電圧を前記2値とした前記制御信号を生成して前記オフセットキャンセル回路に出力する制御信号出力回路と、を有することを特徴とするレベル電圧生成回路。
続きを表示(約 3,600 文字)
【請求項2】
前記2つの電圧のうちの一方の電圧は、前記1のガンマバッファが出力した前記ガンマ電圧であることを特徴とする請求項1に記載のレベル電圧生成回路。
【請求項3】
前記2つの電圧は、前記第1~第mのガンマバッファのうちで前記1のガンマバッファを除く2つのガンマバッファから出力された2つの前記ガンマ電圧であることを特徴とする請求項1に記載のレベル電圧生成回路。
【請求項4】
前記オフセットキャンセル回路は第1の容量素子を含み、
前記オフセットキャンセルアンプは、
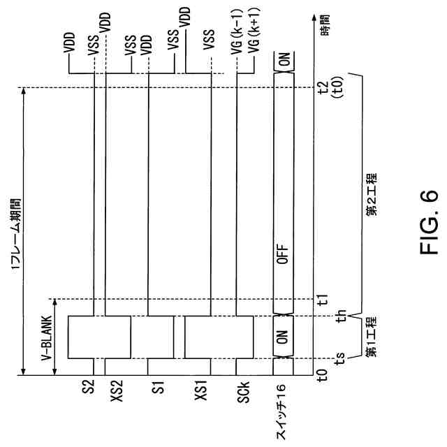
前記制御信号に基づき、前記オフセット電圧又は前記オフセット電圧を生じている前記ガンマ電圧を前記第1の容量素子に蓄積する第1工程と、
前記第1の容量素子に蓄積した電圧を保持し、前記1のガンマバッファが出力する前記ガンマ電圧から前記オフセット電圧を除去したガンマ電圧を前記抵抗ストリングの前記タップに供給する第2工程と、を順に実行し、
制御信号出力回路は、
前記第1工程では前記2つの電圧のうちの一方の電圧を有する前記制御信号を生成し、前記第2工程では前記2つの電圧のうちの他方の電圧を有する前記制御信号を生成することを特徴とする請求項1に記載のレベル電圧生成回路。
【請求項5】
前記オフセットキャンセルアンプは、
前記ガンマ電圧を出力する出力ノードと、
前記参照電圧を受ける第1の入力端及び前記出力ノードの電圧を受ける第2の入力端を含み、前記参照電圧と前記出力ノードの電圧との差分に対応した一対の電流を送出する第1の差動対と、
前記一対の電流同士の差に対応した電流を前記出力ノードに送出する増幅段と、を含み、
前記オフセットキャンセル回路は、前記制御信号に応じてオンオフ制御され、オン状態時に前記第1の容量素子の一端及び前記第1の差動対の前記第2の入力端と前記出力ノードとを接続する第1のスイッチ素子を含み、
前記第1工程では、前記第1の差動対の前記第1の入力端と前記第1の容量素子の他端とが接続された状態で、前記制御信号出力回路が前記第1のスイッチ素子をオン状態にする前記制御信号を前記第1のスイッチ素子に供給することで、前記第1の容量素子に前記オフセット電圧を蓄積させ、
前記第2工程では、前記出力ノードと前記第1の容量素子の他端とが接続された状態で、前記制御信号出力回路が前記第1のスイッチ素子をオフ状態にする前記制御信号を前記第1のスイッチ素子に供給することで、前記第1の容量素子に蓄積された前記オフセット電圧が保持され、その結果前記出力ノードの電圧から前記オフセット電圧が除去されることを特徴とする請求項4に記載のレベル電圧生成回路。
【請求項6】
前記オフセットキャンセルアンプは、前記出力ノードの電圧を前記ガンマ電圧として前記抵抗ストリングの前記タップに供給しつつ前記第1工程及び前記第2工程を順に実行することを特徴とする請求項5に記載のレベル電圧生成回路。
【請求項7】
前記オフセットキャンセル回路は、
オン状態時に前記第1の差動対の第1の入力端と前記第1の容量素子の他端とを接続する第2のスイッチ素子と、
オン状態時に前記第1の容量素子の他端と前記出力ノードとを接続する第3のスイッチ素子と、を含み、
前記第1の差動対は第1導電型のトランジスタ対で構成され、前記第1のスイッチ素子~前記第3のスイッチ素子の各々が第2導電型のトランジスタで構成されることを特徴とする請求項5に記載のレベル電圧生成回路。
【請求項8】
前記オフセットキャンセルアンプは、
前記ガンマ電圧を出力する出力ノードと、
前記参照電圧を受ける第1の入力端及び前記出力ノードの電圧を受ける第2の入力端を含み、前記参照電圧と前記出力ノードの電圧との差分に対応した一対の電流を送出する第1の差動対と、
前記一対の電流同士の差に対応した電流を前記出力ノードに送出する増幅段と、を含み、
前記制御信号出力回路は、前記制御信号のレベルを反転した反転制御信号を生成し、
前記オフセットキャンセル回路は、
前記制御信号に応じてオンオフ制御され、オン状態時に前記出力ノードを前記第1の差動対の前記第2の入力端に接続する第1のスイッチ素子と、
前記制御信号に応じてオンオフ制御され、オン状態時に前記出力ノードを前記第1の容量素子の一端に接続する第2のスイッチ素子と、
前記反転制御信号に応じてオンオフ制御され、オン状態時に前記第1の容量素子の一端を前記第1の差動対の前記第2の入力端に接続する第3のスイッチ素子と、を含み、
前記第1工程では、前記第1の差動対の前記第1の入力端と前記第1の容量素子の他端とが接続された状態で、前記制御信号出力回路が、前記第1及び第2のスイッチ素子をオン状態にする前記制御信号を前記第1及び第2のスイッチ素子に供給すると共に、前記第3のスイッチ素子をオフ状態にする前記反転制御信号を前記第3のスイッチ素子に供給することで、前記第1の容量素子に前記オフセット電圧を蓄積させ、
前記第2工程では、前記出力ノードと前記第1の容量素子の他端とが接続された状態で、前記制御信号出力回路が前記第1及び第2のスイッチ素子をオフ状態にする前記制御信号を前記第1及び第2のスイッチ素子に供給すると共に前記第3のスイッチ素子をオン状態にする前記反転制御信号を前記第3のスイッチ素子に供給することで、前記第1の容量素子に蓄積された前記オフセット電圧が保持され、その結果前記出力ノードの電圧から前記オフセット電圧が除去されることを特徴とする請求項4に記載のレベル電圧生成回路。
【請求項9】
前記オフセットキャンセルアンプは、
前記ガンマ電圧を出力する出力ノードと、
前記出力ノードの電圧を受ける第1の入力端と前記参照電圧を受ける第2の入力端を含み、前記出力ノードの電圧と前記参照電圧との差分に対応した一対の電流を一対のノードに流す第1の差動対と、
前記一対のノードに流れる電流同士の差に対応した電流を前記出力ノードに送出する増幅段と、を含み、
前記オフセットキャンセル回路は、
前記第1の差動対の前記第1の入力端に前記参照電圧及び前記出力ノードの電圧のうちの一方を選択して供給するスイッチ回路と、
前記第1の容量素子に加え第2の容量素子と、
前記第1の容量素子の一端が接続されている第1の入力端及び前記第2の容量素子の一端が接続されている第2の入力端を有し、前記第1の容量素子の前記一端の電圧と前記第第2の容量素子の前記一端の電圧との差分に対応した一対の電流を前記一対のノードに流す第2の差動対と、
前記制御信号に応じてオンオフ制御され、オン状態時に前記出力ノードの電圧を前記第1の容量素子の前記一端に印加する第1のスイッチ素子と、
前記制御信号に応じてオンオフ制御され、オン状態時に前記参照電圧を前記第2の容量素子の前記一端に印加する第2のスイッチ素子と、を含み、
前記第1工程では、前記参照電圧が前記第1の差動対の前記第1の入力端に供給されるように前記スイッチ回路を制御すると共に、前記制御信号に基づき、前記第1のスイッチ素子及び前記第2のスイッチ素子をオン状態にすることで、前記オフセット電圧が生じている前記出力ノードの電圧を前記第1の容量素子に蓄積させ且つ前記参照電圧を前記第2の容量素子に蓄積させ、
前記第2工程では、前記出力ノードの電圧が前記第1の差動対の前記第1の入力端に供給されるように前記スイッチ回路を制御すると共に、前記制御信号に基づき、前記第1のスイッチ素子及び前記第2のスイッチ素子をオフ状態にすることで、前記第1工程に前記第1及び前記第2の容量素子に夫々蓄積した電圧が前記第2の差動対の前記第1の入力端の電圧及び前記第2の入力端の電圧として夫々保持され、その結果前記出力ノードの電圧から前記オフセット電圧が除去されることを特徴とする請求項4に記載のレベル電圧生成回路。
【請求項10】
前記オフセットキャンセルアンプは、前記出力ノードの電圧を前記ガンマ電圧として前記抵抗ストリングの前記タップに供給しつつ前記第1工程及び前記第2工程を順に実行することを特徴とする請求項9に記載のレベル電圧生成回路。
(【請求項11】以降は省略されています)
発明の詳細な説明
【技術分野】
【0001】
本発明は、電圧レベルが異なる複数の電圧を生成する電圧生成回路、表示ドライバ及び表示装置に関する。
続きを表示(約 1,300 文字)
【背景技術】
【0002】
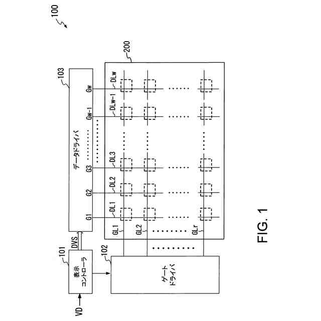
液晶型又は有機EL型の表示装置には、2次元画面の水平方向に伸張する複数のゲート線と2次元画面の垂直方向に伸張する複数のソース線とが配置されている表示パネルと、当該ゲート線を駆動するゲートドライバと、ソース線を駆動するソースドライバと、が含まれている。
【0003】
ソースドライバには、映像信号に基づく各画素の輝度レベルを表す画素データ片を受け、当該画素データ片の各々を、この画素データ片にて示される輝度レベルに対応した電圧値を有する階調電圧に変換するデコーダが含まれている。デコーダは、階調電圧生成部で生成された複数の階調電圧のうちから、画素データ片にて示される輝度レベルに対応した1つを選択し、この選択した階調電圧を表示パネルのソース線に供給する。
【0004】
尚、上記した階調電圧生成部として、複数の抵抗が直接に接続されてなる第1及び第2のラダー抵抗、セレクタ、及びガンマアンプ群含むものが提案されている(例えば特許文献1の図3参照)。特許文献1の図3に記載されているセレクタは、第1のラダー抵抗107で生成された複数の電圧のうちから、所望とするガンマ特性に沿った電圧値を有する6個の電圧(V2~V7)を選択し、夫々をガンマアンプの各々(A1~A6)に個別に供給する。ここで、各ガンマアンプによって増幅された電圧群は第2のラダー抵抗153における所望とするタップの各々に印加され、この際、当該第2のラダー抵抗の各タップに生じた電圧が上記した複数の階調電圧として出力される。
【先行技術文献】
【特許文献】
【0005】
特開2009-8958号公報
【発明の概要】
【発明が解決しようとする課題】
【0006】
ところで、近年の表示パネルの大画面化及び高精細化に伴い、ソースドライバは複数のICチップに分割して構築されており、夫々が表示パネルの2次元画面の水平方向に沿って並置して設置されている。
【0007】
ここで、各ICチップ内で生成された各階調電圧における所望電圧値に対する誤差量は、製造バラツキ等に起因してICチップ毎に異なる場合があるので、その誤差量の差が大きい場合には、画像の表示ムラとして視覚されるおそれがある。
【0008】
よって、階調電圧生成部では、所望とする電圧値に対する誤差量が少ない高精度な階調電圧を生成することが望まれている。
【0009】
尚、階調電圧の高精度化を図るために、上記したガンマアンプを構成するトランジスタのサイズを大型化することが考えられるが、その分だけ複数のガンマアンプを構築するために必要となる回路面積が増えるという問題が生じる。
【0010】
そこで、本発明は、回路面積を抑えて、所望とする高精度な複数のレベル電圧を生成することが可能なレベル電圧生成回路、表示ドライバ及び表示装置を提供することを目的とする。
【課題を解決するための手段】
(【0011】以降は省略されています)
この特許をJ-PlatPat(特許庁公式サイト)で参照する
関連特許
ローム株式会社
RAM
4日前
ローム株式会社
RAM
4日前
ローム株式会社
電源装置
4日前
ローム株式会社
半導体装置
4日前
ローム株式会社
半導体装置
4日前
ローム株式会社
半導体装置
4日前
ローム株式会社
半導体装置
4日前
ローム株式会社
静電気保護素子
4日前
ローム株式会社
窒化物半導体装置
今日
ローム株式会社
異常検知システム
4日前
ローム株式会社
検証装置及び検証方法
4日前
ローム株式会社
半導体装置及び補正方法
4日前
ローム株式会社
信号伝達装置、電子機器、車両
4日前
ローム株式会社
信号伝達装置、電子機器、車両
今日
ローム株式会社
半導体装置及びレギュレータ装置
4日前
ローム株式会社
レギュレータ回路を備えた集積回路
4日前
ローム株式会社
パルス幅測定回路、パルス幅の測定方法
4日前
ローム株式会社
半導体回路及び半導体回路のテスト方法
4日前
ローム株式会社
音波センサ駆動回路、音波センサ及び車両
4日前
ローム株式会社
レベル電圧生成回路、表示ドライバ及び表示装置
4日前
ローム株式会社
半導体装置
今日
ローム株式会社
信号生成回路、スイッチング制御回路、スイッチング電源装置、及び車両
4日前
ローム株式会社
半導体装置、電子機器、車両
今日
ローム株式会社
ウェイクアップタイマ回路、無線IC、及びウェイクアップタイマ回路の制御方法
4日前
個人
回転式カード学習具
1か月前
日本精機株式会社
表示装置
1か月前
個人
時刻表示機能つき手帳
2か月前
日本精機株式会社
表示装置
19日前
個人
計算用教具
15日前
中国電力株式会社
標示旗
25日前
日本精機株式会社
車両用表示装置
2か月前
日本精機株式会社
車両用表示装置
2か月前
日本精機株式会社
車両用表示装置
2か月前
日本精機株式会社
車両用センサ装置
15日前
個人
モデルで薔薇の花嫁様を描く為
1か月前
トヨタ自動車株式会社
評価方法
2か月前
続きを見る
他の特許を見る