TOP
|
特許
|
意匠
|
商標
特許ウォッチ
Twitter
他の特許を見る
公開番号
2025153498
公報種別
公開特許公報(A)
公開日
2025-10-10
出願番号
2024056010
出願日
2024-03-29
発明の名称
音波センサ駆動回路、音波センサ及び車両
出願人
ローム株式会社
代理人
弁理士法人 佐野特許事務所
主分類
G01S
7/524 20060101AFI20251002BHJP(測定;試験)
要約
【課題】複数の音波送受波部から検知対象物までの距離を正確に算出する。
【解決手段】音波センサ(109)を駆動する音波センサ駆動回路(1)において、制御部(3)は、昇圧回路(9)を駆動させた状態で、音波駆動部(4)から所定の第1パルス数の第1駆動信号(DA1)を生成させ、昇圧回路(9)の駆動を維持したまま一定期間(Ta)経過後、音波駆動部から所定の第2パルス数の第2駆動信号(DA2)を生成させた後、音波駆動部(4)から所定の第3パルス数の前記第2駆動信号(DA2)と逆相の逆相信号(Iv)を生成させる。
【選択図】図5
特許請求の範囲
【請求項1】
音波センサを駆動する音波センサ駆動回路であって、
音波送受波素子を駆動する第1駆動信号及び第2駆動信号と、前記第2駆動信号と逆相の逆相信号と、を生成可能な構成の音波駆動部と、
制御部と、を有し、
前記制御部は、前記音波駆動部から所定の第1パルス数の前記第1駆動信号を生成させて前記音波送受波素子から第1搬送波が送波された後、一定期間経過後、前記音波駆動部から所定の第2パルス数の前記第2駆動信号を生成させて前記音波送受波素子から第2搬送波が送波された後、前記音波駆動部から所定の第3パルス数の前記逆相信号を生成させる構成であり、
前記制御部は、前記第1搬送波が前記第1駆動信号による前記音波送受波素子の動作によって発生する音波と、前記音波送受波素子の残響により発生する音波とを含むように、前記第1駆動信号の第1パルス数を決定するように構成される音波センサ駆動回路。
続きを表示(約 940 文字)
【請求項2】
前記制御部は、前記第2パルス数が前記第1パルス数よりも少なく、前記第3パルス数が前記第2パルス数よりも少なくなるように前記音波駆動部を制御するように構成される請求項1に記載の音波センサ駆動回路。
【請求項3】
前記音波送受波素子に接続されてオン状態又はオフ状態に切り替え可能であり、前記オン状態のときに前記音波送受波素子の振動を制限するように動作する構成のダンピング回路を有し、
前記制御部は、前記逆相信号の生成の後、前記ダンピング回路を所定の期間オン状態に制御するように構成される請求項1に記載の音波センサ駆動回路。
【請求項4】
前記ダンピング回路は、インダクタンスとして動作する疑似インダクタンス回路により構成される構成の請求項3に記載の音波センサ駆動回路。
【請求項5】
前記制御部は、前記音波送受波素子の残響のレベルが所定のレベル以下になったときに前記ダンピング回路をオフ状態に切り替えるように構成される請求項3に記載の音波センサ駆動回路。
【請求項6】
前記音波駆動部に供給される電圧を昇圧させる構成の昇圧回路を有し、
前記制御部は、前記昇圧回路を駆動させた状態で、前記音波駆動部から前記第1駆動信号、前記第2駆動信号及び前記逆相信号を出力させた後に前記昇圧回路を停止させるように構成される請求項1に記載の音波センサ駆動回路。
【請求項7】
受波した前記音波から前記第1駆動信号及び前記第2駆動信号に応じて送波された音波の検知対象物で反射された反射波を識別する構成の反射波識別部を有し、
前記制御部は、前記反射波識別部が前記反射波を識別した後、前記昇圧回路の駆動を開始するように構成される請求項6に記載の音波センサ駆動回路。
【請求項8】
請求項1から請求項7のいずれかに記載の前記音波センサ駆動回路と、
搬送波を送波可能であるとともに反射波を受波可能なように構成された音波送受波素子と、を備えるように構成された音波センサ。
【請求項9】
請求項8に記載の音波センサを備えるように構成された車両。
発明の詳細な説明
【技術分野】
【0001】
本開示は、音波センサ駆動回路に関するものであり、音波センサ駆動回路を用いた音波センサ及び車両に関する。
続きを表示(約 1,600 文字)
【背景技術】
【0002】
従来、音波を発生させて障害物で反射された反射波を計測することにより障害物までの距離を測定する音波センサが知られている。このような音波センサは、例えば、車両に備えられて、車間距離を測定する音波ソナーに用いられる。(特許文献1等参照)
【先行技術文献】
【特許文献】
【0003】
国際公開2020/004609号
【0004】
[概要]
上述のような音波センサでは、さらなる消費電力の削減の要求が高まっている。
【0005】
本開示の一態様による音波センサ駆動回路は、音波センサを駆動する。音波センサ駆動回路は、音波送受波素子を駆動する第1駆動信号及び第2駆動信号と、前記第2駆動信号と逆相の逆相信号と、を生成可能な構成の音波駆動部と、制御部と、を有する。前記制御部は、前記音波駆動部から所定の第1パルス数の前記第1駆動信号を生成させて前記音波送受波素子から第1搬送波が送波された後、一定期間経過後、前記音波駆動部から所定の第2パルス数の前記第2駆動信号を生成させて前記音波送受波素子から第2搬送波が送波された後、前記音波駆動部から所定の第3パルス数の前記逆相信号を生成させる構成である。前記制御部は、前記第1搬送波が前記第1駆動信号による前記音波送受波素子の動作によって発生する音波と、前記音波送受波素子の残響により発生する音波とを含むように、前記第1駆動信号の第1パルス数を決定するように構成される。
【図面の簡単な説明】
【0006】
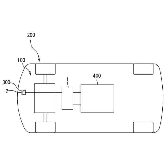
図1は、本開示の一実施形態にかかる音波センサと検知対象物の相対位置を示す概略図である。
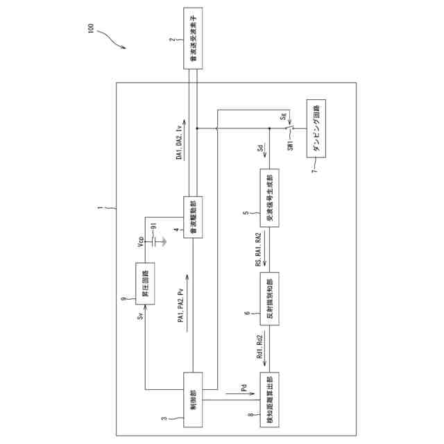
図2は、音波センサ駆動回路の構成を示す図である。
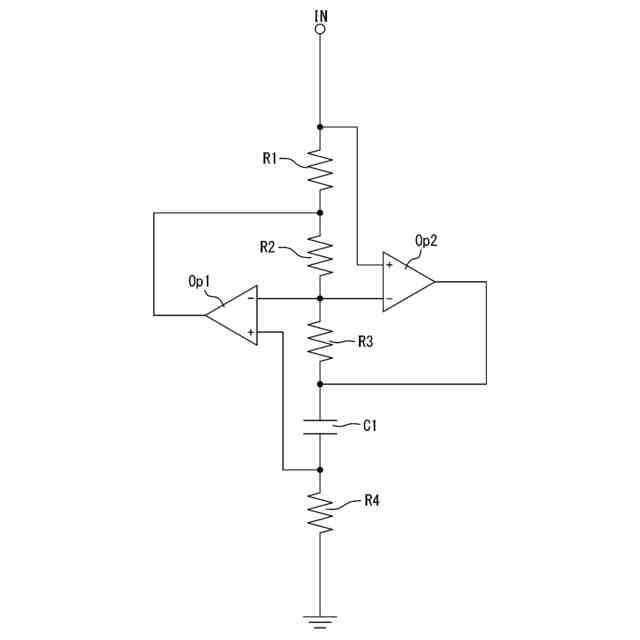
図3は、ダンピング回路の一例の回路図である。
図4は、音波センサによる検知対象物を検知するときの各部の状態を示すタイミングチャートである。
図5は、音波センサの動作を示すフローチャートである。
図6は、音波センサが用いられる装置の一例である車両の概略図である。
【0007】
[詳細な説明]
以下に本開示の一実施形態について図面を参照して説明する。
【0008】
<ソナー装置>
図1は、本開示の一実施形態にかかる音波センサ100と検知対象物600の相対位置を示す概略図である。図2は、音波センサ駆動回路1の構成を示す図である。図1に示すように、音波センサ100は、外部に向かって超音波域(人間の可聴域を超えた周波数帯域を指し、一般には20kHz以上)の搬送波を送波し、検知対象物600で反射された反射波を検知する。そして、音波センサ100では、搬送波の送波から反射波の受波までの時間に基づいて、検知対象物600までの距離を測定する。すなわち、音波センサ100は、いわゆるTOF(Time of Flight)方式により距離測定を行う。音波センサ100は、音波センサ駆動回路1と、音波送受波素子2と、を備える。
【0009】
<音波送受波素子2>
音波送受波素子2は、いわゆる、圧電素子である。音波送受波素子2は、その両端間に印加される電圧信号に応じて機械的変位(振動)を生じる特性を持ち、搬送波の送波できる。また、音波送受波素子2は、自身に加わる機械的変位(振動)に応じてその両端間に起電力を生じる特性を備える。音波送受波素子2は、この起電力を生じる特性を利用して、検知対象物600で反射した反射波を含む音波Sd(図2参照)を受波できる。
【0010】
図1、図2に示すように、音波送受波素子2は、音波センサ駆動回路1の音波駆動部4からの第1駆動信号DA1、第2駆動信号DA2によって、振動し、第1搬送波WA1、第2搬送波WA2を送波する構成を有する。
(【0011】以降は省略されています)
この特許をJ-PlatPat(特許庁公式サイト)で参照する
関連特許
ローム株式会社
RAM
1か月前
ローム株式会社
電源装置
1か月前
ローム株式会社
光センサ
24日前
ローム株式会社
半導体装置
2日前
ローム株式会社
半導体装置
16日前
ローム株式会社
半導体装置
1か月前
ローム株式会社
半導体装置
1か月前
ローム株式会社
半導体装置
25日前
ローム株式会社
半導体装置
24日前
ローム株式会社
半導体装置
24日前
ローム株式会社
半導体装置
18日前
ローム株式会社
半導体装置
2日前
ローム株式会社
半導体装置
17日前
ローム株式会社
抵抗チップ
17日前
ローム株式会社
半導体装置
16日前
ローム株式会社
半導体装置
18日前
ローム株式会社
半導体装置
2日前
ローム株式会社
静電気保護素子
1か月前
ローム株式会社
半導体集積回路
11日前
ローム株式会社
半導体パッケージ
17日前
ローム株式会社
自己診断システム
19日前
ローム株式会社
半導体メモリ装置
4日前
ローム株式会社
窒化物半導体装置
26日前
ローム株式会社
窒化物半導体装置
17日前
ローム株式会社
検証装置及び検証方法
1か月前
ローム株式会社
半導体装置及び補正方法
1か月前
ローム株式会社
半導体装置、電子機器、車両
11日前
ローム株式会社
半導体装置、電子機器、車両
11日前
ローム株式会社
信号伝達装置、電子機器、車両
26日前
ローム株式会社
レギュレータ回路を備えた集積回路
1か月前
ローム株式会社
電圧電流変換回路および半導体集積回路
11日前
ローム株式会社
パルス幅変調回路およびモータ駆動装置
11日前
ローム株式会社
パルス幅測定回路、パルス幅の測定方法
1か月前
ローム株式会社
半導体装置および半導体装置の製造方法
2日前
ローム株式会社
半導体回路及び半導体回路のテスト方法
1か月前
ローム株式会社
半導体装置、および半導体装置の製造方法
2日前
続きを見る
他の特許を見る