TOP
|
特許
|
意匠
|
商標
特許ウォッチ
Twitter
他の特許を見る
公開番号
2025152995
公報種別
公開特許公報(A)
公開日
2025-10-10
出願番号
2024055237
出願日
2024-03-29
発明の名称
吐出装置
出願人
学校法人福岡工業大学
,
ブラザー工業株式会社
代理人
弁理士法人有古特許事務所
主分類
B05C
5/00 20060101AFI20251002BHJP(霧化または噴霧一般;液体または他の流動性材料の表面への適用一般)
要約
【課題】吐出の安定性を向上することができる吐出装置を提供する。
【解決手段】吐出装置は、熱可塑性材料を被吐出媒体に吐出する吐出装置であって、被吐出媒体を支持する金属製の支持部と、熱可塑性材料を被吐出媒体に吐出するノズルを先端に有するシリンジと、ノズルと支持部との間に電圧を印加する電源と、シリンジの外周に設けられる絶縁部と、絶縁部の外周に設けられる第1加熱部と、ノズルを間接的に加熱する第2加熱部と、制御装置とを備え、制御装置は、電源によりノズルと支持部との間に電圧を印加した状態でノズルから被吐出媒体に熱可塑性材料を吐出させる。
【選択図】図1
特許請求の範囲
【請求項1】
熱可塑性材料を被吐出媒体に吐出する吐出装置であって、
前記被吐出媒体を支持する金属製の支持部と、
前記熱可塑性材料を前記被吐出媒体に吐出するノズルを先端に有するシリンジと、
前記ノズルと前記支持部との間に電圧を印加する電源と、
前記シリンジの外周に設けられる絶縁部と、
前記絶縁部の外周に設けられる第1加熱部と、
前記ノズルを間接的に加熱する第2加熱部と、
制御装置と、を備え、
前記制御装置は、前記電源により前記ノズルと前記支持部との間に電圧を印加した状態で前記ノズルから前記被吐出媒体に前記熱可塑性材料を吐出させる、吐出装置。
続きを表示(約 1,200 文字)
【請求項2】
前記第2加熱部は前記ノズルを赤外線により加熱する赤外線ヒータであり、
前記ノズルに対して前記赤外線を反射させる反射部をさらに備える、請求項1に記載の吐出装置。
【請求項3】
前記ノズルの外表面の少なくとも一部は黒色である、請求項1に記載の吐出装置。
【請求項4】
前記被吐出媒体又は前記支持部を加熱するヒータをさらに備える、請求項1に記載の吐出装置。
【請求項5】
前記絶縁部は、1W/(m・k)よりも高い熱伝導率を有する、請求項1に記載の吐出装置。
【請求項6】
前記吐出装置は、前記熱可塑性材料を金属製の前記被吐出媒体に吐出する吐出装置であって、
前記電源は、前記ノズルと前記支持部との間に電圧を印加する代わりに、前記ノズルと前記被吐出媒体との間に電圧を印加し、
前記制御装置は、前記電源により前記ノズルと前記被吐出媒体との間に電圧を印加した状態で前記ノズルから前記被吐出媒体に前記熱可塑性材料を吐出させる、請求項1に記載の吐出装置。
【請求項7】
前記ノズルの先端に対して前記支持部を相対的に近付け又は遠ざける駆動部をさらに備え、
前記電源により電圧が印加される際に前記ノズルと前記支持部との間に発生する電界Eは、前記電圧をV[kV]とし、前記ノズルの先端と前記支持部との距離をd[mm]とするとき、V/d[kV/mm]により表され、
前記制御装置は、0.2<V/d<2となるように、前記電源の印加動作、前記駆動部の動作、並びに、前記電源の印加動作および前記駆動部の動作、のうち何れか一つを制御する、請求項1に記載の吐出装置。
【請求項8】
熱可塑性材料を金属製の被吐出媒体に吐出する吐出装置であって、
前記熱可塑性材料を前記被吐出媒体に吐出するノズルを先端に有するシリンジと、
前記ノズルと前記被吐出媒体との間に電圧を印加する電源と、
前記シリンジの外周に設けられる絶縁部と、
前記絶縁部の外周に設けられる第1加熱部と、
前記ノズルを間接的に加熱する第2加熱部と、
制御装置と、を備え、
前記制御装置は、前記電源により前記ノズルと前記被吐出媒体との間に電圧を印加した状態で前記ノズルから前記被吐出媒体に前記熱可塑性材料を吐出させる、吐出装置。
【請求項9】
前記第2加熱部は前記ノズルを赤外線により加熱する赤外線ヒータであり、
前記ノズルに対して前記赤外線を反射させる反射部をさらに備える、請求項8に記載の吐出装置。
【請求項10】
前記ノズルの外表面の少なくとも一部は黒色である、請求項8に記載の吐出装置。
(【請求項11】以降は省略されています)
発明の詳細な説明
【技術分野】
【0001】
本開示は、熱可塑性材料を被吐出媒体に吐出する吐出装置に関する。
続きを表示(約 1,800 文字)
【背景技術】
【0002】
従来、記録ヘッドの記録電極と被記録媒体側の対向電極との間に電圧パルスを印加し、これに起因する静電気力(クーロン力)によって記録ヘッドのオリフィスから被記録媒体上にインクを飛翔させて作像するインクジェット記録方法が知られている(特許文献1)。当該文献に記載の発明においては、被記録媒体側に当該被記録媒体の表面温度を制御する温度制御手段を設けて、オリフィスから飛翔して付着するインクの温度を制御することが行われている。また、上記文献にはオリフィスにヒータを設けて当該ヒータの温度を制御することも記載されている。
【先行技術文献】
【特許文献】
【0003】
特許第2853517号公報
【発明の概要】
【発明が解決しようとする課題】
【0004】
しかしながら、上記従来技術の発明はオリフィスにヒータを設けて当該ヒータの温度を制御する構成であるが、高粘度のインクを用いる場合に当該インクの加熱溶融に不足が生じる恐れがあり、また、飛翔する熱可塑性材料の着弾位置が所望の位置とならない恐れもあった。そのため、吐出の安定性を向上する余地があった。
【0005】
そこで、本開示は吐出の安定性を向上することができる吐出装置を提供することを目的とする。
【課題を解決するための手段】
【0006】
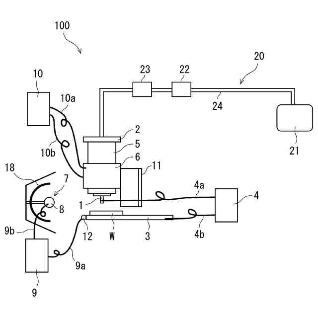
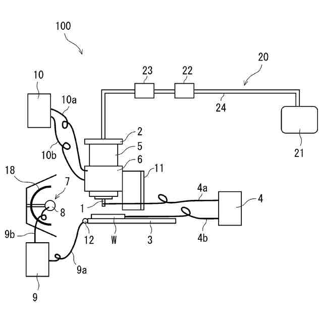
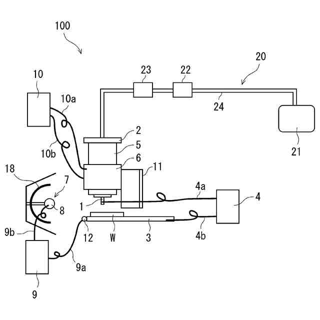
本開示の吐出装置は、熱可塑性材料を被吐出媒体に吐出する吐出装置であって、前記被吐出媒体を支持する金属製の支持部と、前記熱可塑性材料を前記被吐出媒体に吐出するノズルを先端に有するシリンジと、前記ノズルと前記支持部との間に電圧を印加する電源と、前記シリンジの外周に設けられる絶縁部と、前記絶縁部の外周に設けられる第1加熱部と、前記ノズルを間接的に加熱する第2加熱部と、制御装置と、を備え、前記制御装置は、前記電源により前記ノズルと前記支持部との間に電圧を印加した状態で前記ノズルから前記被吐出媒体に前記熱可塑性材料を吐出させるものである。
【0007】
本開示に従えば、シリンジの外周に絶縁部が設けられる。このため、電源によりノズルと支持部との間に電圧が印加された際に生じる静電気力がシリンジを介して第1加熱部に導かれ難くなる。これにより、静電気力による第1加熱部の破損の恐れを抑制することができる。また、ノズルから吐出される熱可塑性材料に対して静電気力を作用させ易くなり、もって熱可塑性材料を被吐出媒体上の所望の位置に着弾させ得る可能性が高まる。また、第2加熱部によりノズルを間接的に高温に加熱することができる。これにより、一時的に固化している吐出前の熱可塑性材料をノズル内で着実に溶融させることができる。以上によって、熱可塑性材料の吐出の安定性が向上される。さらに、上記の通り、第2加熱部によってノズルを間接的に加熱する構成を採用しているため、例えば円錐形状などの、加熱部を取り付け難い形状を有するノズルであっても当該ノズルを良好に加熱することができる。
【0008】
本開示の吐出装置は、熱可塑性材料を金属製の被吐出媒体に吐出する吐出装置であって、前記熱可塑性材料を前記被吐出媒体に吐出するノズルを先端に有するシリンジと、前記ノズルと前記被吐出媒体との間に電圧を印加する電源と、前記シリンジの外周に設けられる絶縁部と、前記絶縁部の外周に設けられる第1加熱部と、前記ノズルを間接的に加熱する第2加熱部と、制御装置と、を備え、前記制御装置は、前記電源により前記ノズルと前記被吐出媒体との間に電圧を印加した状態で前記ノズルから前記被吐出媒体に前記熱可塑性材料を吐出させるものである。
【0009】
本開示に従えば、上記効果と同様の効果が奏されると共に、さらに、被吐出媒体に電極の役割を持たせることによって支持部が不要となるという効果および支持部として金属以外の部材を採用することも可能となるという効果が奏される。
【発明の効果】
【0010】
本開示によれば、吐出の安定性を向上することができる吐出装置を提供することができる。
【図面の簡単な説明】
(【0011】以降は省略されています)
この特許をJ-PlatPat(特許庁公式サイト)で参照する
関連特許
学校法人福岡工業大学
吐出装置
25日前
学校法人福岡工業大学
セメンタイトの製造方法
1か月前
第一稀元素化学工業株式会社
リン酸ジルコニウムナノシート分散液、及びリン酸ジルコニウムナノシートの製造方法
25日前
ベック株式会社
被膜形成方法
28日前
ベック株式会社
被膜形成方法
4か月前
ベック株式会社
被膜形成方法
4か月前
有限会社 芦屋ドレス
湯噴霧器
13日前
スズカファイン株式会社
多色性塗膜
1か月前
アイカ工業株式会社
塗料仕上げ工法
1か月前
株式会社吉野工業所
キャップ
3か月前
ベック株式会社
装飾被膜の形成方法
3か月前
個人
スプレー缶高所対応携帯ホルダー
1か月前
プルガティオ株式会社
噴霧装置
4か月前
プルガティオ株式会社
噴霧装置
4か月前
株式会社カネカ
塗布装置
1か月前
日本ライナー株式会社
塗装装置
1か月前
トヨタ自動車株式会社
塗布装置
1か月前
能美防災株式会社
水噴霧ヘッド
1か月前
プルガティオ株式会社
噴霧装置
4か月前
ヒット工業株式会社
マスキング具
2か月前
株式会社吉野工業所
ポンプ式吐出器
4か月前
中外炉工業株式会社
塗工装置
3か月前
ブラザー工業株式会社
塗工装置
25日前
東レエンジニアリング株式会社
スリットダイ
28日前
ブラザー工業株式会社
塗工装置
25日前
ブラザー工業株式会社
塗工装置
25日前
東レエンジニアリング株式会社
粉体吐出装置
26日前
株式会社吉野工業所
吐出器
3か月前
株式会社吉野工業所
吐出器
4か月前
旭サナック株式会社
粉体塗装装置
1か月前
株式会社大関
塗装用ローラとその製造方法
4か月前
積水ハウス株式会社
接着剤塗布装置
3か月前
株式会社トーモク
印刷装置および印刷方法
1か月前
トリニティ工業株式会社
回転霧化式塗装機
1か月前
個人
散水形態を変更可能な吐水装置
1か月前
トヨタ自動車株式会社
間欠塗工装置
7日前
続きを見る
他の特許を見る