TOP
|
特許
|
意匠
|
商標
特許ウォッチ
Twitter
他の特許を見る
公開番号
2025152371
公報種別
公開特許公報(A)
公開日
2025-10-09
出願番号
2024054235
出願日
2024-03-28
発明の名称
還元鉄の製造システム、および還元鉄の製造方法
出願人
大陽日酸株式会社
代理人
個人
,
個人
,
個人
,
個人
主分類
C21B
13/12 20060101AFI20251002BHJP(鉄冶金)
要約
【課題】還元鉄を高い歩留まりで得られる還元鉄の製造システムを提供する。
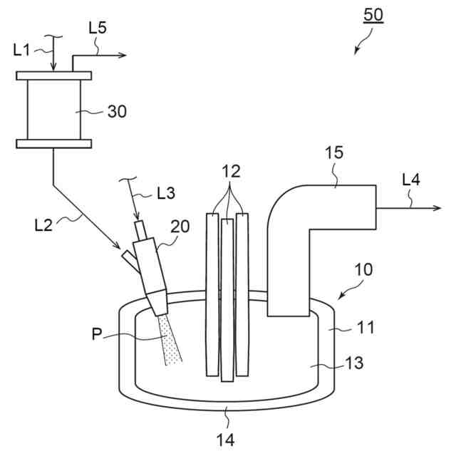
【解決手段】粉体の還元鉄Pを溶融する電気炉10と、電気炉10に還元鉄Pを投入する、還元鉄投入装置20とを備え、還元鉄投入装置20は、還元鉄を導入する粉体導入部と、搬送ガスを導入するガス導入部と、搬送ガスに同伴された還元鉄を噴出する粉体噴出部と、を有する、還元鉄の製造システム50を選択する。
【選択図】図1
特許請求の範囲
【請求項1】
粉体の還元鉄を溶融する電気炉と、
前記電気炉に前記還元鉄を投入する、還元鉄投入装置と、を備え、
前記還元鉄投入装置は、前記還元鉄を導入する粉体導入部と、搬送ガスを導入するガス導入部と、前記搬送ガスに同伴された前記還元鉄を噴出する粉体噴出部と、を有する、還元鉄の製造システム。
続きを表示(約 720 文字)
【請求項2】
前記還元鉄投入装置が、前記電気炉に接続され、
前記粉体噴出部が前記電気炉内に位置する、請求項1に記載の還元鉄の製造システム。
【請求項3】
前記ガス導入部と接続され、前記還元鉄投入装置に前記搬送ガスを供給する搬送ガス供給経路を備える、請求項1に記載の還元鉄の製造システム。
【請求項4】
前記搬送ガス供給経路に位置し、前記搬送ガスを加熱する、ガス加熱装置を備える、請求項3に記載の還元鉄の製造システム。
【請求項5】
前記ガス加熱装置が、熱交換器である、請求項4に記載の還元鉄の製造システム。
【請求項6】
前記電気炉から排出される排出ガスを回収する、排出ガス回収経路をさらに備え、
前記熱交換器が、前記搬送ガス供給経路と、前記排出ガス回収経路とに亘って設けられる、請求項5に記載の還元鉄の製造システム。
【請求項7】
酸化鉄含有原料を還元して前記還元鉄を製造する、還元鉄製造装置と、
前記還元鉄製造装置と前記粉体導入部との間に位置し、前記還元鉄製造装置から前記粉体導入部へ前記還元鉄を供給する、還元鉄供給経路と、をさらに備える、請求項1に記載の還元鉄の製造システム。
【請求項8】
前記還元鉄の平均粒度D50が、0.001mm以上、10mm以下である、請求項1に記載の還元鉄の製造システム。
【請求項9】
電気炉を用いた還元鉄の製造方法であって、
粉体の還元鉄を搬送ガスとともに前記電気炉内に噴出し、前記還元鉄を前記電気炉内の溶鋼中に投入する、還元鉄の製造方法。
発明の詳細な説明
【技術分野】
【0001】
本発明は、還元鉄の製造システム、および還元鉄の製造方法に関する。
続きを表示(約 2,000 文字)
【背景技術】
【0002】
鉄鋼業からのCO
2
排出量は産業全体のCO
2
排出量の約半分を占めており、その削減が求められている。鉄の生産は、主に高炉を用いた間接還元法で行われる。間接還元法は、原料鉄鉱石を溶融・還元することで鉄を製造するが、CO
2
排出量が多い製造方法として知られている。現状、高炉を用いた間接還元法で行われる鉄の生産は、鉄生産量の大部分を占めている。
【0003】
一方、CO
2
排出量が少ない製鉄法として、直接製鉄法が知られている。直接製鉄法は、天然ガスや石炭等の還元材を用いて、鉄鉱石を固体状態のまま還元し、還元鉄を得る方法である。直接製鉄法によって得られた還元鉄は、その後、例えば電炉に投入されて溶融される。
【0004】
直接製鉄法を用いた還元鉄の製造方法として、例えば、特許文献1には、還元ガスを用いて酸化鉄原料を還元し、還元鉄を製造する還元炉(還元鉄製造装置)と、アーク式還元溶解炉(電気炉)とを備える還元鉄の製造システムにおいて、還元炉で製造した還元鉄をアーク式還元溶解炉に投入してさらに還元および溶解を行って溶鋼を製造する、還元鉄の製造技術が記載されている。
【先行技術文献】
【特許文献】
【0005】
特開2017-088912号公報
【発明の概要】
【発明が解決しようとする課題】
【0006】
特許文献1に開示された還元鉄の製造システムでは、還元炉で製造された還元鉄は直接アーク式還元溶解炉内へと導入されるが、アーク式還元溶解炉内は通常、溶解されたスクラップ等から発生した炉内ガスにより陽圧になっており、溶解炉から外部に向け炉内ガスが噴出している。このため、還元炉から還元鉄をアーク式還元溶解炉に投入する際、粒径が小さい還元鉄の粒子がアーク式還元溶解炉内の溶鋼中に供給されず、全体として歩留まり(収率)が低下するおそれがある。
【0007】
本発明は上記事情に鑑みてなされたものであり、還元鉄を高い歩留まりで得られる還元鉄の製造システム、および還元鉄の製造方法を提供することを課題とする。
【課題を解決するための手段】
【0008】
本発明は、以下の構成を備える。
[1] 粉体の還元鉄を溶融する電気炉と、
前記電気炉に前記還元鉄を投入する、還元鉄投入装置と、を備え、
前記還元鉄投入装置は、前記還元鉄を導入する粉体導入部と、搬送ガスを導入するガス導入部と、前記搬送ガスに同伴された前記還元鉄を噴出する粉体噴出部と、を有する、還元鉄の製造システム。
[2] 前記還元鉄投入装置が、前記電気炉に接続され、
前記粉体噴出部が前記電気炉内に位置する、[1]に記載の還元鉄の製造システム。
[3] 前記ガス導入部と接続され、前記還元鉄投入装置に前記搬送ガスを供給する搬送ガス供給経路を備える、[1]または[2]に記載の還元鉄の製造システム。
[4] 前記搬送ガス供給経路に位置し、前記搬送ガスを加熱する、ガス加熱装置を備える、[3]に記載の還元鉄の製造システム。
[5] 前記ガス加熱装置が、熱交換器である、[4]に記載の還元鉄の製造システム。
[6] 前記電気炉から排出される排出ガスを回収する、排出ガス回収経路をさらに備え、
前記熱交換器が、前記搬送ガス供給経路と、前記排出ガス回収経路とに亘って設けられる、[5]に記載の還元鉄の製造システム。
[7] 酸化鉄含有原料を還元して前記還元鉄を製造する、還元鉄製造装置と、
前記還元鉄製造装置と前記粉体導入部との間に位置し、前記還元鉄製造装置から前記粉体導入部へ前記還元鉄を供給する、還元鉄供給経路と、をさらに備える、[1]~[6]のいずれかに記載の還元鉄の製造システム。
[8] 前記還元鉄の平均粒度D50が、0.001mm以上、10mm以下である、[1]~[7]のいずれかに記載の還元鉄の製造システム。
[9] 電気炉を用いた還元鉄の製造方法であって、
粉体の還元鉄を搬送ガスとともに前記電気炉内に噴出し、前記還元鉄を前記電気炉内の溶鋼中に投入する、還元鉄の製造方法。
【発明の効果】
【0009】
本発明の還元鉄の製造システム、および還元鉄の製造方法によれば、還元鉄を高い歩留まりで得られる。
【図面の簡単な説明】
【0010】
本発明の一実施形態である還元鉄の製造システムの構成の一例を示す模式図である。
本発明の一実施形態である還元鉄の製造システムを構成する還元鉄投入装置の一例を示す模式図である。
【発明を実施するための形態】
(【0011】以降は省略されています)
この特許をJ-PlatPat(特許庁公式サイト)で参照する
関連特許
大陽日酸株式会社
気相成長装置
2か月前
大陽日酸株式会社
インジェクター
2か月前
大陽日酸株式会社
インジェクター
2か月前
大陽日酸株式会社
ドライ洗浄装置
1か月前
大陽日酸株式会社
金属積層造形方法
2か月前
大陽日酸株式会社
CO2の回収方法
1か月前
大陽日酸株式会社
低温ガス発生装置
1か月前
大陽日酸株式会社
転写型シート状接合材
1か月前
大陽日酸株式会社
転写型シート状接合材
1か月前
大陽日酸株式会社
還元剤被覆銅ナノ粒子
1か月前
大陽日酸株式会社
洗浄対象物の洗浄方法
1か月前
大陽日酸株式会社
酸素富化ガスの製造方法
1か月前
大陽日酸株式会社
希釈冷凍機及びその制御方法
1か月前
大陽日酸株式会社
ガス分離方法及びガス分離装置
10日前
大陽日酸株式会社
回転体および回転体の制御方法
2か月前
大陽日酸株式会社
溶接トーチ装置および溶接方法
2か月前
大陽日酸株式会社
基板処理方法及び基板処理装置
25日前
大陽日酸株式会社
ガス分離方法及びガス分離装置
10日前
大陽日酸株式会社
ガス分離方法及びガス分離装置
10日前
大陽日酸株式会社
液分配器、充填塔及び空気分離装置
2か月前
大陽日酸株式会社
液化ガス充填システム及び液化ガスの充填方法
1か月前
大陽日酸株式会社
高炉シャフト部に供給する還元ガスの製造装置
1か月前
大陽日酸株式会社
エピタキシャル膜の製造方法及び気相成長装置
1か月前
大陽日酸株式会社
還元鉄の製造システム、および還元鉄の製造方法
1か月前
大陽日酸株式会社
カバーガスの供給方法及びマグネシウム溶融装置
1か月前
大陽日酸株式会社
混焼専焼バーナの燃焼方法および混焼専焼バーナ
2か月前
大陽日酸株式会社
圧力変動吸着式ガス分離方法及び圧力変動吸着式ガス分離装置
1か月前
大陽日酸株式会社
エピタキシャル膜の製造方法、気相成長装置及びエピタキシャル膜
1か月前
大陽日酸株式会社
還元鉄の製造装置、還元鉄の製造システム、および還元鉄の製造方法
1か月前
個人
高血圧治療用気体状医薬組成物
1か月前
株式会社三井E&S
水素ガス製造装置、水素ガス供給装置、燃料電池システム、移動体、及び水素ガス製造方法
1か月前
個人
バイオ水素製鉄方法
3か月前
新和環境株式会社
炉システム
8か月前
新和環境株式会社
炉システム
8か月前
日本製鉄株式会社
転炉精錬方法
2か月前
株式会社戸畑製作所
高炉用羽口
10か月前
続きを見る
他の特許を見る