TOP
|
特許
|
意匠
|
商標
特許ウォッチ
Twitter
他の特許を見る
10個以上の画像は省略されています。
公開番号
2025152254
公報種別
公開特許公報(A)
公開日
2025-10-09
出願番号
2024054069
出願日
2024-03-28
発明の名称
還元鉄の製造装置、還元鉄の製造システム、および還元鉄の製造方法
出願人
大陽日酸株式会社
代理人
個人
,
個人
,
個人
,
個人
主分類
C21B
13/00 20060101AFI20251002BHJP(鉄冶金)
要約
【課題】均一な還元鉄を高効率で得られる還元鉄の製造装置を提供する。
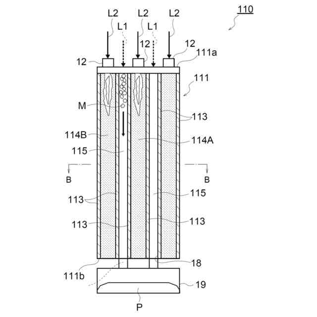
【解決手段】隣接する空間を気密に隔てる炉本体13と、炉本体13によって区画される、1以上の第1空間14と、炉本体13によって区画される、1以上の第2空間15とを有する還元炉11と、第1空間14に燃焼ガスを供給する1以上のバーナ12と、第2空間15に酸化鉄含有原料Mを供給する、原料供給経路L1と、バーナ12に燃料ガスを供給する燃料ガス供給経路L2と、第2空間15に還元ガスを供給する還元ガス供給経路と、を備え、第2空間15に隣接するように第1空間14が配置され、炉本体13を介して第2空間15と第1空間14との間で伝熱する、還元鉄の製造装置10を選択する。
【選択図】図2
特許請求の範囲
【請求項1】
隣接する空間を気密に隔てる炉本体と、
前記炉本体によって区画される、1以上の第1空間と、
前記炉本体によって区画される、1以上の第2空間と、を有する還元炉と、
前記第1空間に燃焼ガスを供給する1以上のバーナと、
前記第2空間に酸化鉄含有原料を供給する、原料供給経路と、
前記バーナに燃料ガスを供給する燃料ガス供給経路と、
前記第2空間に還元ガスを供給する還元ガス供給経路と、を備え、
前記第2空間に隣接するように前記第1空間が配置され、前記炉本体を介して第2空間と前記第1空間との間で伝熱する、還元鉄の製造装置。
続きを表示(約 1,200 文字)
【請求項2】
前記還元炉は、軸方向が鉛直方向上下に延在する竪型炉であり、
前記第1空間および前記第2空間は、それぞれの軸方向が鉛直方向上下に延在する筒状の空間であり、
前記バーナが、前記還元炉の上端に位置し、前記燃焼ガスが前記第1空間の上方から下方に向けて供給され、
前記原料供給経路が、前記第2空間の上方に接続し、前記酸化鉄含有原料が前記第2空間の上方から供給される、請求項1に記載の還元鉄の製造装置。
【請求項3】
前記還元ガス供給経路が、前記第2空間の上方で前記原料供給経路と合流し、
前記酸化鉄含有原料が前記還元ガスに同伴されて前記第2空間の上方から供給される、請求項2に記載の還元鉄の製造装置。
【請求項4】
前記還元ガス供給経路が、前記第2空間の下方に接続し、
前記還元ガスが前記第2空間の下方から供給される、請求項2に記載の還元鉄の製造装置。
【請求項5】
前記第2空間から排出される第1排出ガスを回収する、第1排出ガス回収経路と、
前記第1排出ガス回収経路に位置し、前記第1排出ガスから水分を除去する凝縮器と、
前記第1排出ガス回収経路の前記凝縮器の二次側に位置する昇圧器と、をさらに備え、
前記第1排出ガス回収経路の基端は、前記第2空間を挟んで、前記還元ガス供給経路と反対側の前記第2空間に接続され、
前記第1排出ガス回収経路の先端は、前記還元ガス供給経路と同じ側の前記第2空間に接続される、請求項2に記載の還元鉄の製造装置。
【請求項6】
前記還元炉の軸方向の水平断面を平面視した際、
前記還元炉には、前記第2空間の周囲に、2以上の前記第1空間が隣接して配置される、請求項2に記載の還元鉄の製造装置。
【請求項7】
前記還元炉の軸方向の水平断面を平面視した際、
前記還元炉には、円環状の前記第1空間と前記第2空間とが同心円状に交互に配置される、請求項2に記載の還元鉄の製造装置。
【請求項8】
前記第2空間の下方に、還元鉄の導出口が位置する、請求項2に記載の還元鉄の製造装置。
【請求項9】
請求項1乃至8のいずれか一項に記載の還元鉄の製造装置と、
電気炉と、
前記電気炉から排出される第2排出ガスを回収する、第2排出ガス回収経路と、を備え、
前記第2排出ガス回収経路は、基端が前記電気炉内と連通し、先端が前記燃料ガス供給経路と連通する、還元鉄の製造システム。
【請求項10】
前記還元鉄の製造装置を構成する前記還元炉が、前記電気炉と接続され、
前記還元炉から前記電気炉に、還元鉄が供給される、請求項9に記載の還元鉄の製造システム。
(【請求項11】以降は省略されています)
発明の詳細な説明
【技術分野】
【0001】
本発明は、還元鉄の製造装置、還元鉄の製造システム、および還元鉄の製造方法に関する。
続きを表示(約 1,400 文字)
【背景技術】
【0002】
鉄鋼業からのCO
2
排出量は産業全体のCO
2
排出量の約半分を占めており、その削減が求められている。鉄の生産は、主に高炉を用いた間接還元法で行われる。間接還元法は、原料鉄鉱石を溶融・還元することで鉄を製造するが、CO
2
排出量が多い製造方法として知られている。現状、高炉を用いた間接還元法で行われる鉄の生産は、鉄生産量の大部分を占めている。
【0003】
一方、CO
2
排出量が少ない製鉄法として、直接製鉄法が知られている。直接製鉄法は、天然ガスや石炭等の還元材を用いて、鉄鉱石を固体状態のまま還元し、還元鉄を得る方法である。直接製鉄法によって得られた還元鉄は、その後、例えば電炉に投入されて溶融される。
【0004】
直接製鉄法を用いた還元鉄の製造方法として、例えば、特許文献1には、還元炉の排ガスと天然ガスとを改質器にて改質し、主に一酸化炭素および水素ガスからなる還元ガスを生成し、この還元ガスを還元炉に吹き込むことで還元炉内の酸化鉄を還元して、還元鉄を製造する方法が記載されている。
【0005】
特許文献2には、電気炉から排出されたガスを回収して電気炉の後段で燃焼し、得られた燃焼熱を蓄熱材に蓄熱する技術が記載されている。
【0006】
非特許文献1では、高温の排熱の回収法をエネルギーの質、すなわち「エクセルギー」の観点で比較し、その優位性を議論している。非特許文献1では、エネルギーの有効利用の観点から、高温の排熱は、単に予熱等の顕熱利用に供給するよりも、還元反応等の高温吸熱反応への利用が好ましいと言及されている。
【0007】
先行文献3には、溶解炉、予熱炉、および還元炉を備えた固定型電気炉が開示されている。この固定形電気炉では、溶解炉と予熱炉とが連通しており、溶解炉から予熱炉を介して排出されたガスを回収し、回収したガス中に含まれる未燃焼のCOを還元炉内の空間で燃焼させ、酸化鉄源を還元炉内で予備還元した後に溶解炉に供給する。
【先行技術文献】
【特許文献】
【0008】
特開2017-088912号公報
特開2005-138068号公報
特表2016-509624号公報
【非特許文献】
【0009】
T. Akiyama et al., ISIJ International, Vol. 40 (2000), No. 3, pp. 286-291
【発明の概要】
【発明が解決しようとする課題】
【0010】
直接製鉄法は、間接還元法(高炉)と比べて理論的にCO
2
排出量が少なく、環境負荷が小さい製鉄法であるが、現状ではプロセス全体の生産効率が高炉と比べて劣るため、高効率化が求められている。特許文献1および特許文献2に開示された還元鉄の製造方法では、燃料を部分酸化することで鉄鉱石の還元に必要な熱および還元性ガス(CO等)を得るため、熱エネルギーを十分に利用できず、還元反応には不利である。また、直接製鉄法と組み合わせることが前提の電気炉プロセスにおいて、潜熱や顕熱を含む電気炉からの排ガスが未利用のまま大気中に放出されるため、大きなエネルギーロスが生じる。
(【0011】以降は省略されています)
この特許をJ-PlatPat(特許庁公式サイト)で参照する
関連特許
大陽日酸株式会社
培養装置
2か月前
大陽日酸株式会社
培養装置
2か月前
大陽日酸株式会社
改質方法
2か月前
大陽日酸株式会社
液面センサ
2か月前
大陽日酸株式会社
気相成長装置
1か月前
大陽日酸株式会社
ドライ洗浄装置
22日前
大陽日酸株式会社
インジェクター
1か月前
大陽日酸株式会社
インジェクター
1か月前
大陽日酸株式会社
低温ガス発生装置
20日前
大陽日酸株式会社
CO2の回収方法
1か月前
大陽日酸株式会社
金属積層造形方法
1か月前
大陽日酸株式会社
洗浄対象物の洗浄方法
22日前
大陽日酸株式会社
還元剤被覆銅ナノ粒子
13日前
大陽日酸株式会社
転写型シート状接合材
7日前
大陽日酸株式会社
転写型シート状接合材
7日前
大陽日酸株式会社
酸素富化ガスの製造方法
27日前
大陽日酸株式会社
希釈冷凍機及びその制御方法
16日前
大陽日酸株式会社
溶接トーチ装置および溶接方法
1か月前
大陽日酸株式会社
回転体および回転体の制御方法
1か月前
大陽日酸株式会社
基板処理方法及び基板処理装置
1日前
大陽日酸株式会社
液分配器、充填塔及び空気分離装置
1か月前
大陽日酸株式会社
酸素安定同位体濃縮装置およびその運転方法
2か月前
大陽日酸株式会社
高炉シャフト部に供給する還元ガスの製造装置
1か月前
大陽日酸株式会社
液化ガス充填システム及び液化ガスの充填方法
28日前
大陽日酸株式会社
エピタキシャル膜の製造方法及び気相成長装置
16日前
大陽日酸株式会社
カバーガスの供給方法及びマグネシウム溶融装置
1か月前
大陽日酸株式会社
混焼専焼バーナの燃焼方法および混焼専焼バーナ
1か月前
大陽日酸株式会社
還元鉄の製造システム、および還元鉄の製造方法
28日前
大陽日酸株式会社
圧力変動吸着式ガス分離方法及び圧力変動吸着式ガス分離装置
27日前
大陽日酸株式会社
エピタキシャル膜の製造方法、気相成長装置及びエピタキシャル膜
7日前
大陽日酸株式会社
還元鉄の製造装置、還元鉄の製造システム、および還元鉄の製造方法
28日前
個人
高血圧治療用気体状医薬組成物
9日前
株式会社三井E&S
水素ガス製造装置、水素ガス供給装置、燃料電池システム、移動体、及び水素ガス製造方法
15日前
個人
バイオ水素製鉄方法
2か月前
日本製鉄株式会社
転炉精錬方法
7か月前
日本製鉄株式会社
転炉精錬方法
1か月前
続きを見る
他の特許を見る