TOP
|
特許
|
意匠
|
商標
特許ウォッチ
Twitter
他の特許を見る
公開番号
2025156991
公報種別
公開特許公報(A)
公開日
2025-10-15
出願番号
2024059789
出願日
2024-04-02
発明の名称
洗浄対象物の洗浄方法
出願人
大陽日酸株式会社
,
株式会社メープル
代理人
弁理士法人志賀国際特許事務所
主分類
H01L
21/304 20060101AFI20251007BHJP(基本的電気素子)
要約
【課題】本発明は、洗浄装置および洗浄方法の提供を目的とする。
【解決手段】本発明の洗浄装置は、外上部炉壁体と外底部炉壁体を備えた外壁体と、内上部炉壁体と内底部炉壁体を備えた内壁体を具備した洗浄装置であり、外上部炉壁体と内上部炉壁体が上下に移動自在に設けられ、外上部炉壁体の内側であって内上部炉壁体の外側に加熱源を備え、外壁体の内側の空間であって内壁体の外側の空間にパージガスを供給するパージガス供給手段と、内壁体の内側の空間にエッチングガスを供給するエッチングガス供給手段を備え、外上部炉壁体を外底部炉壁体に接触させて外上部炉壁体を外底部炉壁体に一体化し、外上部炉壁体と外底部炉壁体で構成される外壁体の内側に密閉空間を形成可能、内上部炉壁体を内底部炉壁体に接触させて内上部炉壁体を内底部炉壁体に一体化し、内上部炉壁体と内底部炉壁体で構成される内壁体の内側に密閉空間を形成可能とした。
【選択図】図1
特許請求の範囲
【請求項1】
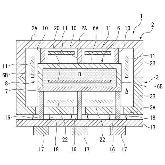
外上部炉壁体と外底部炉壁体を備えた外壁体と、内上部炉壁体と内底部炉壁体を備えた内壁体を具備した2重構造の壁体を備えた洗浄装置であって、
前記外上部炉壁体と前記外底部炉壁体が上下に相対移動自在に設けられ、
前記内上部炉壁体と前記内底部炉壁体が上下に相対移動自在に設けられ、
前記外壁体の内側であって前記内壁体の外側に加熱手段を備え、
前記外壁体の内側の空間であって前記内壁体の外側の空間にパージガスを供給する第1ガス供給手段および前記外壁体の内側の空間からパージガスを排気する第1ガス排気手段と、
前記内壁体の内側の空間にパージガスとエッチングガスの少なくとも一方のガスを供給する第2ガス供給手段および前記内壁体の内側の空間からガスを排気する第2ガス排気手段を備え、
前記外上部炉壁体を前記外底部炉壁体に接触させて前記外上部炉壁体を前記外底部炉壁体に一体化し、前記外上部炉壁体と前記外底部炉壁体で構成される前記外壁体の内側に密閉空間を形成可能であり、
前記内上部炉壁体を前記内底部炉壁体に接触させて前記内上部炉壁体を前記内底部炉壁体に一体化し、前記内上部炉壁体と前記内底部炉壁体で構成される前記内壁体の内側に密閉空間を形成可能とした洗浄装置を用いて行う洗浄対象物の洗浄方法であって、
前記内上部炉壁体と前記内底部炉壁体の間に洗浄対象物を収容し、
前記内上部炉壁体と前記内底部炉壁体を一体化することなく離間した状態で前記外上部炉壁体と前記外底部炉壁体を一体化して密閉した外壁体の内側にパージガスを供給し、前記外上部炉壁体および前記外底部炉壁体の内側空間と、前記内上部炉壁体および前記内底部炉壁体の内側空間にパージガスを満たした後、
前記内上部炉壁体と前記内底部炉壁体を一体化して密閉した前記内壁体の内側の空間にエッチングガスを導入して前記洗浄対象物をエッチングにより洗浄することを特徴とする洗浄対象物の洗浄方法。
続きを表示(約 470 文字)
【請求項2】
前記エッチングの際、前記内壁体の内側空間の圧力より、前記内壁体の外側であって前記外壁体の内側空間の圧力を高くすることを特徴とする請求項1に記載の洗浄対象物の洗浄方法。
【請求項3】
一体化することなく離間した状態の前記内上部炉壁体および前記内底部炉壁体の内側空間と、前記外壁体の内側空間にパージガスを満たした後、これら内側空間の全体を減圧し、減圧後に前記前記内上部炉壁体と前記内底部炉壁体を一体化して前記内壁体の内側空間を密閉し、この密閉後に前記内壁体の内側空間のパージガスをエッチングガスに入れ替えてエッチングすることを特徴とする請求項1または請求項2に記載の洗浄対象物の洗浄方法。
【請求項4】
前記エッチングの後、前記内壁体の内側の密閉空間の圧力と前記内壁体の外側であって前記外壁体の内側空間の圧力を同等に調整後、前記内上部炉壁体と前記内底部炉壁体を離間した状態にするとともに、加熱手段による加熱を停止して冷却することを特徴とする請求項1または請求項2に記載の洗浄対象物の洗浄方法。
発明の詳細な説明
【技術分野】
【0001】
本発明は、洗浄対象物の洗浄方法に関する。
続きを表示(約 2,800 文字)
【背景技術】
【0002】
化合物半導体薄膜を形成する気相成長装置では、原料ガスを供給する流路内に基板を設置し、基板上に化合物半導体を成長する。
気相成長装置において流路を形成する部材には、”デポ”と呼ばれる反応副生成物が付着する。この反応副生成物が流路内に付着した状態で化合物半導体を再度成長すると、反応副生成物が流路内壁から脱離し、反応副生成物が成長中の化合物半導体に取り込まれてしまい、ピットなどと呼ばれる欠陥を形成する。例えば、気相成長装置が窒化ガリウム等の半導体層を堆積する装置である場合、流路内には窒化ガリウムなどの反応副生成物が生成する場合がある。
そのため、気相成長装置において流路を構成する部材(以下反応炉部材と記載)は、化合物半導体の成長毎に洗浄することが望ましい。
【0003】
従来、この種の反応炉部材を洗浄する装置として、以下の特許文献1、2に記載の技術が知られている。
特許文献1には、ドーム部に洗浄対象物を収容し、ドーム部を断熱材で覆い、断熱材の内側に設けた加熱手段でドーム部全体を所望の温度に加熱する構成の洗浄装置が記載されている。この洗浄装置は、ドーム部内に塩素ガスを導入する機構を有し、洗浄対象物に付着している反応副生成物を加熱状態でエッチングすることにより洗浄する機能を有している。
特許文献2には、被処理物を収容した真空容器にハロゲン系ガスを導入して加熱し、被処理物の付着物を除去するとともに、真空容器の内部に別途洗浄液を導入して洗浄液により真空容器の内部を洗浄するドライ洗浄装置が開示されている。
【先行技術文献】
【特許文献】
【0004】
特許第6679413号公報
特開2012-186311号公報
【発明の概要】
【発明が解決しようとする課題】
【0005】
特許文献1、2に記載された従来技術では、洗浄対象物に付着した反応副生成物をエッチングにより除去する際、洗浄装置内への塩化物付着を防止するため、ドーム部の外側あるいは真空炉の外側に電気ヒータを配置したホットウォール構造を採用している。
電気ヒータに通電することでドーム部全体あるいは真空容器の全体を目的の温度に加熱しながら反応生成物をエッチングすることにより、装置内で塩化物の不要な付着を防止できる。
しかしながら、ドーム部全体あるいは真空容器全体を加熱するホットウォール構造を採用すると、装置全体の加熱および冷却のための時間がかかり、洗浄に要する処理時間が長くなってしまう問題がある。
【0006】
処理時間を短縮するためには、洗浄炉を水冷するコールドウォール構造を適用することが好ましい。しかしながら、洗浄炉をコールドウォール構造にすると、洗浄時に発生する反応生成物としての塩化物(塩化ガリウム等)を洗浄炉内に付着残留させてしまうおそれがある。
【0007】
本発明は、前記事情に鑑みなされたものであって、洗浄時間短縮のためのコールドウォール構造を採用可能としながら、塩化物などを洗浄炉内に付着することなく洗浄できるようにした洗浄対象物の洗浄方法の提供を目的とする。
【課題を解決するための手段】
【0008】
本発明は、以下の各態様を採用した。
(1)本発明に係る一形態の洗浄対象物の洗浄方法は、外上部炉壁体と外底部炉壁体を備えた外壁体と、内上部炉壁体と内底部炉壁体を備えた内壁体を具備した2重構造の壁体を備えた洗浄装置であって、前記外上部炉壁体と前記外底部炉壁体が上下に相対移動自在に設けられ、前記内上部炉壁体と前記内底部炉壁体が上下に相対移動自在に設けられ、前記外壁体の内側であって前記内壁体の外側に加熱手段を備え、前記外壁体の内側の空間であって前記内壁体の外側の空間にパージガスを供給する第1ガス供給手段および前記外壁体の内側の空間からパージガスを排気する第1ガス排気手段と、前記内壁体の内側の空間にパージガスとエッチングガスの少なくとも一方のガスを供給する第2ガス供給手段および前記内壁体の内側の空間からガスを排気する第2ガス排気手段を備え、前記外上部炉壁体を前記外底部炉壁体に接触させて前記外上部炉壁体を前記外底部炉壁体に一体化し、前記外上部炉壁体と前記外底部炉壁体で構成される前記外壁体の内側に密閉空間を形成可能であり、前記内上部炉壁体を前記内底部炉壁体に接触させて前記内上部炉壁体を前記内底部炉壁体に一体化し、前記内上部炉壁体と前記内底部炉壁体で構成される前記内壁体の内側に密閉空間を形成可能とした洗浄装置を用いて行う洗浄対象物の洗浄方法であって、前記内上部炉壁体と前記内底部炉壁体の間に洗浄対象物を収容し、前記内上部炉壁体と前記内底部炉壁体を一体化することなく離間した状態で前記外上部炉壁体と前記外底部炉壁体を一体化して密閉した外壁体の内側にパージガスを供給し、前記外上部炉壁体および前記外底部炉壁体の内側空間と、前記内上部炉壁体および前記内底部炉壁体の内側空間にパージガスを満たした後、前記内上部炉壁体と前記内底部炉壁体を一体化して密閉した前記内壁体の内側の空間にエッチングガスを導入して前記洗浄対象物をエッチングにより洗浄することを特徴とする。
【0009】
外上部炉壁体と外底部炉壁体を相対移動させて一体化して外壁体を構成し、外壁体の内側空間にパージガスを供給することで外壁体の内側空間をパージガスで満たすことができる。内上部炉壁体と内底部炉壁体を相対移動させて一体化して内壁体を構成し、内壁体の内側にエッチングガスを供給することで内壁体の内側空間をエッチングガスで満たすことができる。よって、内壁体の内側に反応炉部材などの洗浄対象物を収容しておくことで洗浄対象物に付着している反応副生成物をエッチングにより洗浄することが可能となる。
【0010】
内上部炉壁体と内底部炉壁体を一体化せずにこれらの間の空間を開放しておくと、内上部炉壁体と内底部炉壁体の間の空間をパージガスで素早く満たすことができる。
この後、内上部炉壁体と内底部炉壁体を一体化して内上部炉壁体と内底部炉壁体が囲む空間にエッチングガスを満たし、洗浄対象物を洗浄することができる。
洗浄処理終了後、外上部炉壁体および外底部炉壁体を一体化したまま、内上部炉壁体と内底部炉壁体間の空間を開放することで加熱状態の内上部炉壁体と内底部炉壁体を素早く冷却できる。
これらの時間短縮効果により、洗浄処理1バッチあたりの所要時間を短縮できる。
(【0011】以降は省略されています)
この特許をJ-PlatPat(特許庁公式サイト)で参照する
関連特許
大陽日酸株式会社
インジェクター
2か月前
大陽日酸株式会社
ドライ洗浄装置
1か月前
大陽日酸株式会社
金属積層造形方法
2か月前
大陽日酸株式会社
CO2の回収方法
1か月前
大陽日酸株式会社
低温ガス発生装置
1か月前
大陽日酸株式会社
転写型シート状接合材
1か月前
大陽日酸株式会社
転写型シート状接合材
1か月前
大陽日酸株式会社
還元剤被覆銅ナノ粒子
1か月前
大陽日酸株式会社
洗浄対象物の洗浄方法
1か月前
大陽日酸株式会社
酸素富化ガスの製造方法
1か月前
大陽日酸株式会社
希釈冷凍機及びその制御方法
1か月前
大陽日酸株式会社
ガス分離方法及びガス分離装置
10日前
大陽日酸株式会社
基板処理方法及び基板処理装置
25日前
大陽日酸株式会社
回転体および回転体の制御方法
2か月前
大陽日酸株式会社
ガス分離方法及びガス分離装置
10日前
大陽日酸株式会社
ガス分離方法及びガス分離装置
10日前
大陽日酸株式会社
液分配器、充填塔及び空気分離装置
2か月前
大陽日酸株式会社
エピタキシャル膜の製造方法及び気相成長装置
1か月前
大陽日酸株式会社
液化ガス充填システム及び液化ガスの充填方法
1か月前
大陽日酸株式会社
高炉シャフト部に供給する還元ガスの製造装置
1か月前
大陽日酸株式会社
還元鉄の製造システム、および還元鉄の製造方法
1か月前
大陽日酸株式会社
カバーガスの供給方法及びマグネシウム溶融装置
1か月前
大陽日酸株式会社
混焼専焼バーナの燃焼方法および混焼専焼バーナ
2か月前
大陽日酸株式会社
圧力変動吸着式ガス分離方法及び圧力変動吸着式ガス分離装置
1か月前
大陽日酸株式会社
エピタキシャル膜の製造方法、気相成長装置及びエピタキシャル膜
1か月前
大陽日酸株式会社
還元鉄の製造装置、還元鉄の製造システム、および還元鉄の製造方法
1か月前
個人
高血圧治療用気体状医薬組成物
1か月前
株式会社三井E&S
水素ガス製造装置、水素ガス供給装置、燃料電池システム、移動体、及び水素ガス製造方法
1か月前
APB株式会社
蓄電セル
1か月前
東ソー株式会社
絶縁電線
1か月前
個人
フレキシブル電気化学素子
1か月前
株式会社ユーシン
操作装置
1か月前
株式会社東芝
端子台
1か月前
日新イオン機器株式会社
イオン源
1か月前
ローム株式会社
半導体装置
1か月前
マクセル株式会社
電源装置
1か月前
続きを見る
他の特許を見る