TOP
|
特許
|
意匠
|
商標
特許ウォッチ
Twitter
他の特許を見る
公開番号
2025134293
公報種別
公開特許公報(A)
公開日
2025-09-17
出願番号
2024032116
出願日
2024-03-04
発明の名称
インジェクター
出願人
大陽日酸株式会社
代理人
弁理士法人志賀国際特許事務所
主分類
F27D
3/16 20060101AFI20250909BHJP(炉,キルン,窯;レトルト)
要約
【課題】カーボン源からの摩耗を低減させることが可能なインジェクターを提供する。
【解決手段】カーボン源を吹き込むためのインジェクター10であって、前記カーボン源が搬送される内管13にセラミックスリーブ16が挿入されており、前記セラミックスリーブ16は、カーボン源からの摩耗を低減させる耐摩耗層であることを特徴とする。
【選択図】図1
特許請求の範囲
【請求項1】
カーボン源を吹き込むためのインジェクターであって、前記カーボン源が搬送される内管にセラミックスリーブが挿入されており、前記セラミックスリーブは、カーボン源からの摩耗を低減させる耐摩耗層であることを特徴とするインジェクター。
続きを表示(約 93 文字)
【請求項2】
前記セラミックスリーブは均一形状に成形され、前記インジェクターの内管の内面に均一な耐摩耗層が形成されていることを特徴とする請求項1に記載のインジェクター。
発明の詳細な説明
【技術分野】
【0001】
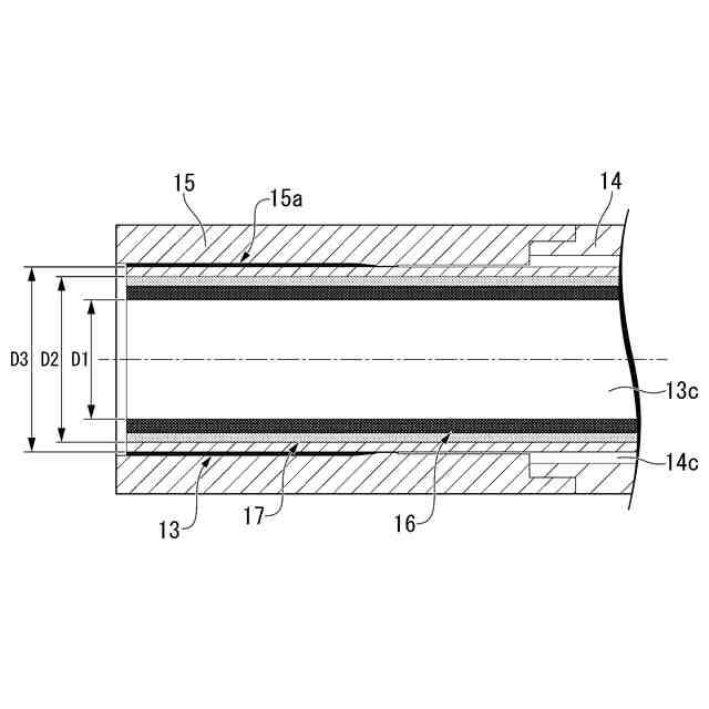
本発明は、冶金炉に対して粉末材料を吹き込むインジェクター内面にセラミックスリーブを施したインジェクターに関する。
続きを表示(約 1,600 文字)
【背景技術】
【0002】
例えば、電気炉にて金属スクラップを熔融して製鋼を行う電気炉製鋼法においては、金属スクラップをカッティングし生産効率を高めるために炉内に酸素を吹き込んでいる。このような場合、スクラップは酸化され歩留りが低下するため、酸化物還元のためカーボン源を炉内に吹き込んでいる。使用されるカーボン源としては様々な種類がある。例えばCDQ(コークス乾式消火:Coke Dry Quenching)コークスと呼ばれる粒径が砂粒程度のもの、微粉炭と呼ばれる粒径が細かいものがある。また近年のカーボンニュートラルの高まりから植物由来のバイオコークや、廃プラスチックをカーボン源として利用する場合もある。
【0003】
カーボン源の吹き込みは、電気炉の側面壁や、正面にある作業口から吹き込み用の金属製ランスパイプを差し込み行われる。カーボン源は通常、供給用の専用機器にて一定量が切り出され、空気又は不活性ガスにて圧力搬送されて炉内へ吹き込まれる。炉内に吹き込まれたカーボン源の一部は酸化したスクラップと接触・還元反応するが、大半は炉内空間で燃焼又は反応せずにそのまま炉内で飛散し、集じんシステムに吸引されてしまうため、通常のランスパイプにおけるカーボン源の吹き込み効率は良くない。
【0004】
この課題の解決方法として、噴流を超音速噴流で保護し、カーボン源の飛散を低減することで効率的に吹き込む金属製インジェクターが周知の技術として存在する(例えば特許文献1参照)。
上記インジェクターは、2つのパーツより構成される。1つは粉末材料の入口とガス入口、および粉末材料とガスの混合物を噴出すための出口を有するチャンバーである。もう1つは上記チャンバー出口に接続するノズルである。このノズルは粉末材料とガスの混合噴流を流すための流路を有し、この噴流を保護するため噴流の周囲に管状に超音速噴流を形成するためのガス入口を有している。上記インジェクターを使用することで、カーボン源の飛散を抑えることが可能であり、従来のランスパイプと比較して20%程度の吹き込み効率向上が確認されている。
【先行技術文献】
【特許文献】
【0005】
米国特許第7641849号明細書
【発明の概要】
【発明が解決しようとする課題】
【0006】
上記インジェクターはカーボン源流路が使用によって徐々に摩耗していき、機器としての性能が低下し、最終的には破損する。このためランニングコスト・メンテナンスコスト削減の観点から機器寿命の延命が課題となっている。
【0007】
本発明は、上記事情に鑑みてなされたものであって、カーボン源からの摩耗を低減させることが可能なインジェクターを提供することを課題とする。
【課題を解決するための手段】
【0008】
上記目的を達成するために、本発明は以下の手段を提供する。
[1] カーボン源を吹き込むためのインジェクターであって、前記カーボン源が搬送される内管にセラミックスリーブが挿入されており、前記セラミックスリーブは、カーボン源からの摩耗を低減させる耐摩耗層であることを特徴とするインジェクター。
[2] 前記セラミックスリーブは均一形状に成形され、前記インジェクターの内管の内面に均一な耐摩耗層が形成されていることを特徴とする[1]に記載のインジェクター。
【発明の効果】
【0009】
本発明によれば、カーボン源からの摩耗を低減させることが可能なインジェクターを提供することができる。
【図面の簡単な説明】
【0010】
インジェクターの一例を示す模式図である。
インジェクター先端部を例示する部分拡大図である。
【発明を実施するための形態】
(【0011】以降は省略されています)
この特許をJ-PlatPat(特許庁公式サイト)で参照する
関連特許
大陽日酸株式会社
改質方法
2か月前
大陽日酸株式会社
液面センサ
2か月前
大陽日酸株式会社
気相成長装置
2か月前
大陽日酸株式会社
ドライ洗浄装置
1か月前
大陽日酸株式会社
インジェクター
2か月前
大陽日酸株式会社
インジェクター
2か月前
大陽日酸株式会社
低温ガス発生装置
1か月前
大陽日酸株式会社
金属積層造形方法
2か月前
大陽日酸株式会社
CO2の回収方法
1か月前
大陽日酸株式会社
洗浄対象物の洗浄方法
1か月前
大陽日酸株式会社
還元剤被覆銅ナノ粒子
1か月前
大陽日酸株式会社
転写型シート状接合材
29日前
大陽日酸株式会社
転写型シート状接合材
29日前
大陽日酸株式会社
酸素富化ガスの製造方法
1か月前
大陽日酸株式会社
希釈冷凍機及びその制御方法
1か月前
大陽日酸株式会社
回転体および回転体の制御方法
2か月前
大陽日酸株式会社
溶接トーチ装置および溶接方法
2か月前
大陽日酸株式会社
ガス分離方法及びガス分離装置
8日前
大陽日酸株式会社
基板処理方法及び基板処理装置
23日前
大陽日酸株式会社
ガス分離方法及びガス分離装置
8日前
大陽日酸株式会社
ガス分離方法及びガス分離装置
8日前
大陽日酸株式会社
液分配器、充填塔及び空気分離装置
2か月前
大陽日酸株式会社
酸素安定同位体濃縮装置およびその運転方法
2か月前
大陽日酸株式会社
高炉シャフト部に供給する還元ガスの製造装置
1か月前
大陽日酸株式会社
エピタキシャル膜の製造方法及び気相成長装置
1か月前
大陽日酸株式会社
液化ガス充填システム及び液化ガスの充填方法
1か月前
大陽日酸株式会社
還元鉄の製造システム、および還元鉄の製造方法
1か月前
大陽日酸株式会社
カバーガスの供給方法及びマグネシウム溶融装置
1か月前
大陽日酸株式会社
混焼専焼バーナの燃焼方法および混焼専焼バーナ
2か月前
大陽日酸株式会社
圧力変動吸着式ガス分離方法及び圧力変動吸着式ガス分離装置
1か月前
大陽日酸株式会社
エピタキシャル膜の製造方法、気相成長装置及びエピタキシャル膜
29日前
大陽日酸株式会社
還元鉄の製造装置、還元鉄の製造システム、および還元鉄の製造方法
1か月前
個人
高血圧治療用気体状医薬組成物
1か月前
株式会社三井E&S
水素ガス製造装置、水素ガス供給装置、燃料電池システム、移動体、及び水素ガス製造方法
1か月前
株式会社サンコー
浸漬ヒーター
2か月前
東京窯業株式会社
セッター
6か月前
続きを見る
他の特許を見る