TOP
|
特許
|
意匠
|
商標
特許ウォッチ
Twitter
他の特許を見る
10個以上の画像は省略されています。
公開番号
2025154604
公報種別
公開特許公報(A)
公開日
2025-10-10
出願番号
2024057703
出願日
2024-03-29
発明の名称
圧力変動吸着式ガス分離方法及び圧力変動吸着式ガス分離装置
出願人
大陽日酸株式会社
代理人
弁理士法人志賀国際特許事務所
主分類
B01D
53/047 20060101AFI20251002BHJP(物理的または化学的方法または装置一般)
要約
【課題】本発明は、易吸着成分あるいは難吸着成分を高濃度かつ高回収率で回収し、高付加価値ガスの純度向上と回収率向上する技術を提供することを目的とする。
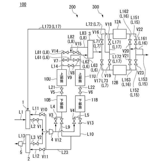
【解決手段】原料ガスとして、第1の吸着剤に対して易吸着性である易吸着成分と、第1の吸着剤に対して難吸着性である難吸着成分を含むガスを用い、第1の吸着剤を充填した下部筒10B、11B及び上部筒10U、11Uと、原料ガスを貯留する原料ガス貯留槽1と、易吸着成分を貯留する易吸着成分貯留槽2を備えた分離装置200と、第2の吸着剤を充填した精製筒12A、12Bと、を用いて、原料ガスから易吸着成分と難吸着成分とを回収する圧力変動吸着式ガス分離方法であって、分離装置200から導出された難吸着成分を、精製筒12A、12Bに導入して分離する分離工程を備えることを特徴とする圧力変動吸着式ガス分離方法
【選択図】図1
特許請求の範囲
【請求項1】
原料ガスとして、第1の吸着剤に対して易吸着性である易吸着成分と、前記第1の吸着剤に対して難吸着性である難吸着成分を含むガスを用い、
前記第1の吸着剤を充填した下部筒及び上部筒と、原料ガスを貯留する原料ガス貯留槽と、前記易吸着成分を貯留する易吸着成分貯留槽を備えた分離装置と、
前記易吸着性成分に易吸着性であり、かつ、前記難吸着成分に難吸着性の第2の吸着剤を充填した精製筒と、を用いて、
前記原料ガスから前記易吸着成分と前記難吸着成分とを回収する圧力変動吸着式ガス分離方法であって、
前記分離装置から導出されたガスを、前記精製筒に導入して分離する分離工程を備えることを特徴とする圧力変動吸着式ガス分離方法。
続きを表示(約 680 文字)
【請求項2】
前記分離工程は、
前記分離装置から導出されたガス中の易吸着成分を前記第2の吸着剤に吸着させる工程と、
前記第2の吸着剤に吸着した易吸着成分を脱着させる工程と、を含む、
ことを特徴とする請求項1に記載の圧力変動吸着式ガス分離方法。
【請求項3】
前記第2の吸着剤を加熱して、前記第2の吸着剤に吸着した易吸着成分を脱着させることを特徴とする請求項2に記載の圧力変動吸着式ガス分離方法。
【請求項4】
第1の吸着剤に対して易吸着性である易吸着成分と、前記第1の吸着剤に対して難吸着性である難吸着成分を含む原料ガスを分離する圧力変動吸着式ガス分離装置であって、
前記第1の吸着剤を充填した下部筒及び上部筒と、前記原料ガスを貯留する原料ガス貯留槽と、前記易吸着成分を貯留する易吸着成分貯留槽と、を備えた分離装置と、
前記易吸着性成分に易吸着性であり、かつ、前記難吸着成分に難吸着性の第2の吸着剤を充填した精製筒と、
前記分離装置から導出されたガスを前記精製筒に導入する管路と、
を備えることを特徴とする圧力変動吸着式ガス分離装置。
【請求項5】
前記精製筒から導出したガスを、前記原料ガス貯留槽に導出する管路を備えることを特徴とする請求項4に記載の圧力変動吸着式ガス分離装置。
【請求項6】
前記第2の吸着剤を加熱するための加熱手段が備わっていることを特徴とする請求項4又は請求項5に記載の圧力変動吸着式ガス分離装置。
発明の詳細な説明
【技術分野】
【0001】
本発明は、圧力変動吸着式ガス分離方法及び圧力変動吸着式ガス分離装置に関する。
続きを表示(約 2,300 文字)
【背景技術】
【0002】
一般に、半導体集積回路、液晶パネル、太陽電池パネル、磁気ディスク等の半導体製品を製造する工程では、希ガス雰囲気中で高周波放電により発生させたプラズマによって各種処理が行われる。近年は、より高度な処理を行うためにクリプトンやキセノンが注目され、今後も需要増加が見込まれる。
【0003】
しかしながら、クリプトンやキセノンは大型の深冷空気分離装置から副成物として製造されるが、大気中の存在比が低く、製造プラント数も少ないため、供給量は限られる。また副成物としての性質上、増産が難しい。このような事情から、クリプトンやキセノンは、近年供給不足の傾向があり、元来極めて高価なガスであるが、さらに価格が高騰している。
【0004】
混合ガスから目的成分を回収する方法として、圧力変動吸着分離(Pressure Swing Adsorption;PSA)法が知られる。特許文献1には、PSA法によって、キセノンと窒素の混合ガスから、キセノンを濃度99.9%、回収率99.99%で回収できることが示されている。
【先行技術文献】
【特許文献】
【0005】
特開2006‐61831号公報
【発明の概要】
【発明が解決しようとする課題】
【0006】
上述したように、クリプトンやキセノンは高額化が進んでおり、雰囲気ガスとして使用した後、外部に放出することは、著しいコスト増大の問題を招く。
したがって、このような高価なガスを使用するプロセスを経済的に成り立たせるためには、使用済みの希ガスを回収率99% 以上で回収し、循環使用することが極めて重要となる。
ちなみに、半導体製品、表示装置等の製造設備からの排ガスは、主として雰囲気ガスと該製造設備の真空排気時に導入されるパージガスからなる。
【0007】
一方で、高付加価値ガスを広く経済的に利用するためには、市販される品質(例えば99.99%以上)まで高純度化させる必要があり、また、高回収率も求められる。
しかし、特許文献1に提案される方法は、高付加価値ガスの純度と回収率は相反する関係を有しているため、高付加価値ガスの純度をより向上されると回収率が低下し、回収率を向上させると高付加価値ガスの純度が低下する。
【0008】
このように、高付加価値ガスの更なる回収率の向上が求められる中、従来技術によっては、易吸着成分あるいは難吸着成分を高濃度かつ高回収率で回収し、高付加価値ガスの純度向上と回収率向上することが、両立できなかった。
本発明は、易吸着成分あるいは難吸着成分を高濃度かつ高回収率で回収し、高付加価値ガスの純度向上と回収率向上する技術を提供することを目的とする。
【課題を解決するための手段】
【0009】
上記課題を解決するため、本発明は以下の手段を提供する。
[1] 原料ガスとして、第1の吸着剤に対して易吸着性である易吸着成分と、前記第1の吸着剤に対して難吸着性である難吸着成分を含むガスを用い、
前記第1の吸着剤を充填した下部筒及び上部筒と、原料ガスを貯留する原料ガス貯留槽と、前記易吸着成分を貯留する易吸着成分貯留槽を備えた分離装置と、
前記易吸着性成分に易吸着性であり、かつ、前記難吸着成分に難吸着性の第2の吸着剤を充填した精製筒と、を用いて、
前記原料ガスから前記易吸着成分と前記難吸着成分とを回収する圧力変動吸着式ガス分離方法であって、
前記分離装置から導出されたガスを、前記精製筒に導入して分離する分離工程を備えることを特徴とする圧力変動吸着式ガス分離方法。
[2] 前記分離工程は、
前記分離装置から導出されたガス中の易吸着成分を前記第2の吸着剤に吸着させる工程と、
前記第2の吸着剤に吸着した易吸着成分を脱着させる工程と、を含む、
ことを特徴とする[1]に記載の圧力変動吸着式ガス分離方法。
[3] 前記第2の吸着剤を加熱して、前記第2の吸着剤に吸着した易吸着成分を脱着させることを特徴とする[2]に記載の圧力変動吸着式ガス分離方法。
[4] 第1の吸着剤に対して易吸着性である易吸着成分と、前記第1の吸着剤に対して難吸着性である難吸着成分を含む原料ガスを分離する圧力変動吸着式ガス分離装置であって、
前記第1の吸着剤を充填した下部筒及び上部筒と、前記原料ガスを貯留する原料ガス貯留槽と、前記易吸着成分を貯留する易吸着成分貯留槽と、を備えた分離装置と、
前記易吸着性成分に易吸着性であり、かつ、前記難吸着成分に難吸着性の第2の吸着剤を充填した精製筒と、
前記分離装置から導出されたガスを前記精製筒に導入する管路と、
を備えることを特徴とする圧力変動吸着式ガス分離装置。
[5] 前記精製筒から導出したガスを、前記原料ガス貯留槽に導出する管路を備えることを特徴とする[4]に記載の圧力変動吸着式ガス分離装置。
[6] 前記第2の吸着剤を加熱するための加熱手段が備わっていることを特徴とする[4]に記載の圧力変動吸着式ガス分離装置。
【発明の効果】
【0010】
本発明によれば、易吸着成分あるいは難吸着成分を高濃度かつ高回収率で回収し、高付加価値ガスの純度向上と回収率向上を達成することができる。
【図面の簡単な説明】
(【0011】以降は省略されています)
この特許をJ-PlatPat(特許庁公式サイト)で参照する
関連特許
大陽日酸株式会社
気相成長装置
2か月前
大陽日酸株式会社
インジェクター
2か月前
大陽日酸株式会社
インジェクター
2か月前
大陽日酸株式会社
ドライ洗浄装置
1か月前
大陽日酸株式会社
金属積層造形方法
2か月前
大陽日酸株式会社
CO2の回収方法
1か月前
大陽日酸株式会社
低温ガス発生装置
1か月前
大陽日酸株式会社
転写型シート状接合材
1か月前
大陽日酸株式会社
転写型シート状接合材
1か月前
大陽日酸株式会社
還元剤被覆銅ナノ粒子
1か月前
大陽日酸株式会社
洗浄対象物の洗浄方法
1か月前
大陽日酸株式会社
酸素富化ガスの製造方法
1か月前
大陽日酸株式会社
希釈冷凍機及びその制御方法
1か月前
大陽日酸株式会社
ガス分離方法及びガス分離装置
10日前
大陽日酸株式会社
回転体および回転体の制御方法
2か月前
大陽日酸株式会社
溶接トーチ装置および溶接方法
2か月前
大陽日酸株式会社
基板処理方法及び基板処理装置
25日前
大陽日酸株式会社
ガス分離方法及びガス分離装置
10日前
大陽日酸株式会社
ガス分離方法及びガス分離装置
10日前
大陽日酸株式会社
液分配器、充填塔及び空気分離装置
2か月前
大陽日酸株式会社
液化ガス充填システム及び液化ガスの充填方法
1か月前
大陽日酸株式会社
高炉シャフト部に供給する還元ガスの製造装置
1か月前
大陽日酸株式会社
エピタキシャル膜の製造方法及び気相成長装置
1か月前
大陽日酸株式会社
還元鉄の製造システム、および還元鉄の製造方法
1か月前
大陽日酸株式会社
カバーガスの供給方法及びマグネシウム溶融装置
1か月前
大陽日酸株式会社
混焼専焼バーナの燃焼方法および混焼専焼バーナ
2か月前
大陽日酸株式会社
圧力変動吸着式ガス分離方法及び圧力変動吸着式ガス分離装置
1か月前
大陽日酸株式会社
エピタキシャル膜の製造方法、気相成長装置及びエピタキシャル膜
1か月前
大陽日酸株式会社
還元鉄の製造装置、還元鉄の製造システム、および還元鉄の製造方法
1か月前
個人
高血圧治療用気体状医薬組成物
1か月前
株式会社三井E&S
水素ガス製造装置、水素ガス供給装置、燃料電池システム、移動体、及び水素ガス製造方法
1か月前
株式会社西部技研
除湿装置
1か月前
株式会社日本触媒
ドロー溶質
1か月前
プライミクス株式会社
攪拌装置
10日前
日本バイリーン株式会社
フィルタ
24日前
サンノプコ株式会社
消泡剤
1か月前
続きを見る
他の特許を見る