TOP
|
特許
|
意匠
|
商標
特許ウォッチ
Twitter
他の特許を見る
公開番号
2025151397
公報種別
公開特許公報(A)
公開日
2025-10-09
出願番号
2024052799
出願日
2024-03-28
発明の名称
CO2分離システム
出願人
パナソニックIPマネジメント株式会社
代理人
個人
,
個人
主分類
B01D
53/22 20060101AFI20251002BHJP(物理的または化学的方法または装置一般)
要約
【課題】CO
2
分離を行いつつ対象空間のCO
2
濃度を急速に低下させるCO
2
分離システムを提供する。
【解決手段】CO
2
分離システム1は、流通する空気からCO
2
を分離するCO
2
分離部を備えるCO
2
分離システムであって、屋内における対象空間内の空気をCO
2
分離部に流通させ、CO
2
濃度が低減した空気を対象空間に送風する第一状態と、対象空間の換気を行う第二状態と、を有し、第一状態と第二状態の制御を行う制御部5を備える。CO
2
分離部は、対象空間内の空気のCO
2
濃度の増加に伴ってCO
2
分離能力を増加させるように動作する。制御部5は、CO
2
分離部におけるCO
2
分離能力の基準値に達するまでは第一状態での運転を行い、CO
2
分離能力の基準値を超えた場合に、第一状態及び第二状態を組み合わせて運転させる。
【選択図】図1
特許請求の範囲
【請求項1】
流通する空気からCO
2
を分離するCO
2
分離部を備えるCO
2
分離システムであって、
屋内における対象空間内の空気を前記CO
2
分離部に流通させ、CO
2
濃度が低減した空気を前記対象空間に送風する第一状態と、
前記対象空間の換気を行う第二状態と、を有し、
前記第一状態と前記第二状態の制御を行う制御部を備え、
前記CO
2
分離部は、前記対象空間内の空気のCO
2
濃度の増加に伴ってCO
2
分離能力を増加させるように動作し、
前記制御部は、
前記CO
2
分離部における前記CO
2
分離能力の基準値に達するまでは前記第一状態での運転を行い、
前記CO
2
分離能力の前記基準値を超えた場合に、前記第一状態及び前記第二状態を組み合わせて運転させる、
CO
2
分離システム。
続きを表示(約 1,200 文字)
【請求項2】
前記制御部は、
前記基準値を超えた場合に、前記第一状態での送風量を抑制し、前記第二状態での送風を開始する、
請求項1に記載のCO
2
分離システム。
【請求項3】
前記制御部は、
前記基準値を超えた場合に、前記第一状態での送風量は前記基準値に達するまでの送風量を維持し、前記第二状態での送風量を増加させる、
請求項1に記載のCO
2
分離システム。
【請求項4】
内部に前記CO
2
分離部を有する筐体と、
外気を前記筐体内に流入させる外気風路と、
前記筐体内を流通した空気を前記筐体外に排出する排気風路と、
前記対象空間の空気を前記筐体内に流入させる還気風路と、
前記筐体内を流通した空気を前記対象空間に通風する給気風路と、を備え、
前記制御部は、
前記第一状態では、前記外気風路と前記排気風路とを前記CO
2
分離部を介して連通接続し、且つ、前記還気風路と前記給気風路とを前記CO
2
分離部を介して連通接続し、
前記第二状態では、前記外気風路と前記給気風路とを連通接続し、且つ、前記還気風路と前記排気風路とを連通接続する、
請求項1に記載のCO
2
分離システム。
【請求項5】
前記外気風路と前記給気風路との間に設置され、流通する空気の流量を調整可能な第一接続部と、
前記還気風路と前記排気風路との間に設置され、流通する空気の流量を調整可能な第二接続部と、を備え、
前記制御部は、
前記基準値に達するまでは、前記第一接続部及び前記第二接続部を閉止し、
前記基準値を超えた場合に、前記対象空間内のCO
2
濃度に応じて前記第一接続部及び前記第二接続部の開度を調整し、前記第二状態での送風を行う、
請求項4に記載のCO
2
分離システム。
【請求項6】
前記還気風路から前記給気風路へ送風させる内気ファンと、
前記還気風路から前記排気風路へ送風させる排気ファンと、を備え、
前記制御部は、
前記CO
2
分離部における前記CO
2
分離能力の前記基準値を超えた場合に、
前記内気ファンの送風量は維持しつつ前記排気ファンの動作を開始する、
請求項4に記載のCO
2
分離システム。
【請求項7】
前記第二状態では、
前記外気風路から前記給気風路に送風される第一空気と、前記還気風路から前記排気風路に送風される第二空気と、の間で熱交換が行われる、
請求項4に記載のCO
2
分離システム。
発明の詳細な説明
【技術分野】
【0001】
本発明は、対象空間の空気からCO
2
を分離するCO
2
分離システムに関する。
続きを表示(約 2,100 文字)
【背景技術】
【0002】
閉鎖された空間単位の空気中における二酸化炭素(CO
2
)の濃度を低減させるために、空間単位の空気がパージガス膜システムに供給される。パージガス膜システムでは、CO
2
が優先的に膜モジュールを通過するので、CO
2
が低減した空気が残留する。残留した空気は空間単位に再び戻される(例えば、特許文献1参照)。
【先行技術文献】
【特許文献】
【0003】
特表2006-512946号公報
【発明の概要】
【発明が解決しようとする課題】
【0004】
CO
2
分離システムは、CO
2
を分離するモジュールを有し、対象空間内の空気からCO
2
を分離し、対象空間へ戻すことで、閉鎖された対象空間の空気中における二酸化炭素(CO
2
)濃度を低減する。このようなCO
2
分離システムでは、CO
2
濃度の低減はモジュールのCO
2
分離能力に依存するため、対象空間のCO
2
濃度が急速に増加した場合にCO
2
濃度を速やかに低減することが困難であるという課題があった。
【課題を解決するための手段】
【0005】
上記課題を解決するために、本発明のCO
2
分離システムは、流通する空気からCO
2
を分離するCO
2
分離部を備えるCO
2
分離システムであって、屋内における対象空間内の空気をCO
2
分離部に流通させ、CO
2
濃度が低減した空気を対象空間に送風する第一状態と、対象空間の換気を行う第二状態と、を有し、第一状態と第二状態の制御を行う制御部を備える。CO
2
分離部は、対象空間内の空気のCO
2
濃度の増加に伴ってCO
2
分離能力を増加させるように動作し、制御部は、CO
2
分離部におけるCO
2
分離能力の基準値に達するまでは第一状態での運転を行い、CO
2
分離能力の基準値を超えた場合に、第一状態及び第二状態を組み合わせて運転させる。これにより所期の目的を達成するものである。
【発明の効果】
【0006】
本発明のCO
2
分離システムによれば、熱損失を抑制しつつ対象空間のCO
2
濃度を速やかに低減できる。
【図面の簡単な説明】
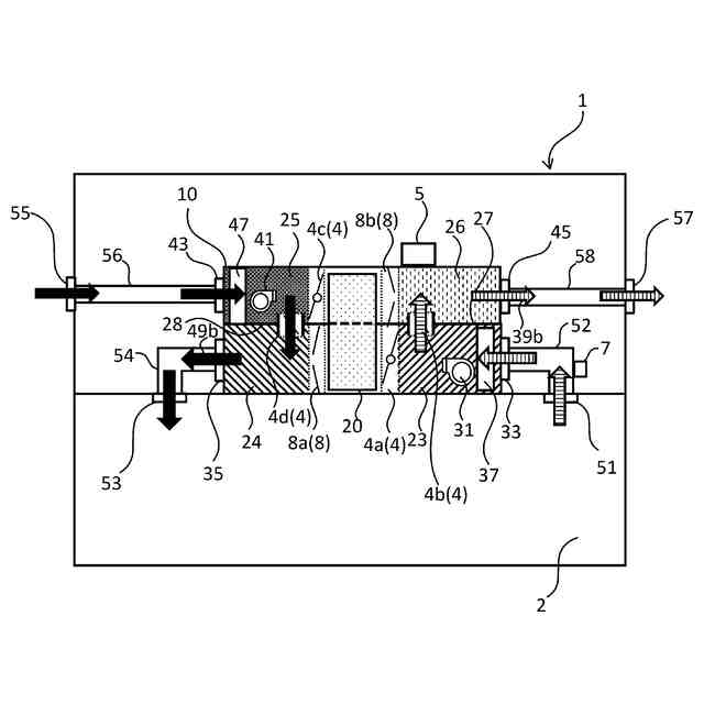
【0007】
図1は、実施の形態1に係るCO
2
分離システムの模式図である。
図2は、図1のCO
2
分離素子の概要を示す図である。
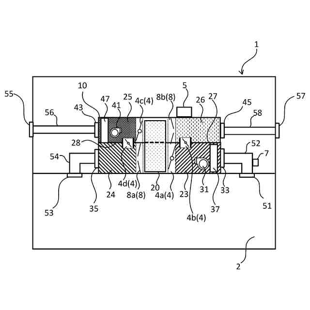
図3は、実施の形態1での第一状態における空気の流れを示す図である。
図4は、実施の形態1での第二状態における空気の流れを示す図である。
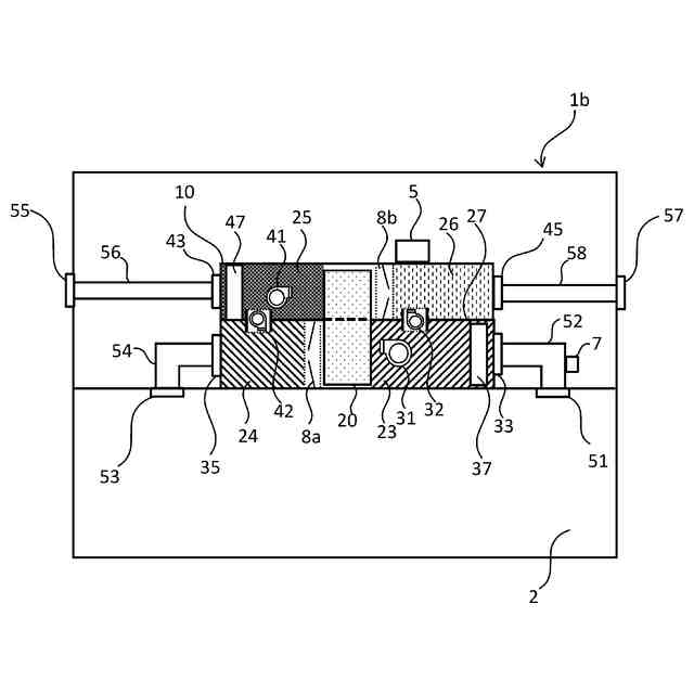
図5は、実施の形態2に係るCO
2
分離システムの模式図である。
図6は、実施の形態2での第一状態における空気の流れを示す図である。
図7は、実施の形態2での第二状態における空気の流れを示す図である。
【発明を実施するための形態】
【0008】
以下、本発明の実施の形態について図面を参照しながら説明する。なお、以下の実施の
形態は、本発明を具体化した一例であって、本発明の技術的範囲を限定するものではない。また、実施形態において説明する各図は模式的な図であり、各図中の各構成要素の大きさ及び厚さそれぞれの比が必ずしも実際の寸法比を反映しているとは限らない。
【0009】
(実施の形態1)
図1を参照して、本実施の形態に係るCO
2
分離システム1について説明する。図1は、実施の形態1に係るCO
2
分離システムの模式図である。
【0010】
図1に示すように、住宅等の建物2の屋内には、CO
2
分離システム1が設置されている。CO
2
分離システム1は、屋内の対象空間の空気から対象気体(例えば、CO
2
等)を除去する装置である。CO
2
分離システム1は、筐体10と、CO
2
分離素子20と、内気ファン31と、内気フィルタ37と、外気ファン41と、外気フィルタ47と、流量調整部4と総称される第1流量調整部4a、第2流量調整部4b、第3流量調整部4c、及び第4流量調整部4dと、制御部5と、内気CO
2
濃度検知部7と、逆流抑制部8と総称される第1逆流抑制部8a及び第2逆流抑制部8bと、を含んで構成される。
(【0011】以降は省略されています)
この特許をJ-PlatPat(特許庁公式サイト)で参照する
関連特許
ユニチカ株式会社
複合中空糸膜
8日前
東レ株式会社
中空糸膜モジュール
7日前
株式会社ニクニ
液体処理装置
21日前
日本化薬株式会社
メタノール改質触媒
22日前
株式会社大善
濃縮脱水機
1か月前
テルモ株式会社
ろ過デバイス
1か月前
株式会社MRT
微細バブル発生装置
11日前
日本ソリッド株式会社
水中懸濁物質付着素材
1か月前
個人
攪拌装置
11日前
株式会社笹山工業所
濁水処理システム
11日前
東京理化器械株式会社
クリップ
15日前
株式会社切川物産
撹拌混合装置
1か月前
ヤマシンフィルタ株式会社
フィルタ装置
9日前
ヤマシンフィルタ株式会社
フィルタ装置
29日前
大和ハウス工業株式会社
反応装置
1日前
ノリタケ株式会社
ガス吸収シート
22日前
ダイハツ工業株式会社
二酸化炭素分解装置
1か月前
本田技研工業株式会社
ガス回収装置
3日前
大陽日酸株式会社
CO2の回収方法
3日前
杉山重工株式会社
回転円筒型反応装置
11日前
中外炉工業株式会社
ガス発生装置及び窒化装置
1か月前
東レ株式会社
多孔中実繊維、繊維束および浄化カラム
1か月前
個人
生分解性蓄熱マイクロカプセルおよびその製造方法
1か月前
本田技研工業株式会社
二酸化炭素回収装置
7日前
本田技研工業株式会社
二酸化炭素回収装置
1日前
ノリタケ株式会社
触媒材料およびその利用
1日前
ノリタケ株式会社
触媒材料およびその利用
1日前
ノリタケ株式会社
触媒材料およびその利用
1日前
本田技研工業株式会社
二酸化炭素回収装置
1日前
本田技研工業株式会社
二酸化炭素回収装置
1日前
株式会社インパクト
消臭剤又は消臭紙の製造方法
14日前
本田技研工業株式会社
二酸化炭素回収装置
3日前
本田技研工業株式会社
二酸化炭素回収装置
9日前
靜甲株式会社
高圧損発生ユニット並びに充填装置
29日前
本田技研工業株式会社
二酸化炭素回収装置
1日前
本田技研工業株式会社
分離システム
11日前
続きを見る
他の特許を見る