TOP
|
特許
|
意匠
|
商標
特許ウォッチ
Twitter
他の特許を見る
公開番号
2025150832
公報種別
公開特許公報(A)
公開日
2025-10-09
出願番号
2024051959
出願日
2024-03-27
発明の名称
焼却灰処理装置および焼却灰処理方法
出願人
JFEエンジニアリング株式会社
代理人
弁理士法人酒井国際特許事務所
主分類
B09B
5/00 20060101AFI20251002BHJP(固体廃棄物の処理;汚染土壌の再生)
要約
【課題】焼却灰を貯留する灰貯留設備において焼却灰からの重金属の溶出を抑制すること。
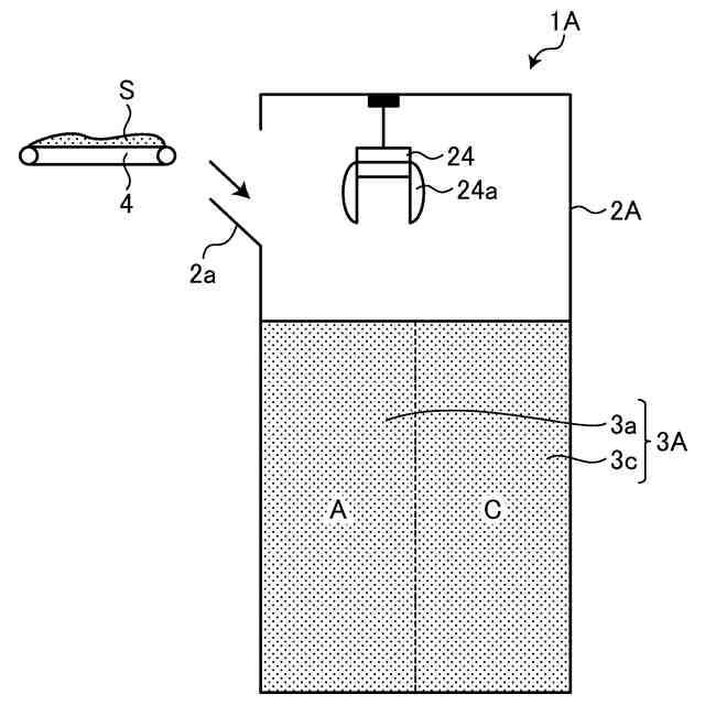
【解決手段】廃棄物が焼却されて得られた焼却灰を貯留可能に構成された焼却灰貯留手段と、焼却灰を移動可能に構成された把持手段と、把持手段の動作を制御するとともに把持手段の動作を記憶する制御手段と、を備え、制御手段は、焼却灰貯留手段に貯留された焼却灰が焼却灰貯留手段に搬入された時点から経過した滞留時間が、所定の滞留時間になるように把持手段を制御する。
【選択図】図1
特許請求の範囲
【請求項1】
廃棄物が焼却されて得られた焼却灰を貯留可能に構成された焼却灰貯留手段と、
前記焼却灰を移動可能に構成された把持手段と、
前記把持手段の動作を制御するとともに前記把持手段の動作を記憶する制御手段と、を備え、
前記制御手段は、
前記焼却灰貯留手段に貯留された前記焼却灰が前記焼却灰貯留手段に搬入された時点から経過した滞留時間が、所定の滞留時間になるように前記把持手段を制御する
焼却灰処理装置。
続きを表示(約 1,200 文字)
【請求項2】
前記焼却灰貯留手段に貯留された前記焼却灰の周辺の雰囲気状態を計測する雰囲気計測手段をさらに備え、
前記制御手段は、
前記雰囲気計測手段から取得した前記雰囲気状態の計測値に基づいて、前記焼却灰貯留手段に貯留された前記焼却灰の含水率を導出し、
前記含水率に基づいて、前記所定の滞留時間を導出する
請求項1に記載の焼却灰処理装置。
【請求項3】
前記制御手段は、
前記焼却灰貯留手段に貯留された前記焼却灰を、複数の領域に区分けして設定し、
前記複数の領域のそれぞれの領域において、前記焼却灰の滞留時間が前記所定の滞留時間以上となった領域に貯留された焼却灰を搬出するように、前記把持手段を制御する
請求項1に記載の焼却灰処理装置。
【請求項4】
前記制御手段は、
前記複数の領域のうちの、焼却灰が搬出された領域に対して、焼却灰の滞留時間が前記所定の滞留時間以下の焼却灰が貯留されている領域における焼却灰を、前記焼却灰が搬出された領域に移動させる制御を行う
請求項3に記載の焼却灰処理装置。
【請求項5】
廃棄物が焼却されて得られた焼却灰を貯留可能に構成された焼却灰貯留手段と、
前記焼却灰を移動可能に構成された把持手段と、
前記把持手段の動作を制御するとともに前記把持手段の動作を記憶する制御手段と、を備えた焼却灰処理装置において実行される焼却灰処理方法であって、
前記焼却灰貯留手段に貯留された前記焼却灰に関して、前記焼却灰貯留手段に搬入された時点から経過した滞留時間が所定の滞留時間になるように、前記把持手段を制御する
焼却灰処理方法。
【請求項6】
前記焼却灰処理装置は、前記焼却灰貯留手段に貯留された前記焼却灰の周辺の雰囲気状態を計測する雰囲気計測手段をさらに備え、
前記制御手段は、
前記雰囲気計測手段から取得した前記雰囲気状態の計測値に基づいて、前記焼却灰貯留手段に貯留された前記焼却灰の含水率を導出し、
前記含水率に基づいて、前記所定の滞留時間を導出する
請求項5に記載の焼却灰処理方法。
【請求項7】
前記焼却灰貯留手段に貯留された前記焼却灰を、複数の領域に区分けして設定し、
前記複数の領域のそれぞれの領域において、前記焼却灰の滞留時間が前記所定の滞留時間以上となった領域に貯留された焼却灰を搬出するように、前記把持手段を制御する
請求項5に記載の焼却灰処理方法。
【請求項8】
前記複数の領域のうちの、焼却灰が搬出された領域に対して、焼却灰の滞留時間が前記所定の滞留時間以下の焼却灰が貯留されている領域における焼却灰を、前記焼却灰が搬出された領域に移動させる制御を行う
請求項7に記載の焼却灰処理方法。
発明の詳細な説明
【技術分野】
【0001】
本発明は、焼却灰処理装置および焼却灰処理方法に関する。
続きを表示(約 1,500 文字)
【背景技術】
【0002】
例えば特許文献1には、焼却灰に含まれる重金属類の溶出量が基準値未満になる第一水分率となるように焼却灰に水を含ませる加水手段としての水噴射ノズルと、焼却灰の飛散防止を目的に定められる第二水分率となるように水噴射ノズルによって湿潤状態とされた焼却灰を乾燥する乾燥手段としての吹込管とを備える焼却灰処理装置が開示されている。
【先行技術文献】
【特許文献】
【0003】
特開2021-30121号公報
【発明の概要】
【発明が解決しようとする課題】
【0004】
特許文献1には、加水工程と乾燥工程とによって、灰の含水率を所望の含水率に調整する方法が提案されている。しかしながら、上述した従来技術においては、焼却灰などの灰を貯留する灰ピットなどの灰貯留設備における灰の管理方法については検討されていない。そのため、焼却灰などから溶出する可能性がある鉛(Pb)などの重金属の溶出を抑制する効果を得ることが極めて困難である。
【0005】
すなわち、灰貯留設備に貯留されている加水後の焼却灰の含水率や貯留時間について検討されていないため、焼却灰の主灰から水分が蒸発することによって主灰が乾燥してしまい、重金属の溶出を抑制することが困難になるという問題がある。そのため、焼却灰処理装置において、焼却灰を貯留する灰ピットなどの灰貯留設備において焼却灰からの重金属の溶出を抑制することが可能な技術が求められていた。
【0006】
本発明は、上記に鑑みてなされたものであって、その目的は、焼却灰を貯留する灰貯留設備において焼却灰からの重金属の溶出を抑制することができる焼却灰処理装置および焼却灰処理方法を提供することにある。
【課題を解決するための手段】
【0007】
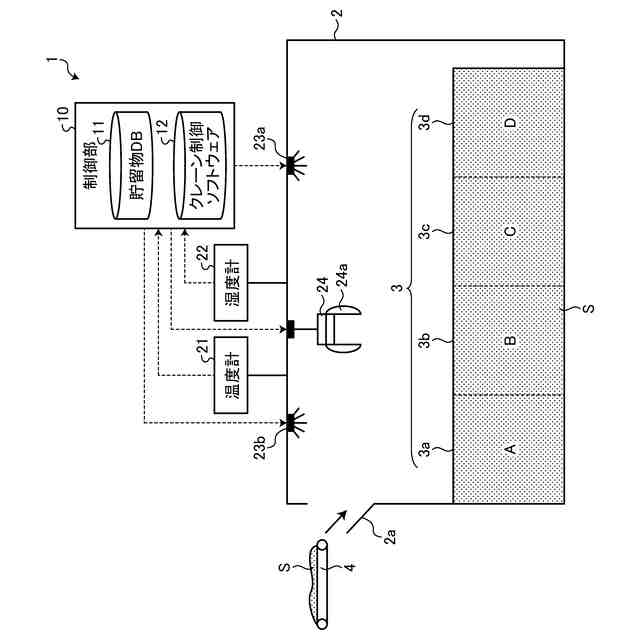
上述した課題を解決し、上記目的を達成するために、本発明の一態様に係る焼却灰処理装置は、廃棄物が焼却されて得られた焼却灰を貯留可能に構成された焼却灰貯留手段と、前記焼却灰を移動可能に構成された把持手段と、前記把持手段の動作を制御するとともに前記把持手段の動作を記憶する制御手段と、を備え、前記制御手段は、前記焼却灰貯留手段に貯留された前記焼却灰が前記焼却灰貯留手段に搬入された時点から経過した滞留時間が、所定の滞留時間になるように前記把持手段を制御する。
【0008】
本発明の一態様に係る焼却灰処理装置は、上記の発明において、前記焼却灰貯留手段に貯留された前記焼却灰の周辺の雰囲気状態を計測する雰囲気計測手段をさらに備え、前記制御手段は、前記雰囲気計測手段から取得した前記雰囲気状態の計測値に基づいて、前記焼却灰貯留手段に貯留された前記焼却灰の含水率を導出し、前記含水率に基づいて、前記所定の滞留時間を導出する。
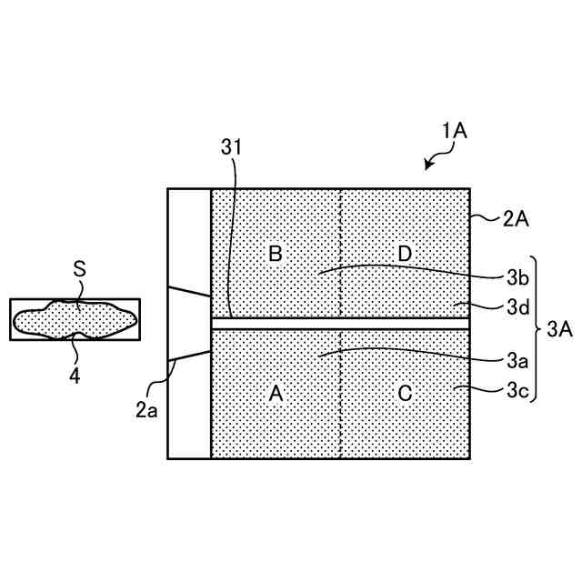
【0009】
本発明の一態様に係る焼却灰処理装置は、上記の発明において、前記制御手段は、前記焼却灰貯留手段に貯留された前記焼却灰を、複数の領域に区分けして設定し、前記複数の領域のそれぞれの領域において、前記焼却灰の滞留時間が前記所定の滞留時間以上となった領域に貯留された焼却灰を搬出するように、前記把持手段を制御する。
【0010】
本発明の一態様に係る焼却灰処理装置は、この構成において、前記制御手段は、前記複数の領域のうちの、焼却灰が搬出された領域に対して、焼却灰の滞留時間が前記所定の滞留時間以下の焼却灰が貯留されている領域における焼却灰を、前記焼却灰が搬出された領域に移動させる制御を行う。
(【0011】以降は省略されています)
この特許をJ-PlatPat(特許庁公式サイト)で参照する
関連特許
花王株式会社
焼却灰の処理方法
2か月前
花王株式会社
焼却灰の処理方法
2か月前
テクニカ合同株式会社
廃棄鶏の処理方法
2か月前
トヨタ自動車株式会社
バイオ炭製造方法
2か月前
個人
有機材料製造装置
16日前
株式会社トクヤマ
石膏粒体のか焼方法
2か月前
株式会社シーパーツ
自動車解体破砕方法
1か月前
清水建設株式会社
汚染拡散防止構造
2か月前
清水建設株式会社
加熱井戸の設置方法
2か月前
清水建設株式会社
遮水層構築の降雨対策方法
23日前
株式会社クリンテック
熱分解炉
23日前
株式会社LIXIL
汚物処理装置
1か月前
個人
太陽光電池モジュール資源回収方法
2日前
日本シーム株式会社
容器処理装置
3日前
日本シーム株式会社
容器処理装置
3日前
国立大学法人東北大学
重金属の不溶化方法
1か月前
九電産業株式会社
樹脂複合製品の製造方法
2か月前
株式会社エネアグリ
乾式メタン発酵システムおよび乾式メタン発酵方法
1か月前
株式会社エネアグリ
乾式メタン発酵システムおよび乾式メタン発酵方法
1か月前
王子ホールディングス株式会社
ベールの製造方法
1か月前
株式会社トクヤマ
廃石膏ボードから紙片と石膏粒体を回収する方法
2か月前
株式会社神鋼環境ソリューション
メタン発酵装置、及び、メタン発酵方法
1か月前
JFEエンジニアリング株式会社
焼却灰貯留装置
24日前
光宇應用材料股ふん有限公司
環境にやさしい低炭素二酸化ケイ素の製造方法
2か月前
JFEエンジニアリング株式会社
焼却灰処理システム
1か月前
トリニティ工業株式会社
使用済みフィルタ処理装置、使用済みフィルタ処理方法
2か月前
株式会社宮原機工
有機物並びに有機廃棄物の炭化装置
1か月前
生態環境部南京環境科学研究所
重金属汚染土壌を原位置で生態学的に修復する方法
29日前
川崎重工業株式会社
焼却灰の骨材化システムおよび骨材化方法
2か月前
川崎重工業株式会社
焼却灰の骨材化システムおよび骨材化方法
2か月前
株式会社新産業研究所
有機系廃棄物再資源化方法及び有機系廃棄物再資源化システム
8日前
太平洋セメント株式会社
有価金属含有廃棄物からの金の回収方法
2か月前
五洋建設株式会社
廃棄物処分場、廃棄物処分場の覆土材料および覆土材料の製造方法
1か月前
株式会社環境保全サービス
ガラスの回収システム及びクラッシャ
1か月前
太平洋セメント株式会社
カリウム含有肥料製造方法
1か月前
UBE三菱セメント株式会社
再生骨材の製造方法、粒子の分別方法及び品質評価方法
2か月前
続きを見る
他の特許を見る