TOP
|
特許
|
意匠
|
商標
特許ウォッチ
Twitter
他の特許を見る
公開番号
2025135220
公報種別
公開特許公報(A)
公開日
2025-09-18
出願番号
2024032922
出願日
2024-03-05
発明の名称
再生骨材の製造方法、粒子の分別方法及び品質評価方法
出願人
UBE三菱セメント株式会社
代理人
個人
,
個人
主分類
B09B
5/00 20060101AFI20250910BHJP(固体廃棄物の処理;汚染土壌の再生)
要約
【課題】コンクリート塊の粉砕物から再生骨材を効率よく製造することが可能な再生骨材の製造方法に好適に適用され得る粒子の分別方法を提供すること。
【解決手段】コンクリート塊を粉砕して得られる複数の粒子の分別方法であって、複数の粒子の画像データを取得する工程と、画像データを用いてモルタルリッチ部と骨材リッチ部とを識別する工程と、識別の結果に基づいて、複数の粒子を、第1粒子群と、第1粒子群よりも画像データにおけるモルタルの含有率が低い第2粒子群とを含む複数の粒子群に分別する工程と、を有する、粒子の分別方法を提供する。
【選択図】図1
特許請求の範囲
【請求項1】
コンクリート塊を粉砕して得られる複数の粒子の分別方法であって、
前記複数の粒子の画像データを取得する工程と、
前記画像データを用いてモルタルリッチ部と骨材リッチ部とを識別する工程と、
識別の結果に基づいて、前記複数の粒子を、第1粒子群と、前記第1粒子群よりもモルタルの含有率が低い第2粒子群とを含む複数の粒子群に分別する工程と、を有する、粒子の分別方法。
続きを表示(約 880 文字)
【請求項2】
前記画像データの二値化処理を行う工程を有し、二値化処理後の画像データを用いて前記モルタルリッチ部と前記骨材リッチ部とを識別する、請求項1に記載の粒子の分別方法。
【請求項3】
前記画像データを取得する前に、前記コンクリート塊の破砕物の加熱処理及び摩砕処理の少なくとも一方を行って前記複数の粒子を得る工程を有する、請求項1又は2に記載の粒子の分別方法。
【請求項4】
前記第1粒子群の加熱処理及び摩砕処理の少なくとも一方を含む工程を有する、請求項1又は2に記載の粒子の分別方法。
【請求項5】
前記複数の粒子群に分別する工程は風力を用いて前記複数の粒子を分別することを含む、請求項1又は2に記載の粒子の分別方法。
【請求項6】
前記第1粒子群及び前記第2粒子群の少なくとも一方の粒子群に対して、加熱処理及び摩砕処理の一方又は双方の処理を行って得られる粒子を前記複数の粒子とし、前記画像データを取得する前記工程、識別する前記工程及び分別する前記工程を再度行う、請求項1又は2に記載の粒子の分別方法。
【請求項7】
請求項1又は2に記載の分別方法で分別された第2粒子群の少なくとも一部から再生骨材を得る工程を有する、再生骨材の製造方法。
【請求項8】
前記再生骨材を得る工程は、前記第2粒子群のふるい分けを行うことを含む、請求項7に記載の再生骨材の製造方法。
【請求項9】
コンクリート塊を粉砕して得られる複数の粒子の品質評価方法であって、
前記複数の粒子の画像データを取得する工程と、
前記画像データを用いてモルタルリッチ部と骨材リッチ部とを識別し、識別の結果に基づいて前記画像データにおける前記モルタルリッチ部及び前記骨材リッチ部の少なくとも一方の面積比率を導出する工程と、を有する、品質評価方法。
【請求項10】
前記面積比率に基づいて前記複数の粒子の吸水率を予測する、請求項9に記載の品質評価方法。
発明の詳細な説明
【技術分野】
【0001】
本開示は、再生骨材の製造方法、粒子の分別方法及び品質評価方法に関する。
続きを表示(約 1,900 文字)
【背景技術】
【0002】
解体現場では、産業廃棄物として廃コンクリートが発生する。このような廃コンクリートを粉砕し、粉砕物のサイズ、及び含有成分に応じて粉砕物を選別し、再生骨材を回収する技術が知られている。例えば、特許文献1では、画像から大塊骨材の大きさ及び面積を判定し、大塊骨材を除去する技術が提案されている。特許文献2では、モルタル成分と骨材成分とを選別する手段として、湿式の比重選別機、及び湿式のサイクロン式分離機を用いることが提案されている。
【先行技術文献】
【特許文献】
【0003】
特開2008-212778号公報
特開2001-220192号公報
【発明の概要】
【発明が解決しようとする課題】
【0004】
廃コンクリート等のコンクリート塊の粉砕物から骨材成分を回収し、コンクリート用の再生骨材として利用する技術はそれほど活用されておらず、多くの廃コンクリートは路盤材として利用されているのが現状である。この要因としては、高品質の再生骨材を得るために、粉砕物の粒子表面に付着するモルタルを剥離する加熱及び摩砕等のプロセスが必要となるうえに、再生骨材の品質の評価に用いられる密度及び吸水率等の測定に時間を要することが挙げられる。
【0005】
本開示は、コンクリート塊の粉砕物から再生骨材を効率よく製造することが可能な再生骨材の製造方法、及び、そのような製造方法に好適に適用され得る粒子の分別方法を提供する。本開示は、コンクリート塊から得られる複数の粒子の品質を簡便且つ迅速に評価することが可能な品質評価方法を提供する。
【課題を解決するための手段】
【0006】
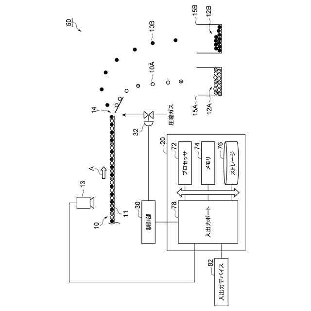
本開示の一側面は、コンクリート塊を粉砕して得られる複数の粒子の分別方法であって、前記複数の粒子の画像データを取得する工程と、前記画像データを用いてモルタルリッチ部と骨材リッチ部とを識別する工程と、識別の結果に基づいて、前記複数の粒子を、第1粒子群と、前記第1粒子群よりも前記モルタルの含有率が低い第2粒子群とを含む複数の粒子群に分別する工程と、を有する、粒子の分別方法を提供する。
【0007】
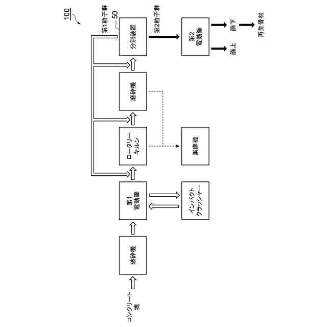
この分別方法では、コンクリート塊を粉砕して得られる複数の粒子の画像データを取得する。原コンクリートであるコンクリート塊中に存在するモルタルと骨材成分は色が異なること、及び、コンクリート塊を粉砕して得られる複数の粒子において、モルタルは骨材の粒子表面に付着していることやそれ単体の粒子として存在していることが多いことから、粒子表面の色の違いを利用して、モルタルリッチ部と骨材リッチ部とを、迅速且つ簡便に識別することができる。上記分別方法は、このような識別の結果に基づいて、複数の粒子を第1粒子群とこれよりもモルタルの含有率が低い第2粒子群とを含む複数の粒子群に分別する。分別して得られる第2粒子群は、モルタルの含有率が低いことから、再生骨材の製造方法に好適に適用することができる。
【0008】
本開示の一側面は、上述の分別方法で分別された第2粒子群の少なくとも一部から再生骨材を得る工程を有する、再生骨材の製造方法を提供する。この製造方法では、上記分別方法でモルタルの含有率が低い第2粒子群を分別して得ていることから、再生骨材を効率よく製造することができる。
【0009】
本開示の一側面は、コンクリート塊を粉砕して得られる複数の粒子の品質評価方法であって、前記複数の粒子の画像データを取得する工程と、前記画像データを用いてモルタルリッチ部と骨材リッチ部とを識別し、識別の結果に基づいて前記画像データにおける前記モルタルリッチ部及び前記骨材リッチ部の少なくとも一方の面積比率を導出する工程と、を有する、品質評価方法を提供する。
【0010】
この品質評価方法では、コンクリート塊を粉砕して得られる複数の粒子の画像データを取得する。モルタルと骨材成分は色が異なること、及び、コンクリート塊を粉砕して得られる複数の粒子において、モルタルは骨材の粒子表面に付着していることやそれ単体の粒子として存在していることが多いことから、粒子表面の色の違いを利用して、モルタルリッチ部と骨材リッチ部とを、迅速且つ簡便に識別することができる。このような識別の結果に基づいて、モルタルリッチ部及び骨材リッチ部の少なくとも一方の面積比率を導出することで、複数の粒子の品質を簡便且つ迅速に評価することができる。
【発明の効果】
(【0011】以降は省略されています)
この特許をJ-PlatPat(特許庁公式サイト)で参照する
関連特許
トヨタ自動車株式会社
空箱処理装置
1か月前
ダイハツ工業株式会社
発酵システム
1か月前
トヨタ自動車株式会社
空箱処理装置
1か月前
株式会社クボタ
嫌気性処理方法
3か月前
花王株式会社
焼却灰の処理方法
12日前
花王株式会社
焼却灰の処理方法
12日前
テクニカ合同株式会社
廃棄鶏の処理方法
12日前
トヨタ自動車株式会社
バイオ炭製造方法
20日前
株式会社トクヤマ
石膏粒体のか焼方法
1か月前
株式会社マクニカ
乾熱減容処理装置
1か月前
清水建設株式会社
汚染拡散防止構造
1か月前
清水建設株式会社
加熱井戸の設置方法
1か月前
学校法人東京農業大学
メタンガスの製造方法
2か月前
鹿島建設株式会社
土壌の浄化方法
1か月前
株式会社クボタ
メタン発酵装置およびメタン発酵処理方法
3か月前
極東開発工業株式会社
廃棄物処理装置
2か月前
株式会社クボタ
収穫残渣の保管方法およびメタン発酵処理方法
3か月前
トヨタ自動車株式会社
乾燥処理装置
2か月前
九電産業株式会社
樹脂複合製品の製造方法
21日前
株式会社大林組
有機フッ素化合物の浄化方法
3か月前
株式会社トクヤマ
廃石膏ボードから紙片と石膏粒体を回収する方法
1か月前
光宇應用材料股ふん有限公司
環境にやさしい低炭素二酸化ケイ素の製造方法
1か月前
個人
フォーミング生成抑制材の製造方法及び廃タイヤのリサイクル処理方法
2か月前
トヨタ自動車株式会社
電池の処理方法および電池の処理システム
2か月前
太平洋セメント株式会社
重金属類不溶化材及び固化不溶化処理方法
1か月前
JFEエンジニアリング株式会社
焼却灰処理システム
2日前
トリニティ工業株式会社
使用済みフィルタ処理装置、使用済みフィルタ処理方法
22日前
東洋建設株式会社
遮水構造体の施工方法及び圧着機
1か月前
川崎重工業株式会社
焼却灰の骨材化システムおよび骨材化方法
12日前
川崎重工業株式会社
焼却灰の骨材化システムおよび骨材化方法
12日前
株式会社クボタ
水銀含有廃棄物の処理方法および水銀含有廃棄物の処理システム
3か月前
太平洋セメント株式会社
有価金属含有廃棄物からの金の回収方法
12日前
生態環境部南京環境科学研究所
フミン酸溶出に基づく重金属汚染土壌の修復装置および方法
3か月前
UBE三菱セメント株式会社
再生骨材の製造方法、粒子の分別方法及び品質評価方法
13日前
株式会社トクヤマ
ゴミ焼却灰の処理方法
2か月前
株式会社IMPACT
オイルフィルターからの油抽出装置及びオイルフィルターからの油抽出方法
27日前
続きを見る
他の特許を見る